TOP
|
特許
|
意匠
|
商標
特許ウォッチ
Twitter
他の特許を見る
10個以上の画像は省略されています。
公開番号
2025159051
公報種別
公開特許公報(A)
公開日
2025-10-17
出願番号
2025131942,2024500764
出願日
2025-08-07,2022-02-16
発明の名称
情報処理装置
出願人
マクセル株式会社
代理人
弁理士法人武和国際特許事務所
主分類
G06F
3/01 20060101AFI20251009BHJP(計算;計数)
要約
【課題】1の情報処理装置に対する使用者の動作により他の情報処理装置を誤認識、誤作動を低減しつつ操作する。
【解決手段】情報処理装置であって、外部装置と通信を行う通信部と、情報処理装置のユーザの視線方向を検出する視線検出部と、制御部と、を備え、制御部は、情報処理装置の動作を制御する第1の操作コマンドを生成し、生成した第1の操作コマンドに従って情報処理装置の動作を制御し、視線検出部により検出した視線方向が外部装置の方向であるか判別し、視線方向が外部装置の方向であるとの判別と、外部装置から送信された連携トリガ動作の検出を示す検出通知の受信とが、所定期間内に発生した場合、通信部を介して外部装置から第2の操作コマンドを受信すると、受信した第2の操作コマンドに従って情報処理装置の動作を制御する。
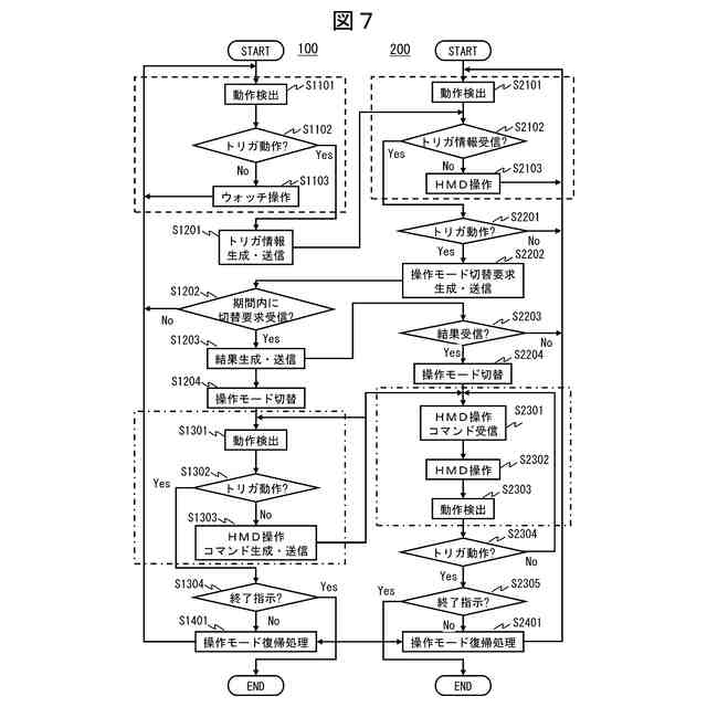
【選択図】図7
特許請求の範囲
【請求項1】
情報処理装置であって、
外部装置と通信を行う通信部と、
前記情報処理装置のユーザの視線方向を検出する視線検出部と、
制御部と、を備え、
前記制御部は、
前記情報処理装置の動作を制御する第1の操作コマンドを生成し、
前記生成した第1の操作コマンドに従って前記情報処理装置の動作を制御し、
前記視線検出部により検出した前記視線方向が前記外部装置の方向であるか判別し、
前記視線方向が前記外部装置の方向であるとの判別と、前記外部装置から送信された連携トリガ動作の検出を示す検出通知の受信とが、所定期間内に発生した場合、前記通信部を介して前記外部装置から第2の操作コマンドを受信すると、前記受信した第2の操作コマンドに従って前記情報処理装置の動作を制御する、
情報処理装置。
続きを表示(約 1,600 文字)
【請求項2】
請求項1に記載の情報処理装置であって、
前記制御部は、前記判別と前記検出通知の受信とが前記所定期間内に発生した場合、前記通信部を介して前記外部装置にコマンド送信要求を送信する、
情報処理装置。
【請求項3】
請求項1に記載の情報処理装置であって、
前記制御部は、前記判別と前記検出通知の受信とが前記所定期間内に発生しない場合、前記第2の操作コマンドを受信しても、前記受信した第2の操作コマンドに従った制御をしない、
情報処理装置。
【請求項4】
情報処理装置であって、
外部装置と通信を行う通信部と、
前記情報処理装置のユーザの動作を検出する動作検出部と、
トリガ動作を記憶する記憶部と、
制御部と、を備え、
前記制御部は、
前記動作検出部により検出された前記ユーザの動作が、前記記憶部に記憶された前記トリガ動作と一致するか判別し、
前記ユーザの動作が前記トリガ動作と一致しないと判別した場合、前記ユーザの動作に応じて前記情報処理装置の動作を制御する第1の操作コマンドを生成し、前記生成した第1の操作コマンドに従って前記情報処理装置の動作を制御し、
前記ユーザの動作が前記トリガ動作と一致すると判別した場合、前記一致の判別と、前記外部装置から送信された連携トリガ動作の検出を示す検出通知の受信とが、所定期間内に発生するか判別し、
前記一致の判別と前記検出通知の受信とが前記所定期間内に発生したと判別した場合、前記通信部を介して前記外部装置から送信された第2の操作コマンドを受信し、前記受信した第2の操作コマンドに従って前記情報処理装置の動作を制御する、
情報処理装置。
【請求項5】
請求項4に記載の情報処理装置であって、
前記制御部は、前記一致の判別と前記検出通知の受信とが前記所定期間内に発生しないと判別した場合、前記第2の操作コマンドを受信しても、前記受信した第2の操作コマンドに従った制御をしない、
情報処理装置。
【請求項6】
請求項4に記載の情報処理装置であって、
前記動作検出部は、ユーザの視線方向を検出する視線検出部であり、
前記記憶部に記憶するトリガ動作は、前記ユーザが視線を前記外部装置の方向に向ける動作である、
情報処理装置。
【請求項7】
請求項4に記載の情報処理装置であって、
前記記憶部は、第二のトリガ動作を記憶し、
前記制御部は、前記ユーザの動作が前記第二のトリガ動作と一致すると判別した場合、前記第2の操作コマンドを受信しても、前記受信した第2の操作コマンドに従った制御をしない、
情報処理装置。
【請求項8】
請求項1から請求項7のいずれか1項に記載の情報処理装置であって、
表示部を更に備え、
前記制御部は、前記第2の操作コマンドに従って前記情報処理装置の動作を制御しているかどうかを示す画像を前記表示部に表示する、
情報処理装置。
【請求項9】
請求項1から請求項7のいずれか1項に記載の情報処理装置であって、
表示部を更に備え、
前記制御部は、前記第2の操作コマンドに従って前記情報処理装置の動作を制御している場合、前記第2の操作コマンドに対応した画像を前記表示部に表示する、
情報処理装置。
【請求項10】
請求項1から請求項7のいずれか1項に記載の情報処理装置であって、
前記情報処理装置は、前記ユーザの頭部に装着して用いられる装置である、
情報処理装置。
発明の詳細な説明
【技術分野】
【0001】
本発明は、1の情報処理装置に対する使用者の動作により他の情報処理装置を操作する技術に関する。
続きを表示(約 2,300 文字)
【背景技術】
【0002】
情報処理装置の一例として、手首に装着して用いるスマートウォッチがある。スマートウォッチは、手首に装着され、時計や活動量計測などの各種の機能を有する。また、筋電情報を取得して、使用者(ユーザ)の動作(ジェスチャ)を検出し、検出したジェスチャによりスマートウォッチの操作を行う技術がある(例えば、特許文献1参照)。
【0003】
この技術を用い、ヘッドマウントディスプレイ(Head Mounted Display;HMD、以下、HMDと称す)とスマートウォッチとを連携して、スマートウォッチで検出したジェスチャでHMDを操作する技術がある。なお、HMDは、主に表示機能を有する情報処理装置の一種であり、ユーザ頭部に装着され、現実空間や仮想空間の情報を表示して視認する情報処理装置である。これにより、HMDのカメラでジェスチャ検出するときのように、ユーザの目の前でジェスチャする必要が無く、ユーザの気恥ずかしさや周りから見た違和感が低減できる。
【0004】
この場合、スマートウォッチで検出したジェスチャをスマートウォッチに対する操作指示とするモードと、HMDに対する操作指示とするモードとの間での切り替えが必要である。しかしながら、手は常に動かしているものであり、また、筋電情報は高精度化に限度がある。このため、筋電情報だけでモードを切り替えようとすると誤認識誤作動が多くなる。一方、スマートウォッチの画面タッチや龍頭プッシュなどの動作をモードの切り替えに用いると誤認識や誤作動は減る。しかしながら、反対側の手を使う必要があり、せっかく筋電情報によって片手で操作可能としたのにその利点が十分生かせていない。
【0005】
スマートウォッチやHMDなどの複数の情報処理装置のどちらに対する操作指示であるかの操作モードの切り替え例として、特許文献2には、『ユーザの第1部位に装着される情報処理装置であって、前記ユーザの動作に応じて第1信号を出力するセンサと、前記動作に係る情報を算出するために前記第1信号を用いる第1モードと、前記ユーザの第2部位に装着される表示装置への入力信号として前記第1信号を扱う第2モードとに当該情報処理装置を設定可能なモード設定部と、前記第2モードにおいて、前記第1信号に基づいて生成した第2信号又は前記第1信号を前記表示装置に送信する送信部と、を備えることを特徴とする情報処理装置』が記載されている。すなわち、特許文献2には、情報処理装置側の動作によって情報処理装置と表示装置のどちらを操作するかという操作モードの切り替えを行う技術が記載されている。
【先行技術文献】
【特許文献】
【0006】
米国特許第10,671,176号明細書
特開2016-85554号公報
【発明の概要】
【発明が解決しようとする課題】
【0007】
特許文献2では、情報処理装置と表示装置とのどちらを操作するかという操作モードの切り替えは、情報処理装置側の動作だけで判断するため、操作モードの切り替えの判別精度に限度、限界がある。より高い精度で確実に操作モードの切り替えを行うことは難しく、誤認識、誤作動の可能性が高い。
【0008】
本発明は、前記課題を解決するためになされたもので、1の情報処理装置に対する使用者の動作により他の情報処理装置を誤認識、誤作動を低減しつつ操作する技術を提供することを目的とする。
【課題を解決するための手段】
【0009】
本発明は、情報処理装置であって、外部装置と通信を行う通信部と、前記情報処理装置のユーザの視線方向を検出する視線検出部と、制御部と、を備え、前記制御部は、前記情報処理装置の動作を制御する第1の操作コマンドを生成し、前記生成した第1の操作コマンドに従って前記情報処理装置の動作を制御し、前記視線検出部により検出した前記視線方向が前記外部装置の方向であるか判別し、前記視線方向が前記外部装置の方向であるとの判別と、前記外部装置から送信された連携トリガ動作の検出を示す検出通知の受信とが、所定期間内に発生した場合、前記通信部を介して前記外部装置から第2の操作コマンドを受信すると、前記受信した第2の操作コマンドに従って前記情報処理装置の動作を制御する。
【0010】
また、本発明は、情報処理装置であって、外部装置と通信を行う通信部と、前記情報処理装置のユーザの動作を検出する動作検出部と、トリガ動作を記憶する記憶部と、制御部と、を備え、前記制御部は、前記動作検出部により検出された前記ユーザの動作が、前記記憶部に記憶された前記トリガ動作と一致するか判別し、前記ユーザの動作が前記トリガ動作と一致しないと判別した場合、前記ユーザの動作に応じて前記情報処理装置の動作を制御する第1の操作コマンドを生成し、前記生成した第1の操作コマンドに従って前記情報処理装置の動作を制御し、前記ユーザの動作が前記トリガ動作と一致すると判別した場合、前記一致の判別と、前記外部装置から送信された連携トリガ動作の検出を示す検出通知の受信とが、所定期間内に発生するか判別し、前記一致の判別と前記検出通知の受信とが前記所定期間内に発生したと判別した場合、前記通信部を介して前記外部装置から送信された第2の操作コマンドを受信し、前記受信した第2の操作コマンドに従って前記情報処理装置の動作を制御する。
(【0011】以降は省略されています)
この特許をJ-PlatPat(特許庁公式サイト)で参照する
関連特許
マクセル株式会社
電源装置
16日前
マクセル株式会社
粘着テープ
11日前
マクセル株式会社
映像表示装置
1日前
マクセル株式会社
空中浮遊映像表示装置
10日前
マクセル株式会社
応答出力装置およびシステム
17日前
マクセル株式会社
粉体成型体の製造方法及び製造装置
3日前
マクセル株式会社
応答出力装置および応答出力システム
11日前
マクセル株式会社
樹脂発泡糸の製造方法及びラム押出成形機
10日前
マクセル株式会社
操作方法
3日前
マクセル株式会社
情報処理端末
3日前
マクセル株式会社
伝送波の処理方法
1日前
マクセル株式会社
全固体二次電池およびその製造方法
3日前
個人
詐欺保険
1か月前
個人
縁伊達ポイン
1か月前
個人
職業自動販売機
1日前
個人
5掛けポイント
8日前
個人
RFタグシート
19日前
個人
QRコードの彩色
1か月前
個人
ペルソナ認証方式
16日前
個人
地球保全システム
1か月前
個人
情報処理装置
11日前
個人
自動調理装置
18日前
個人
冷凍食品輸出支援構造
2か月前
個人
為替ポイント伊達夢貯
2か月前
個人
表変換編集支援システム
2か月前
個人
残土処理システム
1か月前
個人
農作物用途分配システム
1か月前
個人
サービス情報提供システム
3日前
個人
知的財産出願支援システム
1か月前
個人
知財出願支援AIシステム
2か月前
個人
インターネットの利用構造
15日前
個人
タッチパネル操作指代替具
25日前
個人
AIによる情報の売買の仲介
2か月前
個人
携帯端末障害問合せシステム
24日前
個人
パスワード管理支援システム
2か月前
個人
行動時間管理システム
2か月前
続きを見る
他の特許を見る