TOP
|
特許
|
意匠
|
商標
特許ウォッチ
Twitter
他の特許を見る
10個以上の画像は省略されています。
公開番号
2025160306
公報種別
公開特許公報(A)
公開日
2025-10-22
出願番号
2025123463,2024114871
出願日
2025-07-23,2014-06-11
発明の名称
アプリケーション起動方法
出願人
マクセル株式会社
代理人
弁理士法人筒井国際特許事務所
主分類
H04N
21/443 20110101AFI20251015BHJP(電気通信技術)
要約
【課題】より付加価値の高い機能を実行可能なアプリケーション起動方法を提供する。
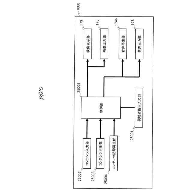
【解決手段】複数のコンテンツの映像をコンテンツごとの異なるウィンドウに表示するための映像情報を出力する映像出力部175および/または複数のコンテンツの映像をコンテンツごとの異なるウィンドウに表示する映像表示部173と、複数のコンテンツから、選択状態とするコンテンツを選択する入力を受け付ける視聴者指示入力部25001と、選択状態となったコンテンツと対応する音声の音声情報を出力する音声出力部176および/または選択状態となったコンテンツと対応する音声を再生する音声再生部174bとを有する。
【選択図】図2C
特許請求の範囲
【請求項1】
放送受信装置における放送リソースとアクセスするためのアプリケーションを起動するアプリケーション起動方法において、
前記放送リソースとアクセスするためのアプリケーションは、放送信号に含まれるアプリケーション制御情報により起動される放送マネージドアプリケーションと、前記放送信号に含まれるアプリケーション制御情報以外により起動される放送外マネージドアプリケーションとを含み、
放送信号を受信する受信ステップと、
前記受信された放送信号に含まれるPMT(Program Map Table)情報に基づいて、前記放送マネージドアプリケーションのデータ放送に対する起動優先度を確認する起動優先度確認ステップと、
前記受信された放送信号に含まれるアプリケーション制御情報に基づいて、前記放送マネージドアプリケーションを起動する第1のアプリケーション起動ステップと、
放送受信装置に備えられたアプリケーションランチャによるランチャ画面を放送受信装置に表示するランチャ画面表示ステップと、
前記表示されたランチャ画面を介したユーザ操作に基づいて、前記放送外マネージドアプリケーションを起動する第2のアプリケーション起動ステップと、
外部携帯端末と通信する通信ステップと、
前記通信ステップによって受信した、前記外部携帯端末を介したユーザ操作による起動要求に基づいて、前記放送外マネージドアプリケーションを起動する第3のアプリケーション起動ステップと、
前記受信された放送信号に含まれるBML情報に基づいて放送受信装置をデータ放送画面表示状態とするデータ放送画面表示ステップと、
前記データ放送画面表示状態におけるユーザ操作に基づいて前記放送マネージドアプリケーションを起動する第4のアプリケーション起動ステップと、
を備え、
前記第1のアプリケーション起動ステップは、前記アプリケーション制御情報が前記放送マネージドアプリケーションの自動起動を示す情報を含んでいる場合に、前記放送マネージドアプリケーションを実行可能か確認し、実行可能であれば前記放送マネージドアプリケーションを取得して起動するものであり、
前記放送マネージドアプリケーションを実行可能かの確認は、前記アプリケーション制御情報に含まれるアプリケーションプロファイルを参照することにより前記放送マネージドアプリケーションが要求する放送受信装置の機能を確認して行うものであり、
前記データ放送画面表示ステップでは、前記放送受信装置が前記放送マネージドアプリケーションを実行可能であること確認した場合に、前記放送マネージドアプリケーションを起動するためのエントリーボタンを表示するように制御し、
前記第4のアプリケーション起動ステップでは、前記データ放送画面表示状態で表示された前記エントリーボタンに対するユーザ操作に基づいて、前記放送マネージドアプリケーションを起動する
アプリケーション起動方法。
発明の詳細な説明
【技術分野】
【0001】
本発明は、アプリケーション起動方法に関する。
続きを表示(約 2,900 文字)
【背景技術】
【0002】
デジタル放送サービスの拡張機能の一つに、放送波でデジタルデータを送信し、天気予報やニュース、おすすめ番組等の各種情報を表示するデータ放送がある。データ放送を受信可能なテレビ受信機は既に多数市販されており、また、データ放送受信に関する技術も下記特許文献1をはじめ多数が公表されている。
【先行技術文献】
【特許文献】
【0003】
特開2001-186486公報
【発明の概要】
【発明が解決しようとする課題】
【0004】
データ放送の特徴として、デジタル放送サービスに対応しているテレビ受信機では、単体でデータ放送の受信が可能であり、さまざまな情報を取得/表示することが可能であることが挙げられる。一方、データ放送は電波帯域の制限により送信可能なデータ量が限られるため、高精細な画面表示や高機能なエフェクトを得ることが難しく、このため、付加価値の高い有用な機能を現行のデジタル放送受信機で実行することが難しいという課題があった。
【0005】
本発明の目的は、より付加価値の高い機能を実行可能なアプリケーション起動方法を提供することである。
【課題を解決するための手段】
【0006】
前記課題を解決するための手段として、特許請求の範囲に記載の技術を用いる。
【0007】
一例を挙げるならば、請求項1に記載の技術を用いる。
【発明の効果】
【0008】
本発明の技術を用いることにより、より付加価値の高い機能を実行可能なアプリケーション起動方法を提供することができる。
【図面の簡単な説明】
【0009】
実施例に係る通信システムのシステム構成図である。
実施例に係る放送受信装置のブロック図である。
実施例に係る放送受信装置のソフトウェア構成図である。
実施例に係る情報表示装置のブロック図である。
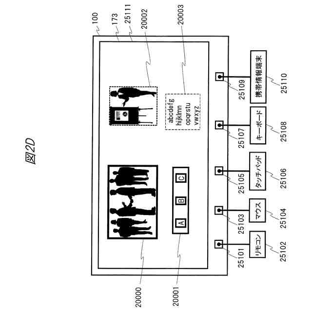
実施例に係る情報表示装置の視聴者指示入力部の例を示す図である。
実施例に係る放送局サーバのブロック図である。
実施例に係るサービス事業者サーバのブロック図である。
実施例に係る携帯情報端末のブロック図である。
実施例に係る携帯情報端末のソフトウェア構成図である。
実施例に係るアプリケーション制御情報のデータ構成図である。
実施例に係る放送受信装置のアプリケーション起動時の動作シーケンス図である。
実施例に係る放送受信装置のアプリケーション起動時の動作シーケンス図である。
実施例に係る放送受信装置のアプリケーション起動時の動作シーケンス図である。
実施例に係る携帯情報端末の連携時の動作シーケンス図である。
実施例に係る携帯情報端末の連携時の動作シーケンス図である。
実施例に係る携帯情報端末の連携時の動作シーケンス図である。
実施例に係る放送受信装置及び携帯情報端末のアプリケーション起動時の動作シーケンス図である。
実施例に係る携帯情報端末の連携制御アプリの基本画面の画面表示図である。
実施例に係る携帯情報端末の連携制御アプリの基本画面の画面表示図である。
実施例に係る放送受信装置のデータ放送画面の画面表示図である。
実施例に係る放送受信装置の報知画面の画面表示図である。
実施例に係る放送受信装置の放送連携アプリランチャの画面表示図である。
実施例に係る放送受信装置の放送連携アプリ実行画面の画面表示図である。
実施例に係る放送受信装置の放送連携アプリ実行画面の画面表示図である。
実施例に係る放送受信装置の放送連携アプリ実行画面の画面表示図である。
実施例に係る放送受信装置の放送連携アプリ実行画面の画面表示図である。
実施例に係る放送受信装置のエラー表示画面の画面表示図である。
実施例に係る携帯情報端末の放送連携アプリ実行画面の画面表示図である。
実施例に係る放送受信装置のEPG表示画面の画面表示図である。
実施例に係る放送受信装置のEPG表示画面の詳細情報の図である。
実施例に係る放送受信装置の放送連携アプリ取得時の動作シーケンス図である。
実施例に係る端末連携時の動作シーケンス図である。
実施例に係る端末連携時の動作シーケンス図である。
実施例に係る端末連携時の動作シーケンス図である。
実施例に係る端末連携時の動作シーケンス図である。
実施例に係る放送受信装置の放送連携アプリランチャの画面表示図である。
実施例に係る放送受信装置の放送連携アプリランチャの画面表示図である。
実施例に係る放送受信装置の放送連携アプリランチャの画面表示図である。
実施例に係る放送受信装置の放送連携アプリランチャの画面表示図である。
実施例に係る放送受信装置の画面表示図である。
実施例に係る携帯情報端末の放送連携アプリランチャの画面表示図である。
実施例に係る情報表示装置の画面表示図である。
実施例に係る情報表示装置の画面表示図である。
実施例に係る情報表示装置の画面表示図である。
実施例に係る情報表示装置の画面表示図である。
実施例に係る情報表示装置の動作シーケンス図である。
実施例に係る情報表示装置の動作シーケンス図である。
実施例に係る情報表示装置の動作シーケンス図である。
実施例に係る情報表示装置の動作シーケンス図である。
実施例に係るリモコンのボタン配置図である。
実施例に係る情報表示装置の画面表示図である。
実施例に係る携帯情報端末の画面表示図である。
実施例に係る情報表示装置の画面表示図である。
実施例に係る情報表示装置の画面表示図である。
実施例に係る情報表示装置の画面表示図である。
実施例に係る情報表示装置の画面表示図である。
実施例に係る情報表示装置の画面表示図である。
実施例に係る情報表示装置の画面表示図である。
実施例に係る情報表示装置の画面表示図である。
実施例に係る情報表示装置の画面表示図である。
実施例に係る情報表示装置のウィンドウ枠の図である。
実施例に係る情報表示装置の画面表示図である。
実施例に係る情報表示装置の動作シーケンス図である。
【発明を実施するための形態】
【0010】
以下、本発明の実施形態の例を、図面を用いて説明する。
【実施例】
(【0011】以降は省略されています)
この特許をJ-PlatPat(特許庁公式サイト)で参照する
関連特許
マクセル株式会社
光学システム
2日前
マクセル株式会社
映像表示装置
7日前
マクセル株式会社
空中浮遊映像表示装置
1日前
マクセル株式会社
虚像方式映像表示装置
2日前
マクセル株式会社
粉体成型体の製造方法及び製造装置
9日前
マクセル株式会社
操作方法
9日前
マクセル株式会社
情報処理端末
9日前
マクセル株式会社
伝送波の処理方法
7日前
マクセル株式会社
全固体二次電池およびその製造方法
9日前
個人
イヤーピース
14日前
個人
イヤーマフ
28日前
個人
監視カメラシステム
1か月前
個人
スイッチシステム
22日前
キーコム株式会社
光伝送線路
1か月前
サクサ株式会社
中継装置
1か月前
WHISMR合同会社
収音装置
2か月前
サクサ株式会社
中継装置
1か月前
個人
スキャン式車載用撮像装置
1か月前
アイホン株式会社
電気機器
2か月前
キヤノン株式会社
撮像装置
2か月前
キヤノン電子株式会社
画像読取装置
22日前
サクサ株式会社
無線通信装置
1か月前
個人
ワイヤレスイヤホン対応耳掛け
2か月前
キヤノン電子株式会社
画像読取装置
2か月前
株式会社リコー
画像形成装置
2か月前
サクサ株式会社
無線システム
1か月前
個人
映像表示装置、及びARグラス
23日前
ヤマハ株式会社
放音制御装置
22日前
株式会社リコー
画像形成装置
2か月前
キヤノン電子株式会社
画像読取装置
1か月前
キヤノン電子株式会社
画像読取装置
14日前
株式会社リコー
画像形成装置
1か月前
サクサ株式会社
無線通信装置
1か月前
日本電気株式会社
海底分岐装置
1か月前
キヤノン電子株式会社
シート搬送装置
14日前
キヤノン株式会社
情報処理装置
1日前
続きを見る
他の特許を見る