TOP
|
特許
|
意匠
|
商標
特許ウォッチ
Twitter
他の特許を見る
10個以上の画像は省略されています。
公開番号
2025169302
公報種別
公開特許公報(A)
公開日
2025-11-12
出願番号
2025131092,2024034449
出願日
2025-08-06,2020-06-02
発明の名称
情報処理端末
出願人
マクセル株式会社
代理人
弁理士法人武和国際特許事務所
主分類
G06F
3/01 20060101AFI20251105BHJP(計算;計数)
要約
【課題】同じアプリまたは対応するアプリを搭載した複数の情報端末間で、ユーザの負担
を増加させることなく容易に所望のデバイスでアプリを起動、実行させる。
【解決手段】他の外部端末(200)と連携して、各端末が共通に備えるアプリケーションを実行する情報処理端末(100)であって、前記アプリケーションを情報処理端末および他の外部端末で連携して実行する動作モードである連携動作モード時に実行されたアプリケーションの実行結果を出力する出力部(175)と、他の外部端末が連携動作モードで動作可能な状態である連携状態か否かを判断する連携判断部(173)と、を備え、連携状態は、情報処理端末と他の外部端末との配置によって定まり、情報処理端末のディスプレイの予め定めた連携視野内に、他の外部端末のディスプレイに表示される起動指示を受け付けアイコンが含まれる場合、連携状態であると判断する。
【選択図】図2
特許請求の範囲
【請求項1】
他の外部端末と連携して、各端末が共通に備えるアプリケーションを実行する情報処理端末であって、
前記情報処理端末は、
前記アプリケーションを前記情報処理端末および前記他の外部端末で連携して実行する動作モードである連携動作モード時に実行された前記アプリケーションの実行結果を出力する出力部と、
前記他の外部端末が前記連携動作モードで動作可能な状態である連携状態か否かを判断する連携判断部と、を備え、
前記連携状態は、前記情報処理端末と前記他の外部端末との配置によって定まり、
前記連携判断部は、前記情報処理端末のディスプレイの予め定めた連携視野内に、前記他の外部端末のディスプレイに表示される起動指示を受け付けるアイコンが含まれる場合、前記連携状態であると判断すること、
を特徴とする情報処理端末。
続きを表示(約 440 文字)
【請求項2】
他の外部端末と連携して、各端末が共通に備えるアプリケーションを実行する情報処理端末であって、
前記情報処理端末は、
前記アプリケーションの起動指示を受け付ける受付部と、
単独動作モードおよび連携動作モードのいずれかで当該情報処理端末を動作させる連携制御部と、を備え、
前記単独動作モードは、前記アプリケーションを前記情報処理端末で単独に実行する動作モードであり、
前記連携動作モードは、前記アプリケーションを前記他の外部端末および前記情報処理端末で連携して実行する動作モードであり、
前記連携制御部は、
当該情報処理端末が前記連携動作モードで動作可能な状態である連携状態か否か判断し、前記連携状態と判断した場合、前記連携動作モードで前記情報処理端末を動作させ、
前記情報処理端末から所定の範囲内に前記他の外部端末がある場合、前記連携状態であると判断すること、
を特徴とする情報処理端末。
発明の詳細な説明
【技術分野】
【0001】
本発明は、複数の情報端末間でのアプリケーション(以下、アプリと呼ぶ。)の起動を
制御する技術に関する。
続きを表示(約 2,800 文字)
【背景技術】
【0002】
ヘッドマウントディスプレイ(Head Mounted Display:HMD)
は、表示範囲が狭いため、他の情報端末と連携して用いられることがある。例えば、特許
文献1には、「連携先デバイスと接続するために用いる情報および当該連携先デバイスに
登録されたアプリが用いるデータに関する情報を含むデバイス情報を管理する第1の管理
部と、連携元デバイスからの連携要求に対し、前記デバイス情報を参照して、連携が可能
な連携先デバイスおよびアプリを示す連携候補を取得する第2の管理部と、前記連携候補
に示されるアプリを起動し、連携を行うデバイスおよび当該デバイスに登録された連携が
可能なアプリを連携先に確定する連携制御部とを含む(要約抜粋)」アプリ連携装置が開
示されている。
【先行技術文献】
【特許文献】
【0003】
特開2017-142693号公報
【発明の概要】
【発明が解決しようとする課題】
【0004】
特許文献1の技術によれば、他の情報端末を用いて所望アプリの選択指定を行うことに
より、操作性が向上する。しかし、特許文献1の技術では、アプリが登録された全ての情
報端末でアプリが起動する。このため、当該アプリが意図しない情報端末でも実行され、
当該情報端末において他のアプリの動作が停止するなど、作業を妨げることがある。
【0005】
本発明は、上記事情に鑑みてなされたもので、同じアプリまたは対応するアプリを搭載
した複数の情報端末間で、ユーザの負担を増加させることなく、容易に所望のデバイスで
アプリを起動、実行させる、使い勝手のよい情報処理技術を提供することを目的とする。
【課題を解決するための手段】
【0006】
本発明は、他の外部端末と連携して、各端末が共通に備えるアプリケーションを実行する情報処理端末であって、前記情報処理端末は、前記アプリケーションを前記情報処理端末および前記他の外部端末で連携して実行する動作モードである連携動作モード時に実行された前記アプリケーションの実行結果を出力する出力部と、前記他の外部端末が前記連携動作モードで動作可能な状態である連携状態か否かを判断する連携判断部と、を備え、前記連携状態は、前記情報処理端末と前記他の外部端末との配置によって定まり、前記連携判断部は、前記情報処理端末のディスプレイの予め定めた連携視野内に、前記他の外部端末のディスプレイに表示される起動指示を受け付けるアイコンが含まれる場合、前記連携状態であると判断することを特徴とする。また、他の外部端末と連携して、各端末が共通に備えるアプリケーションを実行する情報処理端末であって、前記情報処理端末は、前記アプリケーションの起動指示を受け付ける受付部と、単独動作モードおよび連携動作モードのいずれかで当該情報処理端末を動作させる連携制御部と、を備え、前記単独動作モードは、前記アプリケーションを前記情報処理端末で単独に実行する動作モードであり、前記連携動作モードは、前記アプリケーションを前記他の外部端末および前記情報処理端末で連携して実行する動作モードであり、前記連携制御部は、当該情報処理端末が前記連携動作モードで動作可能な状態である連携状態か否か判断し、前記連携状態と判断した場合、前記連携動作モードで前記情報処理端末を動作させ、前記情報処理端末から所定の範囲内に前記他の外部端末がある場合、前記連携状態であると判断することを特徴とする。
【発明の効果】
【0007】
本発明によれば、同じアプリまたは対応するアプリを搭載した複数の情報端末間で、ユ
ーザの負担を増加させることなく、容易に所望のデバイスでアプリを起動、実行させる、
使い勝手のよい情報処理技術を提供できる。上記した以外の課題、構成および効果は、以
下の実施形態の説明により明らかにされる。
【図面の簡単な説明】
【0008】
第一実施形態の情報処理システムの概要を説明するための説明図である。
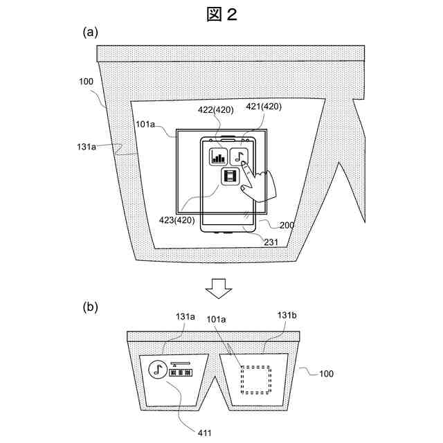
(a)および(b)は、第一実施形態の連携状態を説明するための説明図である。
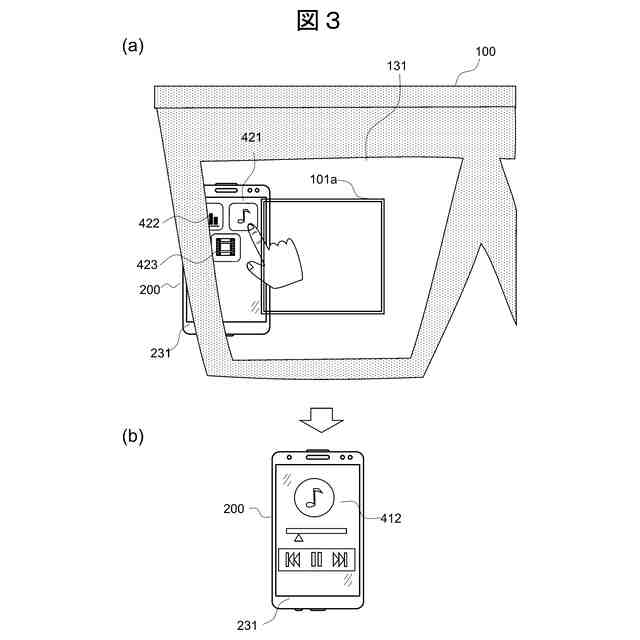
(a)および(b)は、第一実施形態の非連携状態を説明するための説明図である。
第一実施形態のヘッドマウントディスプレイのハードウェア構成図である。
第一実施形態のスマートフォンのハードウェア構成図である。
(a)および(b)は、それぞれ、第一実施形態の、ヘッドマウントディスプレイおよびスマートフォンの機能構成図である。
第一実施形態のアプリ連携処理のフローチャートの例である。
第二実施形態のアプリ連携処理のフローチャートの例である。
第三実施形態の連携状態判断手法を説明するための説明図である。
第三実施形態のアプリ連携処理のフローチャートの例である。
(a)および(b)は、第四実施形態のスマートフォンのディスプレイの表示内容を説明するための説明図である。
第四実施形態のアプリ連携処理のフローチャートの例である。
第五実施形態のアプリ連携処理のフローチャートの例である。
第六実施形態のアプリ連携処理のフローチャートの例である。
第七実施形態の情報処理システムの概要を説明するための説明図である。
(a)および(b)は、第七実施形態の連携状態を説明するための説明図である。
第七実施形態のスマートウォッチのハードウェア構成図である。
第七実施形態のスマートウォッチの機能ブロック図である。
第七実施形態のアプリ連携処理のフローチャートの例である。
(a)および(b)は、本発明の変形例の情報処理システムの概要を説明するための説明図である。
(a)~(e)は、本発明の変形例のアイコン表示態様を説明するための説明図である。
【発明を実施するための形態】
【0009】
<<第一実施形態>>
本発明の第一実施形態を、図面を用いて説明する。本実施形態では、第一の情報処理端
末(第一情報端末)と第二の情報処理端末(第二情報端末)とが共通して有するアプリケ
ーション(アプリ)を、連携して実行する。
【0010】
以下、本実施形態を、例えば、第一情報端末としてヘッドマウントディスプレイ(以下
、HMDと呼ぶ。)を、第二情報端末としてスマートフォン(以下、スマホと呼ぶ。)を
用いる場合を例にあげて説明する。
(【0011】以降は省略されています)
この特許をJ-PlatPat(特許庁公式サイト)で参照する
関連特許
マクセル株式会社
電源装置
16日前
マクセル株式会社
扁平形電池
23日前
マクセル株式会社
粘着テープ
11日前
マクセル株式会社
映像表示装置
1日前
マクセル株式会社
放送信号の処理方法
1か月前
マクセル株式会社
空中浮遊映像表示装置
10日前
マクセル株式会社
空中浮遊映像表示システム
19日前
マクセル株式会社
応答出力装置およびシステム
17日前
マクセル株式会社
郵便ポストと郵便物取集システム
1か月前
マクセル株式会社
粉体成型体の製造方法及び製造装置
3日前
マクセル株式会社
応答出力装置および応答出力システム
11日前
マクセル株式会社
樹脂発泡糸の製造方法及びラム押出成形機
10日前
マクセル株式会社
扁平形非水電解液電池およびその製造方法
1か月前
マクセル株式会社
操作方法
3日前
マクセル株式会社
放送システム、放送受信装置、放送局装置および放送方法
22日前
マクセル株式会社
情報処理装置
29日前
マクセル株式会社
表示制御方法
29日前
マクセル株式会社
表示制御方法
1か月前
マクセル株式会社
情報処理端末
3日前
マクセル株式会社
伝送波の処理方法
1か月前
マクセル株式会社
ヘッドライト装置
1か月前
マクセル株式会社
伝送波の処理方法
1日前
マクセル株式会社
印刷用メタルマスク
22日前
マクセル株式会社
画像読み上げシステム、装置、および方法、ならびに応答出力システム
1か月前
マクセル株式会社
空間浮遊映像表示装置
1か月前
マクセル株式会社
コンテンツ保護処理方法
1か月前
マクセル株式会社
コンテンツ保護処理方法
1か月前
マクセル株式会社
アプリケーション起動方法
1か月前
マクセル株式会社
空間浮遊映像表示システム
1か月前
マクセル株式会社
アプリケーション起動方法
24日前
マクセル株式会社
デジタル放送変調波の処理方法
1か月前
マクセル株式会社
情報表示装置およびその表示方法
1か月前
マクセル株式会社
ヘッドマウントディスプレイ装置
1か月前
マクセル株式会社
全固体二次電池およびその製造方法
3日前
マクセル株式会社
軽度認知障害スクリーニング方法、該方法を伴うコンピュータプログラム及びスクリーニング装置
1か月前
マクセル株式会社
近赤外用結像レンズ系、カメラモジュール、車載システム、移動体
29日前
続きを見る
他の特許を見る