TOP
|
特許
|
意匠
|
商標
特許ウォッチ
Twitter
他の特許を見る
10個以上の画像は省略されています。
公開番号
2025162449
公報種別
公開特許公報(A)
公開日
2025-10-27
出願番号
2024065753
出願日
2024-04-15
発明の名称
空中浮遊映像表示システム
出願人
マクセル株式会社
代理人
弁理士法人筒井国際特許事務所
主分類
G02B
30/56 20200101AFI20251020BHJP(光学)
要約
【課題】より好適な空中浮遊映像表示装置を提供すること。本発明によれば、持続可能な開発目標(SDGs)の「3すべての人に健康と福祉を」、「9産業と技術革新の基盤をつくろう」、「11住み続けられるまちづくりを」に貢献する。
【解決手段】空中浮遊映像表示システムであって、空中浮遊映像を表示する空中浮遊映像表示装置と、誘導用表示装置と、を備え、空中浮遊映像表示装置は、映像処理を行う映像処理部と、映像処理部が映像処理を行った映像を表示する表示部と、表示部が表示する映像に基づいて空中浮遊映像を表示する光学システムと、を備え、誘導用表示装置は、ユーザを空中浮遊映像に誘導する誘導情報が表示される。
【選択図】図13
特許請求の範囲
【請求項1】
空中浮遊映像表示システムであって、
空中浮遊映像を表示する空中浮遊映像表示装置と、
誘導用表示装置と、を備え、
前記空中浮遊映像表示装置は、
映像処理を行う映像処理部と、
前記映像処理部が映像処理を行った映像を表示する表示部と、
前記表示部が表示する映像に基づいて前記空中浮遊映像を表示する光学システムと、を備え、
前記誘導用表示装置は、ユーザを前記空中浮遊映像に誘導する誘導情報が表示される、
空中浮遊映像表示システム。
続きを表示(約 1,500 文字)
【請求項2】
請求項1に記載の空中浮遊映像表示システムにおいて、
前記誘導用表示装置は、表示面が鉛直方向と平行になるように設けられ、
前記空中浮遊映像表示装置から前記空中浮遊映像となる映像光を透過させる透過面と、前記表示面と、が垂直になるように配置されている、
空中浮遊映像表示システム。
【請求項3】
請求項1に記載の空中浮遊映像表示システムにおいて、
前記誘導用表示装置は、表示面が鉛直方向と平行になるように設けられ、
前記空中浮遊映像表示装置から前記空中浮遊映像となる映像光を透過させる透過面と、前記表示面と、が平行になるように配置されている、
空中浮遊映像表示システム。
【請求項4】
請求項2に記載の空中浮遊映像表示システムにおいて、
前記表示面には視野角制御部材が設けられ、
前記視野角制御部材の水平線を基準として前記透過面側に向かう視野角は、前記空中浮遊映像表示装置の前記透過面の奥行方向に沿う直線と、前記視野角制御部材下端と前記透過面の前記奥行方向における前記表示面から離れる側の端部とを結ぶ直線と、がなす角度よりも小さい、
空中浮遊映像表示システム。
【請求項5】
請求項4に記載の空中浮遊映像表示システムにおいて、
前記視野角制御部材は、視野角制御フィルムである、
空中浮遊映像表示システム。
【請求項6】
請求項4に記載の空中浮遊映像表示システムにおいて、
前記視野角制御部材は、レンチキュラーレンズアレイである、
空中浮遊映像表示システム。
【請求項7】
請求項6に記載の空中浮遊映像表示システムにおいて、
前記誘導用表示装置は、複数のピクセルで構成された表示装置であり、
前記ピクセルは、前記誘導情報を表示する第1のサブピクセルと、黒色を表示する第2のサブピクセルと、からなり、
一のピクセルは、前記レンチキュラーレンズアレイを構成する一のレンズと対応するように設けられている、
空中浮遊映像表示システム。
【請求項8】
請求項7に記載の空中浮遊映像表示システムにおいて、
一のレンズの主点を通る水平線と、前記一のレンズの上側に隣接するレンチキュラーレンズに対応する前記第2のサブピクセルの上端から出射した光のうち前記主点を通る光線と、がなす角度は、前記空中浮遊映像表示装置の前記透過面の奥行方向に沿う直線と、前記視野角制御部材下端と前記透過面の前記奥行方向における前記表示面から離れる側の端部とを結ぶ直線と、がなす角度よりも小さい、
空中浮遊映像表示システム。
【請求項9】
請求項2に記載の空中浮遊映像表示システムにおいて、
前記誘導用表示装置の表示制御を行う誘導制御部を備え、
前記誘導制御部は、第1の条件を満たす場合は前記誘導用表示装置を非誘導状態にし、第2の条件を満たす場合は前記誘導用表示装置を誘導状態にする、
空中浮遊映像表示システム。
【請求項10】
請求項9に記載の空中浮遊映像表示システムにおいて、
前記誘導制御部は、前記第1の条件を満たす場合は前記誘導用表示装置の電源をONにし、前記第2の条件を満たす場合は前記誘導用表示装置の電源をOFFにする、
空中浮遊映像表示システム。
(【請求項11】以降は省略されています)
発明の詳細な説明
【技術分野】
【0001】
本発明は、空中浮遊映像表示装置に関する。
続きを表示(約 3,400 文字)
【背景技術】
【0002】
空中浮遊情報表示技術については、例えば、特許文献1に開示されている。
【先行技術文献】
【特許文献】
【0003】
特開2019-128722号公報
【発明の概要】
【発明が解決しようとする課題】
【0004】
しかしながら、特許文献1の開示では、空中浮遊映像の実用的な明るさや品位を得るための構成や、ユーザが空中浮遊映像をより楽しく視認するための構成などについての考慮は十分ではなかった。
【0005】
本発明の目的は、より好適な空中浮遊映像表示装置を提供することにある。
【課題を解決するための手段】
【0006】
上記課題を解決するために、例えば特許請求の範囲に記載の構成を採用する。本願は上記課題を解決する手段を複数含んでいるが、その一例を挙げるならば、以下のように構成すればよい。空中浮遊映像表示システムであって、空中浮遊映像を表示する空中浮遊映像表示装置と、誘導用表示装置と、を備え、空中浮遊映像表示装置は、映像処理を行う映像処理部と、前記映像処理部が映像処理を行った映像を表示する表示部と、前記表示部が表示する映像に基づいて空中浮遊映像を表示する光学システムと、を備え、前記誘導用表示装置は、ユーザを前記空中浮遊映像に誘導する誘導情報が表示される。
【発明の効果】
【0007】
本発明によれば、より好適な空中浮遊映像表示装置を実現できる。これ以外の課題、構成および効果は、以下の実施形態の説明において明らかにされる。
【図面の簡単な説明】
【0008】
本発明の一実施例に係る空間浮遊映像表示装置の使用形態の一例を示す図である。
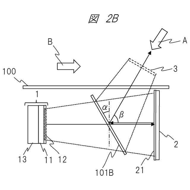
本発明の一実施例に係る空間浮遊映像表示装置の主要部構成と再帰反射部構成の一例を示す図である。
本発明の一実施例に係る空間浮遊映像表示装置の主要部構成と再帰反射部構成の一例を示す図である。
本発明の一実施例に係る空間浮遊映像表示装置の主要部構成と再帰反射部構成の一例を示す図である。
本発明の一実施例に係る、空中浮遊映像表示装置の主要部構成と再帰反射部構成の一例を示す図である。
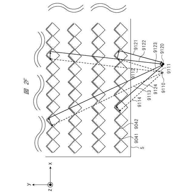
本発明の一実施例に係る、空中浮遊映像表示装置を構成する、再帰反射板の投影図である。
本発明の一実施例に係る、空中浮遊映像表示装置を構成する、再帰反射板の上面図である。
本発明の一実施例に係る、空中浮遊映像表示装置を構成する、再帰反射板を構成する、コーナーリフレクタを示す斜視図である。
本発明の一実施例に係る、空中浮遊映像表示装置を構成する、再帰反射板を構成する、コーナーリフレクタを示す上面図である。
本発明の一実施例に係る、空中浮遊映像表示装置を構成する、再帰反射板を構成する、コーナーリフレクタを示す側面図である。
本発明の一実施例に係る空間浮遊映像表示装置の構成例を示す図である。
本発明の一実施例に係る空間浮遊映像表示装置の構成の一例を示す図である。
本発明の一実施例に係る空間浮遊映像表示装置の構成の一例を示す図である。
本発明の一実施例に係る空間浮遊映像表示装置の構成の一例を示す図である。
本発明の一実施例に係る空間浮遊映像表示装置の構成の一例を示す図である。
本発明の一実施例に係る空間浮遊映像表示装置の構成の一例を示す図である。
本発明の一実施例に係る空間浮遊映像表示装置の構成の一例を示す図である。
本発明の一実施例に係る空間浮遊映像表示装置の構成の一例を示す図である。
本発明の一実施例に係る空間浮遊映像表示装置の構成の一例を示す図である。
本発明の一実施例に係る空間浮遊映像表示装置の構成の一例を示す図である。
本発明の一実施例に係る空間浮遊映像表示装置の構成の一例を示す図である。
本発明の一実施例に係る空間浮遊映像表示装置の構成の一例を示す図である。
本発明の一実施例に係る空間浮遊映像表示装置の構成の一例を示す図である。
本発明の一実施例に係る空間浮遊映像表示装置の構成の一例を示す図である。
本発明の一実施例に係る空間浮遊映像表示装置の構成の一例を示す図である。
本発明の一実施例に係る空間浮遊映像表示装置の構成の一例を示す図である。
本発明の一実施例に係る空間浮遊映像表示装置の構成の一例を示す図である。
本発明の一実施例に係る光源装置の具体的な構成の一例を示す断面図である。
本発明の一実施例に係る光源装置の具体的な構成の一例を示す断面図である。
本発明の一実施例に係る光源装置の具体的な構成の一例を示す断面図である。
本発明の一実施例に係る空間浮遊映像表示装置の主要部を示す配置図である。
本発明の一実施例に係る表示装置の構成を示す断面図である。
本発明の一実施例に係る表示装置の構成を示す断面図である。
本発明の一実施例に係る映像表示装置の光源拡散特性を説明するための説明図である。
本発明の一実施例に係る映像表示装置の拡散特性を説明するための説明図である。
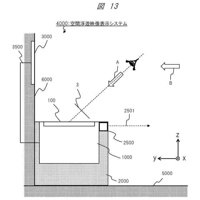
本発明の一実施例に係る空間浮遊映像表示システムの一例を示す図である。
本発明の一実施例に係る誘導情報の一例を示す図である。
本発明の一実施例に係る空間浮遊映像表示システムの機能的構成の一例を示す図である。
本発明の一実施例に係る誘導用表示装置と空間浮遊映像表示装置との連携に関する構成の一例を示す図である。
本発明の一実施例に係る空間浮遊映像表示システムの課題の一例を示す図である。
本発明の一実施例に係る空間浮遊映像表示システムの一例を示す図である。
本発明の一実施例に係る視野角制御部材の一例を示す図である。
本発明の一実施例に係る視野角制御部材の一例を示す図である。
本発明の一実施例に係る空間浮遊映像表示システムの一例を示す図である。
本発明の一実施例に係る空間浮遊映像表示システムの制御の一例を示す図である。
図21に示された制御における閾値の説明図である。
図21に示された制御における閾値の説明図である。
本発明の一実施例に係る空間浮遊映像表示システムの制御の一例を示す図である。
本発明の一実施例に係る空中操作検出センサの構成の一例を示す図である。
本発明の一実施例に係る空間浮遊映像表示システムの制御の一例を示す図である。
本発明の一実施例に係る空間浮遊映像表示システムの制御の一例を示す図である。
本発明の一実施例に係る空間浮遊映像表示システムの制御の一例を示す図である。
【発明を実施するための形態】
【0009】
以下、本発明の実施の形態を図面に基づいて詳細に説明する。なお、本発明は実施例の説明に限定されるものではなく、本明細書に開示される技術的思想の範囲内において当業者による様々な変更および修正が可能である。また、本発明を説明するための全図において、同一の機能を有するものには、同一の符号を付与し、その繰り返しの説明は省略する場合がある。
【0010】
以下の実施例は、映像発光源からの映像光による映像を、ガラス等の空間を仕切る透明な部材を介して透過して、前記透明な部材の外部に空間浮遊映像として表示することが可能な映像表示装置に関する。なお、以下の実施例の説明において、空間に浮遊する映像を「空間浮遊映像」という用語で表現している。この用語の代わりに、「空中像」、「空間像」、「空中浮遊映像」、「表示映像の空間浮遊光学像」、「表示映像の空中浮遊光学像」などと表現してもかまわない。実施例の説明で主として用いる「空間浮遊映像」との用語は、これらの用語の代表例として用いている。
(【0011】以降は省略されています)
この特許をJ-PlatPat(特許庁公式サイト)で参照する
関連特許
マクセル株式会社
電源装置
2日前
マクセル株式会社
扁平形電池
9日前
マクセル株式会社
放送信号の処理方法
16日前
マクセル株式会社
空中浮遊映像表示システム
5日前
マクセル株式会社
応答出力装置およびシステム
3日前
マクセル株式会社
郵便ポストと郵便物取集システム
22日前
マクセル株式会社
放送システム、放送受信装置、放送局装置および放送方法
8日前
マクセル株式会社
表示制御方法
18日前
マクセル株式会社
表示制御方法
15日前
マクセル株式会社
情報処理装置
15日前
マクセル株式会社
ヘッドライト装置
18日前
マクセル株式会社
伝送波の処理方法
17日前
マクセル株式会社
印刷用メタルマスク
8日前
マクセル株式会社
空間浮遊映像表示装置
18日前
マクセル株式会社
画像読み上げシステム、装置、および方法、ならびに応答出力システム
18日前
マクセル株式会社
コンテンツ保護処理方法
18日前
マクセル株式会社
コンテンツ保護処理方法
18日前
マクセル株式会社
アプリケーション起動方法
10日前
マクセル株式会社
デジタル放送変調波の処理方法
18日前
マクセル株式会社
情報表示装置およびその表示方法
18日前
マクセル株式会社
ヘッドマウントディスプレイ装置
18日前
マクセル株式会社
軽度認知障害スクリーニング方法、該方法を伴うコンピュータプログラム及びスクリーニング装置
22日前
マクセル株式会社
近赤外用結像レンズ系、カメラモジュール、車載システム、移動体
15日前
マクセル株式会社
連携通報システム、携帯型通信装置、及び携帯型通信装置における連携通報方法
10日前
マクセル株式会社
電磁ノイズ抑制シート及びその製造方法、並びに電磁ノイズ抑制シートを用いたケーブル
8日前
個人
立体像表示装置
18日前
カンタツ株式会社
光学系
10日前
住友化学株式会社
偏光板
15日前
株式会社シグマ
結像光学系
4日前
東レ株式会社
積層フィルム
24日前
住友化学株式会社
垂直偏光板
15日前
東レ株式会社
赤外線遮蔽構成体
18日前
東レ株式会社
貼合体の製造方法
18日前
日本精機株式会社
ミラーユニット
3日前
古河電気工業株式会社
融着機
10日前
アイカ工業株式会社
反射防止フィルム
1か月前
続きを見る
他の特許を見る