TOP
|
特許
|
意匠
|
商標
特許ウォッチ
Twitter
他の特許を見る
10個以上の画像は省略されています。
公開番号
2025156385
公報種別
公開特許公報(A)
公開日
2025-10-14
出願番号
2025123486,2021202546
出願日
2025-07-23,2021-12-14
発明の名称
空間浮遊映像表示装置
出願人
マクセル株式会社
代理人
弁理士法人筒井国際特許事務所
主分類
G02B
30/56 20200101AFI20251002BHJP(光学)
要約
【課題】空間の外部に対して好適に映像を表示すること。本発明によれば、持続可能な開発目標の「3すべての人に健康と福祉を」、「9産業と技術革新の基盤をつくろう」、「11住み続けられるまちづくりを」に貢献する。
【解決手段】空間浮遊映像表示装置は、映像を表示する第1の表示パネルと、第1の表示パネルのための光源装置と、第1の表示パネルからの映像光を反射させ、反射した光により空中に実像の空間浮遊映像を表示せしめる再帰反射部材と、面上に映像を表示する第2の表示パネルと、空間浮遊映像への操作入力および第2の表示パネルが表示する映像への操作入力の両者をセンシングするセンサと、を備える。
【選択図】図14
特許請求の範囲
【請求項1】
空間浮遊映像表示装置であって、
映像を表示する第1の表示パネルと、
前記第1の表示パネルのための光源装置と、
前記第1の表示パネルからの映像光を反射させ、反射した光により空中に実像の空間浮遊映像を表示せしめる再帰反射部材と、
面上に映像を表示する第2の表示パネルと、
前記空間浮遊映像への操作入力および前記第2の表示パネルが表示する映像への操作入力の両者をセンシングするセンサと、を備える、
空間浮遊映像表示装置。
続きを表示(約 1,100 文字)
【請求項2】
請求項1に記載の空間浮遊映像表示装置において、
前記センサのセンシング領域は、空間浮遊映像に対応する空間領域および表示パネルが表示する映像に対応する領域を含む平面である、
空間浮遊映像表示装置。
【請求項3】
請求項1に記載の空間浮遊映像表示装置において、
前記センサは、光源と受光部を備えたTOF(Time of Flight)方式のセンサである、
空間浮遊映像表示装置。
【請求項4】
請求項1に記載の空間浮遊映像表示装置において、
前記センサの光源光の波長は900(nm)以上の波長である、
空間浮遊映像表示装置。
【請求項5】
請求項1に記載の空間浮遊映像表示装置において、
前記第1の表示パネルの映像表示面に近接配置した映像光制御シートを備え、
前記映像光制御シートにより光の出射方向を制御された映像光束は、前記再帰反射部材で反射後に空間浮遊映像を表示するものである、
空間浮遊映像表示装置。
【請求項6】
請求項1に記載の空間浮遊映像表示装置において、
前記再帰反射部材は、前記空間浮遊映像表示装置の上部に対して下部が手前方向に引き出された状態で傾斜配置され、前記映像光が前記再帰反射部材に対して傾斜して入射するように配置されている、
空間浮遊映像表示装置。
【請求項7】
請求項1に記載の空間浮遊映像表示装置において、
前記光源装置は、
点状または面状の光源と、
前記光源からの光を反射させるリフレクタと、
前記リフレクタからの光を前記第1の表示パネルに向けて導光する導光体と、を備え、
前記リフレクタの反射面は、前記光源の出射光の光軸に対して非対称な形状である、
空間浮遊映像表示装置。
【請求項8】
請求項7に記載の空間浮遊映像表示装置において、
前記導光体は、反射型導光体である、
空間浮遊映像表示装置。
【請求項9】
請求項7に記載の空間浮遊映像表示装置において、
前記導光体からの光を拡散する拡散板と、
前記導光体と前記拡散板との空間を挟むように配置される側壁と、を備える、
空間浮遊映像表示装置。
【請求項10】
請求項7に記載の空間浮遊映像表示装置において、
前記リフレクタは、プラスチック材料またはガラス材料または金属材料を用いる、
空間浮遊映像表示装置。
発明の詳細な説明
【技術分野】
【0001】
本発明は、空間浮遊映像表示装置に関する。
続きを表示(約 3,400 文字)
【背景技術】
【0002】
空間浮遊情報表示システムとして、直接外部に向かって映像を表示する映像表示装置と空間画面として表示される表示法は既に知られている。また、表示された空間像の操作面における操作に対する誤検知を低減する検知システムについても、例えば、特許文献1に開示されている。
【先行技術文献】
【特許文献】
【0003】
特開2019-128722号公報
【発明の概要】
【発明が解決しようとする課題】
【0004】
空間浮遊情報表示システムとして、直接外部に向かって映像を表示する映像表示装置と空間画面として表示される表示法は既に知られている。
しかしながら、上述した従来技術の空間浮遊映像情報表示システムにおいて空間浮遊映像を発生させる再帰反射部材に外光が入射した場合に発生する不具合の防止手段や、空間浮遊情報表示システムとして空間浮遊映像表示装置と平面ディスプレイが併設された複合構成の映像表示システムに表示された映像を空間上の同一操作面で操作する検知システムとして、空間浮遊映像の映像源となる映像表示装置の光源を含む設計の最適化技術については考慮されていない。
【0005】
本発明の目的は、空間浮遊情報表示システムまたは空間浮遊映像表示装置において、視認性(見た目の解像度やコントラスト)が高く、外光の影響を低減した空間浮遊映像表示が可能で平面ディスプレイと併設されたシステムにおいて空間像と平面ディスプレイの表示像を高精度に操作する方法と好適な映像を表示することが可能な技術を提供することにある。
【課題を解決するための手段】
【0006】
上記課題を解決するために、例えば特許請求の範囲に記載の構成を採用する。本願は上記課題を解決する手段を複数含んでいるが、その一例としての空間浮遊映像表示装置を以下に挙げる。本願の一例としての空間浮遊映像表示装置は、映像を表示する第1の表示パネルと、前記第1の表示パネルのための光源装置と、前記第1の表示パネルからの映像光を反射させ、反射した光により空中に実像の空間浮遊映像を表示せしめる再帰反射部材と、面上に映像を表示する第2の表示パネルと、前記空間浮遊映像への操作入力および前記第2の表示パネルが表示する映像への操作入力の両者をセンシングするセンサと、を備える。
【発明の効果】
【0007】
本発明によれば、外光が入射しても空間浮遊映像の画質低下がなく、好適に空間浮遊映像情報を表示することができる。また、空間浮遊映像表示装置とディスプレイを設けることで表示画面に直接触れることなく操作入力を行うことが出来る。
上記以外の課題、構成および効果は、以下の実施形態の説明により明らかにされる。
【図面の簡単な説明】
【0008】
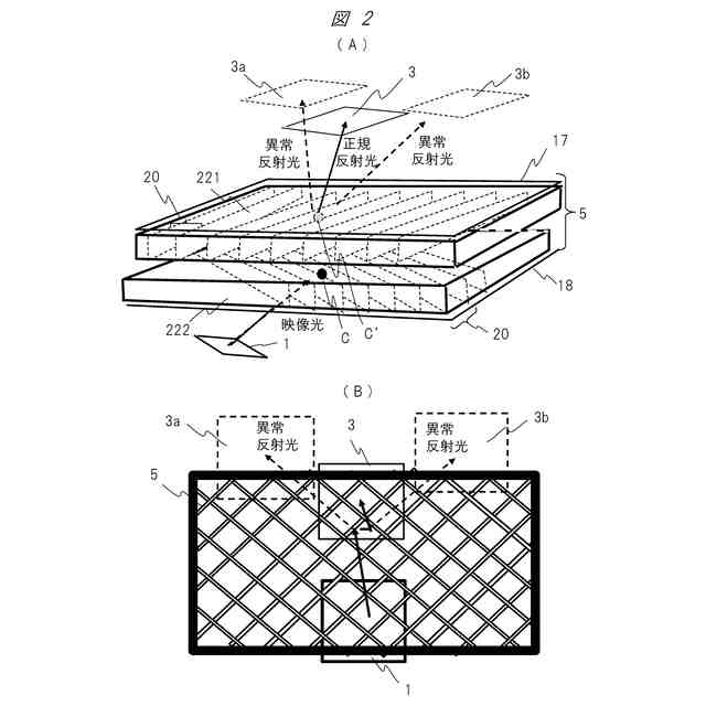
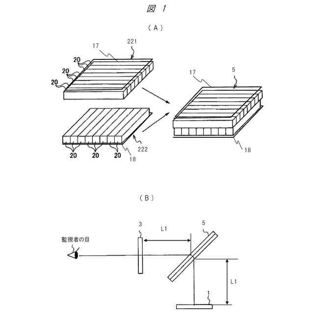
本発明の一実施例に係る再帰反射部材の構成と空間浮遊像の発生位置を示す図である。
本発明の一実施例に係る再帰反射で発生する異常光線によるゴースト像の発生メカニズムを説明するための説明図である。
他の空間浮遊映像情報システムにおいて使用する再帰反射部材で発生する異常光線の発生メカニズムを説明するための説明図である。
本発明の一実施例に係る再帰反射部材に外光が入射した場合に発生する異常光線を消し去るメカニズムを説明するための説明図である。
本発明の一実施例に係る空間浮遊映像情報表示システムにおける再帰反射部材の最適使用条件を示す特性図である。
本発明の一実施例に係る空間浮遊映像情報表示システムの主要部構成と再帰反射部構成の一例を示す図である。
本発明の一実施例に係る空間浮遊映像情報表示システムの主要部構成と再帰反射部構成の第二実施例を示す図である。
本発明の一実施例に係る空間浮遊映像情報表示システムの主要部構成と再帰反射部構成の第三実施例を示す図である。
本発明の一実施例に係る空間浮遊映像情報表示システムの主要部構成と再帰反射部構成の第四実施例を示す図である。
本発明の空間浮遊映像情報表示システムで用いる映像光を屈折させる光学部材の動作原理を説明するための説明図である。
本発明の空間浮遊映像情報表示システムで用いる映像源の表示映像を観視者が直接観視できないようにする光学部材と映像源との配置を説明するための説明図である。
本発明の一実施例に係る再帰反射部で発生する異常光線を遮る部材の配置を示す断面図である。
本発明の一実施例に係る空間浮遊映像情報表示システムの第一実施例の主要部構成を示す図である。
本発明の一実施例に係る空間浮遊映像情報表示システムの第二実施例の外観と主要部構成を示す図である。
本発明の一実施例に係る他の空間浮遊映像情報表示システムの第二実施例の外観と主要部構成を示す図である。
本発明の実施例に係る空間浮遊映像情報表示システムに設けたセンシング手段を説明するための説明図である。
別方式の光源装置の具体的な構成の別の例を示す図である。
別方式の光源装置の具体的な構成の別の例を示す構造図である。
別方式の光源装置の具体的な構成の別の例の一部を抜粋した図である。
別方式の光源装置の具体的な構成の別の例の一部を抜粋した図である。
別方式の光源装置の具体的な構成の別の例の一部を抜粋した図である。
別方式の光源装置の具体的な構成の別の例を示す構造図である。
別方式の光源装置の具体的な構成の別の例を示す図である。
光源装置の具体的な構成の別の例の導光体拡散部の表面形状を示す拡大図である。
光源装置の具体的な構成の例を示す断面図である。
光源装置の具体的な構成の例を示す構造図である。
光源装置の具体的な構成の例を示す斜視、上面及び断面図である。
光源装置の具体的な構成の例を示す斜視及び上面図である。
映像表示装置の光源拡散特性を説明するための説明図である。
映像表示装置の光源拡散特性を説明するための説明図である。
映像表示装置の拡散特性を説明するための説明図である。
映像表示装置の拡散特性を説明するための説明図である。
液晶パネルの視覚特性を測定する座標系を示す図である。
一般的な液晶パネルの輝度角度特性(長手方向)を示す図である。
一般的な液晶パネルの輝度角度特性(短手方向)を示す図である。
一般的な液晶パネルのコントラストの角度特性(長手方向)を示す図である。
一般的な液晶パネルのコントラストの角度特性(短手方向)を示す図である。
【発明を実施するための形態】
【0009】
以下、本発明の実施の形態を、図面を参照して詳細に説明する。なお、本発明は、以下に説明する実施形態(以下、「本開示」ともいう)の内容に限定されるものではない。本発明は、発明の精神ないし特許請求の範囲に記載された技術的思想の範囲またはその均等範囲物にも及ぶ。また、以下に説明する実施形態(実施例)の構成は、あくまで例示に過ぎないのであって、本明細書に開示される技術的思想の範囲において、当業者による様々な変更および修正が可能である。
【0010】
また、本発明を説明するための図面において、同一または類似の機能を有するものには、同一の符号を付与し、適宜、異なる名称を使用する一方で、機能等の繰り返しの説明を省略する場合がある。なお、以下の実施形態の説明において、空間に浮遊する映像を「空間浮遊映像」という用語で表現している。この用語の代わりに、「空中像」、「空間像」、「空中浮遊映像」、「表示映像の空間浮遊光学像」、「表示映像の空中浮遊光学像」などと表現してもかまわない。実施形態の説明で主として用いる「空間浮遊映像」の用語は、これらの用語の代表例として用いている。
(【0011】以降は省略されています)
この特許をJ-PlatPat(特許庁公式サイト)で参照する
関連特許
マクセル株式会社
電源装置
6日前
マクセル株式会社
粘着テープ
1日前
マクセル株式会社
扁平形電池
13日前
マクセル株式会社
空中浮遊映像表示装置
今日
マクセル株式会社
空中浮遊映像表示システム
9日前
マクセル株式会社
応答出力装置およびシステム
7日前
マクセル株式会社
応答出力装置および応答出力システム
1日前
マクセル株式会社
樹脂発泡糸の製造方法及びラム押出成形機
今日
マクセル株式会社
放送システム、放送受信装置、放送局装置および放送方法
12日前
マクセル株式会社
表示制御方法
19日前
マクセル株式会社
情報処理装置
19日前
マクセル株式会社
印刷用メタルマスク
12日前
マクセル株式会社
アプリケーション起動方法
14日前
マクセル株式会社
近赤外用結像レンズ系、カメラモジュール、車載システム、移動体
19日前
マクセル株式会社
連携通報システム、携帯型通信装置、及び携帯型通信装置における連携通報方法
14日前
マクセル株式会社
電磁ノイズ抑制シート及びその製造方法、並びに電磁ノイズ抑制シートを用いたケーブル
12日前
個人
立体像表示装置
22日前
カンタツ株式会社
光学系
14日前
住友化学株式会社
偏光板
19日前
株式会社シグマ
結像光学系
8日前
住友化学株式会社
垂直偏光板
19日前
東レ株式会社
赤外線遮蔽構成体
22日前
東レ株式会社
貼合体の製造方法
22日前
日本精機株式会社
ミラーユニット
7日前
古河電気工業株式会社
融着機
14日前
日本電気株式会社
光モジュール
8日前
日本電気株式会社
光集積回路素子
26日前
個人
多方向視差効果のための微細穴加工
9日前
京セラ株式会社
光学系
6日前
個人
眼鏡装着位置変更具および眼鏡
20日前
日東電工株式会社
光学積層体
今日
三菱電機株式会社
レンズモジュール
19日前
住友化学株式会社
積層体
26日前
日本精機株式会社
ヘッドアップディスプレイ
1日前
AGC株式会社
インフィニティミラー
15日前
日東電工株式会社
調光フィルム
27日前
続きを見る
他の特許を見る