TOP
|
特許
|
意匠
|
商標
特許ウォッチ
Twitter
他の特許を見る
10個以上の画像は省略されています。
公開番号
2025165280
公報種別
公開特許公報(A)
公開日
2025-11-04
出願番号
2024069301
出願日
2024-04-22
発明の名称
応答出力装置および応答出力システム
出願人
マクセル株式会社
代理人
弁理士法人筒井国際特許事務所
主分類
G06F
16/90 20190101AFI20251027BHJP(計算;計数)
要約
【課題】より好適な人工知能応答出力技術を提供すること。本発明によれば、持続可能な開発目標(SDGs)の「9産業と技術革新の基盤をつくろう」、「11住み続けられるまちづくりを」に貢献する。
【解決手段】入力部と、入力部からのユーザの入力に基づいて応答要求を生成して大規模言語モデルに送信し、応答要求に応じて大規模言語モデルからの応答を出力させる制御部と、を備える応答出力装置であって、制御部は、ユーザにより指定される検索条件に基づく検索処理を行い、応答要求に登録するコンテンツファイルの登録候補を抽出し、抽出された登録候補からユーザにより選択されたコンテンツファイルを応答要求に登録する。
【選択図】図8
特許請求の範囲
【請求項1】
入力部と、
前記入力部からのユーザの入力に基づいて応答要求を生成して大規模言語モデルに送信し、前記応答要求に応じて前記大規模言語モデルからの応答を出力させる制御部と、を備える応答出力装置であって、
前記制御部は、
前記ユーザにより指定される検索条件に基づく検索処理を行い、前記応答要求に登録するコンテンツファイルの登録候補を抽出し、抽出された登録候補から前記ユーザにより選択されたコンテンツファイルを前記応答要求に登録する、
応答出力装置。
続きを表示(約 1,300 文字)
【請求項2】
請求項1に記載の応答出力装置において、
前記応答要求には複数のコンテンツファイルを登録可能であり、前記応答要求に第1のコンテンツファイルが登録されている場合、
前記制御部は、
前記第1のコンテンツファイルとの関連性を検索条件の一つとして前記検索処理を行い、第2のコンテンツファイルの登録候補を抽出する、
応答出力装置。
【請求項3】
請求項2に記載の応答出力装置において、
前記制御部は、
前記検索処理を行う前に、前記ユーザに対し、前記第1のコンテンツファイルとの関連性を含む検索条件での検索処理を行うか否かを確認する、
応答出力装置。
【請求項4】
請求項1に記載の応答出力装置において、
前記登録候補の一覧が表示される表示部を備え、
前記制御部は、
前記表示部に表示された前記登録候補としてのコンテンツファイルに対して前記ユーザによりファイル移動操作ではない特定の操作が行われると、当該特定の操作が行われたコンテンツファイルが前記ユーザにより選択されたと判断する、
応答出力装置。
【請求項5】
請求項4に記載の応答出力装置において、
前記制御部は、
前記コンテンツファイルが前記ユーザにより選択されたと判断すると、選択されたコンテンツファイルを前記応答要求に登録する前に、前記コンテンツファイルの内容を再生する、
応答出力装置。
【請求項6】
請求項4に記載の応答出力装置において、
前記制御部は、
前記コンテンツファイルを前記応答要求に登録する前に、前記ユーザに対して、前記コンテンツファイルの前記応答要求への登録の要否を確認する、
応答出力装置。
【請求項7】
請求項2に記載の応答出力装置において、
前記制御部は、
前記検索処理を行う際、前記第1のコンテンツファイルの解析を行って前記第1のコンテンツファイルの特徴点を特定し、特定した前記特徴点についての前記第1のコンテンツファイルとの関連性の高さに基づいて前記登録候補の抽出を行う、
応答出力装置。
【請求項8】
請求項2に記載の応答出力装置において、
前記検索処理の対象として、複数種類のコンテンツファイルが含まれる場合、
前記制御部は、
前記第1のコンテンツファイルとは異なる種類のコンテンツファイルを優先的に前記検索処理の対象とする、
応答出力装置。
【請求項9】
請求項8に記載の応答出力装置において、
前記複数種類のコンテンツファイルには、画像ファイル、動画ファイルおよび音楽ファイルが含まれる、
応答出力装置。
【請求項10】
請求項2に記載の応答出力装置において、
前記コンテンツファイルが保存される複数の記憶部を備え、
前記制御部は、
前記第1のコンテンツファイルが保存されている記憶部について優先的に前記検索処理を行う、
応答出力装置。
(【請求項11】以降は省略されています)
発明の詳細な説明
【技術分野】
【0001】
本発明は、応答出力装置および応答出力システムに関する。
続きを表示(約 4,800 文字)
【背景技術】
【0002】
言語モデルなどの人工知能を用いた応答出力技術については、例えば、特許文献1に開示されている。
【先行技術文献】
【特許文献】
【0003】
特表2019―528512号公報
【発明の概要】
【発明が解決しようとする課題】
【0004】
しかしながら、特許文献1の開示では、人工知能を用いた応答出力技術をユーザにより好適に提供するための構成などについての考慮は十分ではなかった。
【0005】
本発明の目的は、より好適な応答出力技術を提供することにある。
【課題を解決するための手段】
【0006】
上記課題を解決するために、例えば特許請求の範囲に記載の構成を採用する。本願は上記課題を解決する手段を複数含んでいるが、その一例を挙げるならば、入力部と、前記入力部からのユーザの入力に基づいて応答要求を生成して大規模言語モデルに送信し、前記応答要求に応じて前記大規模言語モデルからの応答を出力させる制御部と、を備える応答出力装置であって、前記制御部は、前記ユーザにより指定される検索条件に基づく検索処理を行い、前記応答要求に登録するコンテンツファイルの登録候補を抽出し、抽出された登録候補から前記ユーザにより選択されたコンテンツファイルを前記応答要求に登録する、ように構成すればよい。
【発明の効果】
【0007】
本発明によれば、より好適な応答出力技術を提供できる。これ以外の課題、構成および効果は、以下の実施形態の説明において明らかにされる。
【図面の簡単な説明】
【0008】
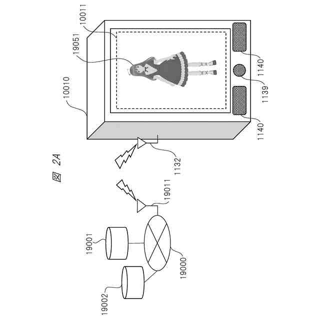
本発明の一実施例に係る人工知能応答出力装置およびシステムの一例を示す図である。
本発明の一実施例に係る人工知能応答出力装置の一例を示す図である。
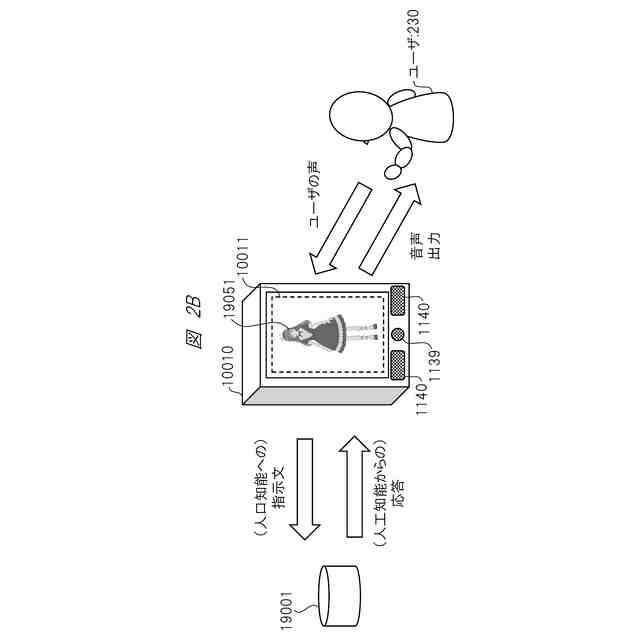
本発明の一実施例に係る人工知能応答出力装置およびシステムの動作の一例を示す図である。
本発明の一実施例に係るキャラクター会話装置およびキャラクター会話システムの一例の説明図である。
本発明の一実施例に係るキャラクター会話装置およびキャラクター会話システムの動作の一例の説明図である。
本発明の一実施例に係るキャラクター会話装置およびキャラクター会話システムの動作の一例の説明図である。
本発明の一実施例に係るキャラクター会話装置およびキャラクター会話システムにける会話の一例の説明図である。
本発明の一実施例に係るキャラクター会話装置およびキャラクター会話システムの動作の一例の説明図である。
本発明の一実施例に係るキャラクター会話装置およびキャラクター会話システムの動作の一例の説明図である。
本発明の一実施例に係るキャラクター会話装置およびキャラクター会話システムの動作の一例の説明図である。
本発明の一実施例に係るキャラクター会話装置およびキャラクター会話システムの動作の一例の説明図である。
本発明の一実施例に係るキャラクター会話装置およびキャラクター会話システムの動作の一例の説明図である。
本発明の一実施例に係るキャラクター会話装置およびキャラクター会話システムの動作の一例の説明図である。
本発明の一実施例に係るキャラクター会話装置およびキャラクター会話システムの動作の一例の説明図である。
本発明の一実施例に係るキャラクター会話装置およびキャラクター会話システムの動作の一例の説明図である。
本発明の一実施例に係るキャラクター会話装置およびキャラクター会話システムの一例の説明図である。
本発明の一実施例に係るキャラクター会話装置およびキャラクター会話システムの動作の一例の説明図である。
本発明の一実施例に係るキャラクター会話装置およびキャラクター会話システムの動作の一例の説明図である。
本発明の一実施例に係るキャラクター会話装置およびキャラクター会話システムにける会話の一例の説明図である。
本発明の一実施例に係るキャラクター会話装置およびキャラクター会話システムの動作の一例の説明図である。
本発明の一実施例に係るキャラクター会話装置およびキャラクター会話システムの動作の一例の説明図である。
本発明の一実施例に係るキャラクター会話装置およびキャラクター会話システムの動作の一例の説明図である。
本発明の一実施例に係るキャラクター会話装置およびキャラクター会話システムの動作の一例の説明図である。
本発明の一実施例に係るキャラクター会話装置およびキャラクター会話システムの動作の一例の説明図である。
本発明の一実施例に係るキャラクター会話装置およびキャラクター会話システムの動作の一例の説明図である。
本発明の一実施例に係るキャラクター会話装置およびキャラクター会話システムの動作の一例の説明図である。
本発明の一実施例に係る人工知能応答出力装置の動作の一例の説明図である。
本発明の一実施例に係る人工知能応答出力装置の表示例の一例の説明図である。
本発明の一実施例に係る人工知能応答出力装置の表示例の一例の説明図である。
本発明の一実施例に係る人工知能応答出力装置の表示例の一例の説明図である。
本発明の一実施例に係る人工知能応答出力装置の応答生成処理の一例の説明図である。
本発明の一実施例に係る人工知能応答出力装置の応答出力処理の一例の説明図である。
本発明の一実施例に係る人工知能応答出力装置の処理の一例の説明図である。
本発明の一実施例に係る人工知能応答出力装置の処理の一例の説明図である。
本発明の一実施例に係る人工知能応答出力装置の処理の一例の説明図である。
本発明の一実施例に係る人工知能応答出力装置の処理の一例の説明図である。
本発明の一実施例に係る人工知能応答出力装置の処理の一例を示すフローチャートである。
本発明の一実施例に係る人工知能応答出力装置の一表示例を示す図である。
本発明の一実施例に係る人工知能応答出力装置の一表示例を示す図である。
本発明の一実施例に係る人工知能応答出力装置およびシステムの一例を示す図である。
本発明の一実施例に係る人工知能応答出力装置およびシステムの一例を示す図である。
本発明の一実施例に係る人工知能応答出力装置の一表示例を示す図である。
本発明の一実施例に係る人工知能応答出力装置の一表示例を示す図である。
本発明の一実施例に係る人工知能応答出力装置の一表示例を示す図である。
本発明の一実施例に係る人工知能応答出力装置の一表示例を示す図である。
本発明の一実施例に係る人工知能応答出力装置の一表示例を示す図である。
本発明の一実施例に係る人工知能応答出力装置の一表示例を示す図である。
本発明の一実施例に係る人工知能応答出力装置の一表示例を示す図である。
本発明の一実施例に係る人工知能応答出力装置による関連性評価を説明する図である。
本発明の一実施例に係る人工知能応答出力装置による関連性評価を説明する図である。
本発明の一実施例に係る人工知能応答出力装置によるファイル関連性評価の結果情報の一例を説明する図である。
本発明の一実施例に係る人工知能応答出力装置による検索処理の一例を説明する図である。
本発明の一実施例に係る人工知能応答出力装置による検索処理の一例を説明する図である。
本発明の一実施例に係る人工知能応答出力装置の一表示例を示す図である。
本発明の一実施例に係る人工知能応答出力装置の一表示例を示す図である。
本発明の一実施例に係る人工知能応答出力装置による検索処理の一例を説明する図である。
本発明の一実施例に係る人工知能応答出力装置による検索処理の一例を説明する図である。
本発明の一実施例に係る人工知能応答出力装置による検索処理の一例を説明する図である。
本発明の一実施例に係る人工知能応答出力装置による検索処理の一例を説明する図である。
本発明の一実施例に係る人工知能応答出力装置の一表示例を示す図である。
本発明の一実施例に係る人工知能応答出力装置の一表示例を示す図である。
本発明の一実施例に係る人工知能応答出力装置の一表示例を示す図である。
本発明の一実施例に係る人工知能応答出力装置の一表示例を示す図である。
本発明の一実施例に係る人工知能応答出力装置およびシステムの一例を示す図である。
本発明の一実施例に係る人工知能応答出力装置の処理の一例を示すフローチャートである。
本発明の一実施例に係る人工知能応答出力装置の処理の一例を示すフローチャートである。
本発明の一実施例に係る人工知能応答出力装置の一表示例を示す図である。
本発明の一実施例に係る人工知能応答出力装置の処理の一例を示すフローチャートである。
本発明の一実施例に係る人工知能応答出力装置およびシステムの一例を示す図である。
本発明の一実施例に係る人工知能応答出力装置の処理の一例を示すフローチャートである。
【発明を実施するための形態】
【0009】
以下、本発明の実施の形態を図面に基づいて詳細に説明する。なお、本発明は実施例の説明に限定されるものではなく、本明細書に開示される技術的思想の範囲内において当業者による様々な変更および修正が可能である。また、本発明を説明するための全図において、同一の機能を有するものには、同一の符号を付与し、その繰り返しの説明は省略する場合がある。
【0010】
なお、本発明の各実施例に係る人工知能応答出力装置が表示画面を有する場合は、表示装置と呼んでもよい。人工知能応答出力装置が音声出力機能を有する場合は、音声出力装置と呼んでもよい人工知能応答出力装置は単に情報処理装置と呼んでもよい。人工知能応答出力装置と、大規模言語モデルを保持する大規模言語モデルサーバを含むシステムを人工知能応答出力システムと呼んでもよい。また、人工知能応答出力装置が人工知能である大規模言語モデルの応答サービスをユーザに提供し、ユーザの助力になる場合は、人工知能応答出力装置または人工知能応答出力装置の表示出力は、ユーザにとって人工知能(AI)アシスタントとなることができる。よって、この場合、人工知能応答出力装置はAIアシスタント装置またはAIアシスタント表示装置と呼んでもよい。同様に、この場合、人工知能応答出力装置と、大規模言語モデルを保持する大規模言語モデルサーバを含むシステムをAIアシスタントシステムまたはAIアシスタント表示システムと呼んでもよい。また、この場合、人工知能応答出力装置は、ユーザと人工知能の間のインタフェースとなるので、人工知能インタフェース装置と呼んでもよい。この場合、人工知能応答出力装置と、大規模言語モデルを保持する大規模言語モデルサーバを含むシステムを人工知能インタフェースシステムと呼んでもよい。
(【0011】以降は省略されています)
この特許をJ-PlatPat(特許庁公式サイト)で参照する
関連特許
マクセル株式会社
光学システム
7日前
マクセル株式会社
空中浮遊映像表示装置
6日前
マクセル株式会社
虚像方式映像表示装置
7日前
マクセル株式会社
伝送波の処理方法
12日前
個人
詐欺保険
1か月前
個人
縁伊達ポイン
1か月前
個人
職業自動販売機
12日前
個人
5掛けポイント
19日前
個人
RFタグシート
1か月前
個人
ペルソナ認証方式
27日前
個人
QRコードの彩色
1か月前
個人
地球保全システム
1か月前
個人
情報処理装置
22日前
個人
自動調理装置
29日前
個人
農作物用途分配システム
1か月前
個人
残土処理システム
1か月前
個人
サービス情報提供システム
14日前
個人
タッチパネル操作指代替具
1か月前
個人
インターネットの利用構造
26日前
個人
知的財産出願支援システム
1か月前
個人
スケジュール調整プログラム
1か月前
個人
携帯端末障害問合せシステム
1か月前
株式会社キーエンス
受発注システム
1か月前
個人
食品レシピ生成システム
1か月前
株式会社キーエンス
受発注システム
1か月前
個人
エリアガイドナビAIシステム
27日前
株式会社キーエンス
受発注システム
1か月前
個人
海外支援型農作物活用システム
2か月前
株式会社ワコム
電子ペン
21日前
個人
帳票自動生成型SaaSシステム
1か月前
個人
音声・通知・再配達UX制御構造
1か月前
株式会社ワコム
電子ペン
21日前
大同特殊鋼株式会社
疵判定方法
2か月前
株式会社ケアコム
項目選択装置
22日前
株式会社ケアコム
項目選択装置
22日前
エッグス株式会社
情報処理装置
1か月前
続きを見る
他の特許を見る