TOP
|
特許
|
意匠
|
商標
特許ウォッチ
Twitter
他の特許を見る
10個以上の画像は省略されています。
公開番号
2025165635
公報種別
公開特許公報(A)
公開日
2025-11-05
出願番号
2024069815
出願日
2024-04-23
発明の名称
空中浮遊映像表示装置
出願人
マクセル株式会社
代理人
青稜弁理士法人
主分類
G02B
30/56 20200101AFI20251028BHJP(光学)
要約
【課題】より好適な空中浮遊映像表示装置を提供すること。本発明によれば、持続可能な開発目標(SDGs)の「3すべての人に健康と福祉を」、「9産業と技術革新の基盤をつくろう」、「11住み続けられるまちづくりを」に貢献する。
【解決手段】本発明によれば、表示装置と、表示装置から出射された映像光を反射する再帰反射板と、を備える。表示装置と再帰反射板それぞれは、前後方向で間隔を空けて平行に配置され、再帰反射板と表示装置の間隔が調整可能である。
【選択図】図20
特許請求の範囲
【請求項1】
表示装置と、
前記表示装置から出射された映像光を反射する再帰反射板と、
を備え、
前記表示装置と前記再帰反射板それぞれは、前後方向で間隔を空けて平行に配置され、
前記再帰反射板と前記表示装置の前記間隔が調整可能である、空中浮遊映像表示装置。
続きを表示(約 1,000 文字)
【請求項2】
請求項1に記載の空中浮遊映像表示装置であって、
前記表示装置は、
前方下側に向けて映像光を出射し、
前記再帰反射板は、
前後方向に移動可能である、空中浮遊映像表示装置。
【請求項3】
請求項1に記載の空中浮遊映像表示装置であって、
前記表示装置は、
前方下側に向けて映像光を出射し、
前記再帰反射板は、
前方に向かうに従って下方に移動し、後方に向かうに従って上方に移動する前後斜め方向に移動可能である、空中浮遊映像表示装置。
【請求項4】
請求項1に記載の空中浮遊映像表示装置であって、
前記表示装置は、
前方下側に向けて映像光を出射し、
前後方向に移動可能である、空中浮遊映像表示装置。
【請求項5】
請求項1に記載の空中浮遊映像表示装置であって、
前記表示装置は、
前方下側に向けて映像光を出射し、
前方に向かうに従って下方に移動し、後方に向かうに従って上方に移動する前後斜め方向に移動可能である、空中浮遊映像表示装置。
【請求項6】
請求項1に記載の空中浮遊映像表示装置であって、
前記表示装置は、
前方上側に向けて映像光を出射し、
前記再帰反射板は、
前後方向に移動可能である、空中浮遊映像表示装置。
【請求項7】
請求項1に記載の空中浮遊映像表示装置であって、
前記表示装置は、
前方上側に向けて映像光を出射し、
前記再帰反射板は、
前方に向かうに従って上方に移動し、後方に向かうに従って下方に移動する前後斜め方向に移動可能である、空中浮遊映像表示装置。
【請求項8】
請求項1に記載の空中浮遊映像表示装置であって、
前記表示装置は、
前方上側に向けて映像光を出射し、
前後方向に移動可能である、空中浮遊映像表示装置。
【請求項9】
請求項1に記載の空中浮遊映像表示であって、
前記表示装置は、
前方上側に向けて映像光を出射し、
前方に向かうに従って上方に移動し、後方に向かうに従って下方に移動する前後斜め方向に移動可能である、空中浮遊映像表示装置。
発明の詳細な説明
【技術分野】
【0001】
本発明は、空中浮遊映像表示装置に関する。
続きを表示(約 2,900 文字)
【背景技術】
【0002】
空中浮遊情報表示技術については、例えば、特許文献1に開示されている。
【先行技術文献】
【特許文献】
【0003】
特開2019-128722号公報
【発明の概要】
【発明が解決しようとする課題】
【0004】
しかしながら、特許文献1の開示では、空中浮遊映像の実用的な明るさや品位を得るための構成や、ユーザが空中浮遊映像をより楽しく視認するための構成などについての考慮は十分ではなかった。
【0005】
本発明の目的は、より好適な空中浮遊映像表示装置を提供することにある。
【課題を解決するための手段】
【0006】
上記課題を解決するために、例えば特許請求の範囲に記載の構成を採用する。本願は上記課題を解決する手段を複数含んでいるが、その一例を挙げるならば、下記の空中浮遊映像表示が提供される。この空中浮遊映像表示装置は、表示装置と、前記表示装置から出射された映像光を反射する再帰反射板と、を備える。前記表示装置と前記再帰反射板それぞれは、前後方向で間隔を空けて平行に配置され、前記再帰反射板と前記表示装置の前記間隔が調整可能である。
【発明の効果】
【0007】
本発明によれば、より好適な空中浮遊映像表示装置を実現できる。これ以外の課題、構成および効果は、以下の実施形態の説明において明らかにされる。
【図面の簡単な説明】
【0008】
本発明の一実施例に係る空間浮遊映像表示装置の使用形態の一例を示す図である。
本発明の一実施例に係る、空中浮遊映像表示装置の主要部構成と再帰反射部構成の一例を示す図である。
本発明の一実施例に係る、空中浮遊映像表示装置を構成する、再帰反射板の投影図である。
本発明の一実施例に係る、空中浮遊映像表示装置を構成する、再帰反射板の上面図である。
本発明の一実施例に係る、空中浮遊映像表示装置を構成する、再帰反射板を構成する、コーナーリフレクタを示す斜視図である。
本発明の一実施例に係る、空中浮遊映像表示装置を構成する、再帰反射板を構成する、コーナーリフレクタを示す上面図である。
本発明の一実施例に係る、空中浮遊映像表示装置を構成する、再帰反射板を構成する、コーナーリフレクタを示す側面図である。
本発明の一実施例に係る空間浮遊映像表示装置の構成例を示す図である。ある。
本発明の一実施例に係る空間浮遊映像表示装置の構成の一例を示す図である。
本発明の一実施例に係る空間浮遊映像表示装置の構成の一例を示す図である。
本発明の一実施例に係る空間浮遊映像表示装置の構成の一例を示す図である。
本発明の一実施例に係る光源装置の具体的な構成の一例を示す断面図である。
本発明の一実施例に係る光源装置の具体的な構成の一例を示す断面図である。
本発明の一実施例に係る光源装置の具体的な構成の一例を示す断面図である。
本発明の一実施例に係る空間浮遊映像表示装置の主要部を示す配置図である。
本発明の一実施例に係る表示装置の構成を示す断面図である。
本発明の一実施例に係る表示装置の構成を示す断面図である。
本発明の一実施例に係る映像表示装置の光源拡散特性を説明するための説明図である。
本発明の一実施例に係る映像表示装置の拡散特性を説明するための説明図である。
本発明の一実施例に係る、空中浮遊映像表示装置の主要部構成と再帰反射部構成の一例を示す図である。
本発明の一実施例に係る、空中浮遊映像表示装置の主要部構成と再帰反射部構成の一例を示す図である。
本発明の一実施例に係る、空中浮遊映像表示装置の主要部構成と再帰反射部構成の一例を示す図である。
本発明の一実施例に係る、空中浮遊映像表示装置の主要部構成と再帰反射部構成の一例を示す図である。
本発明の一実施例に係る空中浮遊映像表示装置の主要部構成を説明する拡大図である。
本発明の一実施例に係る空中浮遊映像表示装置の主要部構成を説明する拡大図である。
本発明の一実施例に係る映像光制御シートの構成の一例を示す図である。
本発明の一実施例に係る空間浮遊映像表示装置の主要部構成を説明する拡大図である。
本発明の一実施例に係る空間浮遊映像表示装置における各種設定値の一例を示す図である。
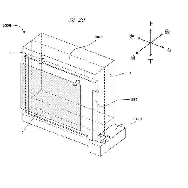
本発明の一実施例に係る空間浮遊映像表示装置の一例を示す図である。
図20に示す空間浮遊映像表示装置に関して、再帰反射板の位置調整を詳細に説明するための図である。
本発明の一実施例に係る空間浮遊映像表示装置の一例を示す図である。
図22に示す空間浮遊映像表示装置に関して、再帰反射板の位置調整を詳細に説明するための図である。
本発明の一実施例に係る空間浮遊映像表示装置の一例を示す図である。
図24に示す空間浮遊映像表示装置に関して、表示装置の位置調整を詳細に説明するための図である。
本発明の一実施例に係る空間浮遊映像表示装置の一例を示す図である。
図24に示す空間浮遊映像表示装置に関して、表示装置の位置調整を詳細に説明するための図である。
空間浮遊映像表示装置の一例に関して、再帰反射板の位置調整を詳細に説明するための図である。
空間浮遊映像表示装置の一例に関して、再帰反射板の位置調整を詳細に説明するための図である。
空間浮遊映像表示装置の一例に関して、表示装置の位置調整を詳細に説明するための図である。
空間浮遊映像表示装置の一例に関して、表示装置の位置調整を詳細に説明するための図である。
【発明を実施するための形態】
【0009】
以下、本発明の実施の形態を図面に基づいて詳細に説明する。なお、本発明は実施例の説明に限定されるものではなく、本明細書に開示される技術的思想の範囲内において当業者による様々な変更および修正が可能である。また、本発明を説明するための全図において、同一の機能を有するものには、同一の符号を付与し、その繰り返しの説明は省略する場合がある。
【0010】
以下の実施例は、映像発光源からの映像光による映像を、ガラス等の空間を仕切る透明な部材を介して透過して、前記透明な部材の外部に空間浮遊映像として表示することが可能な映像表示装置に関する。なお、以下の実施例の説明において、空間に浮遊する映像を「空間浮遊映像」という用語で表現している。この用語の代わりに、「空中像」、「空間像」、「空中浮遊映像」、「表示映像の空間浮遊光学像」、「表示映像の空中浮遊光学像」などと表現してもかまわない。実施例の説明で主として用いる「空間浮遊映像」との用語は、これらの用語の代表例として用いている。
(【0011】以降は省略されています)
この特許をJ-PlatPat(特許庁公式サイト)で参照する
関連特許
マクセル株式会社
電源装置
28日前
マクセル株式会社
扁平形電池
1か月前
マクセル株式会社
粘着テープ
23日前
マクセル株式会社
光学システム
8日前
マクセル株式会社
映像表示装置
13日前
マクセル株式会社
空中浮遊映像表示装置
22日前
マクセル株式会社
虚像方式映像表示装置
8日前
マクセル株式会社
空中浮遊映像表示装置
7日前
マクセル株式会社
空中浮遊映像表示システム
1か月前
マクセル株式会社
応答出力装置およびシステム
29日前
マクセル株式会社
粉体成型体の製造方法及び製造装置
15日前
マクセル株式会社
応答出力装置および応答出力システム
23日前
マクセル株式会社
樹脂発泡糸の製造方法及びラム押出成形機
22日前
マクセル株式会社
操作方法
15日前
マクセル株式会社
放送システム、放送受信装置、放送局装置および放送方法
1か月前
マクセル株式会社
情報処理端末
15日前
マクセル株式会社
伝送波の処理方法
13日前
マクセル株式会社
印刷用メタルマスク
1か月前
マクセル株式会社
全固体二次電池およびその製造方法
15日前
マクセル株式会社
電磁ノイズ抑制シート及びその製造方法、並びに電磁ノイズ抑制シートを用いたケーブル
1か月前
カンタツ株式会社
光学系
1か月前
住友化学株式会社
偏光板
1か月前
株式会社シグマ
結像光学系
1か月前
株式会社シグマ
結像光学系
20日前
住友化学株式会社
垂直偏光板
1か月前
日本精機株式会社
ミラーユニット
29日前
古河電気工業株式会社
融着機
1か月前
日本電気株式会社
光モジュール
1か月前
個人
多方向視差効果のための微細穴加工
1か月前
豊田合成株式会社
調光装置
7日前
株式会社コシナ
投射ズームレンズ
13日前
日東電工株式会社
導光部材
20日前
京セラ株式会社
光学系
28日前
三菱電機株式会社
レンズモジュール
1か月前
個人
眼鏡装着位置変更具および眼鏡
1か月前
日東電工株式会社
光学積層体
22日前
続きを見る
他の特許を見る