TOP
|
特許
|
意匠
|
商標
特許ウォッチ
Twitter
他の特許を見る
10個以上の画像は省略されています。
公開番号
2025163614
公報種別
公開特許公報(A)
公開日
2025-10-29
出願番号
2024067055
出願日
2024-04-17
発明の名称
応答出力装置およびシステム
出願人
マクセル株式会社
代理人
弁理士法人筒井国際特許事務所
主分類
G06F
16/90 20190101AFI20251022BHJP(計算;計数)
要約
【課題】より好適な人工知能応答出力技術を提供すること。本発明によれば、持続可能な開発目標(SDGs)の「9産業と技術革新の基盤をつくろう」、「11住み続けられるまちづくりを」に貢献する。
【解決手段】応答出力装置は、ユーザの入力に基づいて指示文を生成し、指示文を大規模言語モデル(LLM)へ送信して、LLMからLLMが生成した応答として回答文を取得する制御部と、指示文および回答文を表示する表示部とを備える。LLMとして、使用可能である複数のLLMがある場合に、制御部は、指示文のカテゴリーに応じて複数のLLMから選択されたLLMが生成した応答として回答文を取得する。
【選択図】図3A
特許請求の範囲
【請求項1】
応答出力装置であって、
ユーザの入力に基づいて指示文を生成し、前記指示文を大規模言語モデル(LLM)へ送信して、前記LLMから前記LLMが生成した応答として回答文を取得する制御部と、
前記指示文および前記回答文を表示する表示部と、
を備え、
前記LLMとして、使用可能である複数のLLMがある場合に、
前記制御部は、前記指示文のカテゴリーに応じて前記複数のLLMから選択されたLLMが生成した応答として前記回答文を取得する、
応答出力装置。
続きを表示(約 1,200 文字)
【請求項2】
請求項1に記載の応答出力装置において、
前記LLMとして、使用可能である複数のLLMは、特定のカテゴリーに特化して学習した特化LLMを有する、
応答出力装置。
【請求項3】
請求項2に記載の応答出力装置において、
前記LLMとして、使用可能である複数のLLMは、特定のカテゴリーに特化していない汎用LLMを有する、
応答出力装置。
【請求項4】
請求項1に記載の応答出力装置において、
前記制御部は、前記指示文のカテゴリーを分析し、前記指示文の回答に使用するLLMとして、分析結果のカテゴリーに対応付けられるLLMを選択する、
応答出力装置。
【請求項5】
請求項3に記載の応答出力装置において、
前記制御部は、前記指示文を前記汎用LLMに送信し、
前記汎用LLMが、前記指示文からカテゴリーを分析し、前記指示文の回答に使用するLLMとして、分析結果のカテゴリーに対応付けられるLLMを選択し、選択したLLMに前記指示文を送信する、
応答出力装置。
【請求項6】
請求項3に記載の応答出力装置において、
前記制御部は、前記指示文のカテゴリーを分析するための要求を前記汎用LLMに送信し、前記汎用LLMによる前記カテゴリーの分析結果の応答を受信し、前記指示文の回答に使用するLLMとして、分析結果のカテゴリーに対応付けられるLLMを選択し、選択したLLMに前記指示文を送信する、
応答出力装置。
【請求項7】
請求項3に記載の応答出力装置において、
前記制御部は、前記指示文のカテゴリーを分析し、特定のカテゴリーに分類できない場合には、前記指示文の回答に使用するLLMとして、前記汎用LLMを選択する、
応答出力装置。
【請求項8】
請求項1に記載の応答出力装置において、
前記制御部は、前記指示文のカテゴリーに応じて前記複数のLLMから上限値までで選択された複数のLLMが生成した応答として前記回答文を取得する、
応答出力装置。
【請求項9】
請求項1に記載の応答出力装置において、
前記制御部は、前記指示文のカテゴリーに応じて前記複数のLLMから優先順位を付けて選択された複数のLLMが生成した応答として前記回答文を取得する、
応答出力装置。
【請求項10】
請求項1に記載の応答出力装置において、
前記制御部は、前記指示文の回答に使用するための選択されたLLMの情報、または、前記指示文の回答に使用されたLLMの情報を表示する画面を提供する、
応答出力装置。
(【請求項11】以降は省略されています)
発明の詳細な説明
【技術分野】
【0001】
本発明は、応答出力装置およびシステムに関する。
続きを表示(約 2,700 文字)
【背景技術】
【0002】
言語モデルなどの人工知能を用いた応答出力技術については、例えば、特許文献1に開示されている。
【先行技術文献】
【特許文献】
【0003】
特表2019―528512号公報
【発明の概要】
【発明が解決しようとする課題】
【0004】
しかしながら、特許文献1の開示では、人工知能を用いた応答出力技術をユーザにより好適に提供するための構成などについての考慮は十分ではなかった。
【0005】
本発明の目的は、より好適な応答出力技術を提供することにある。
【課題を解決するための手段】
【0006】
上記課題を解決するために、例えば特許請求の範囲に記載の構成を採用する。本願は上記課題を解決する手段を複数含んでいるが、その一例を挙げるならば、以下のように構成すればよい。応答出力装置であって、ユーザの入力に基づいて指示文を生成し、前記指示文を大規模言語モデル(LLM)へ送信して、前記LLMから前記LLMが生成した応答として回答文を取得する制御部と、前記指示文および前記回答文を表示する表示部と、を備え、前記LLMとして、使用可能である複数のLLMがある場合に、前記制御部は、前記指示文のカテゴリーに応じて前記複数のLLMから選択されたLLMが生成した応答として前記回答文を取得する。
【発明の効果】
【0007】
本発明によれば、より好適な応答出力技術を提供できる。これ以外の課題、構成および効果は、以下の実施形態の説明において明らかにされる。
【図面の簡単な説明】
【0008】
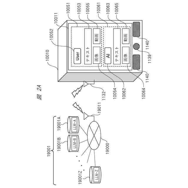
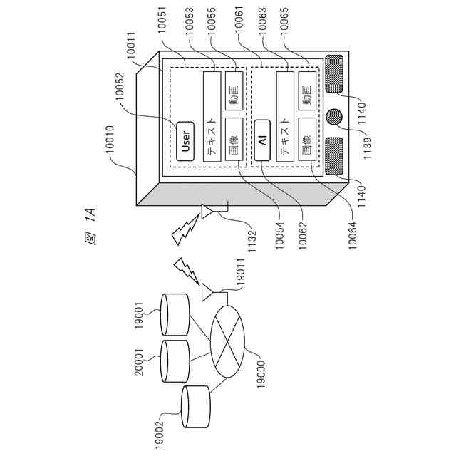
本発明の一実施例に係る人工知能応答出力装置およびシステムの一例を示す図である。
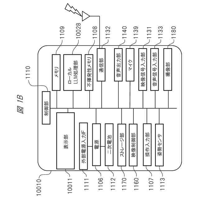
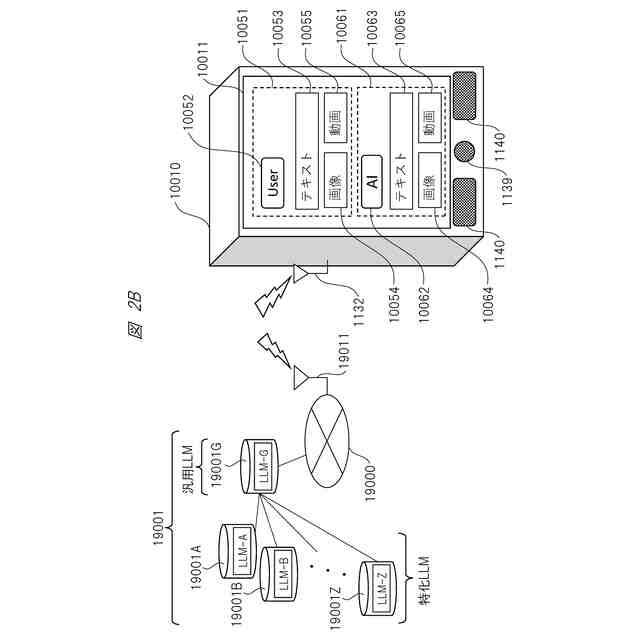
本発明の一実施例に係る人工知能応答出力装置の一例を示す図である。
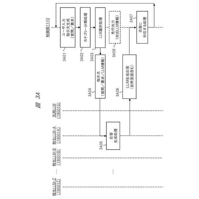
本発明の一実施例に係る人工知能応答出力装置およびシステムの動作の一例を示す図である。
本発明の一実施例に係る応答出力装置およびシステムの一例を示す図である。
本発明の一実施例に係る応答出力装置およびシステムの一例を示す図である。
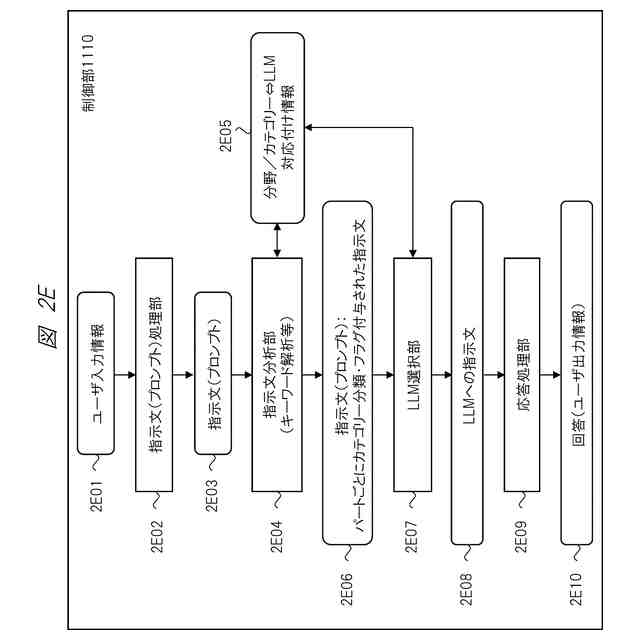
一実施例に係る、分野/カテゴリーの分類の例を示す図である。
各実施例の概要を示す図である。
一実施例に係る、制御部の処理例を示す図である。
一実施例に係る、指示文の分析処理例を示す図である。
一実施例に係る、回答に使用するLLMの情報の提示例を示す図である。
一実施例に係る、回答に使用するLLMの変更の例を示す図である。
一実施例に係る、回答に使用するLLMの推奨の例を示す図である。
一実施例に係る応答出力装置およびシステムの一例を示す図である。
一実施例に係る応答出力システムのシーケンス例を示す図である。
一実施例に係る、カテゴリー分類処理例を示す図である。
一実施例に係る、LLM選択処理例を示す図である。
一実施例に係る、具体的な処理例を示す図である。
一実施例に係る応答出力システムのシーケンス例を示す図である。
一実施例に係る応答出力システムのシーケンス例を示す図である。
一実施例に係る、カテゴリー分類処理例を示す図である。
一実施例に係る、カテゴリー分類処理例を示す図である。
一実施例に係る応答出力システムのシーケンス例を示す図である。
一実施例に係る、具体的な処理例を示す図である。
一実施例に係る応答出力システムのシーケンス例を示す図である。
一実施例に係る、画面例を示す図である。
一実施例に係る、画面例を示す図である。
一実施例に係る、画面例を示す図である。
一実施例に係る応答出力システムのシーケンス例を示す図である。
一実施例に係る、具体的な処理例を示す図である。
一実施例に係る応答出力システムのシーケンス例を示す図である。
一実施例に係る応答出力システムのシーケンス例を示す図である。
一実施例に係る、画面例を示す図である。
一実施例に係る、画面例を示す図である。
一実施例に係る、画面例を示す図である。
一実施例に係る、画面例を示す図である。
一実施例に係る、画面例を示す図である。
一実施例に係る、画面例を示す図である。
【発明を実施するための形態】
【0009】
以下、本発明の実施の形態を図面に基づいて詳細に説明する。なお、本発明は実施例の説明に限定されるものではなく、本明細書に開示される技術的思想の範囲内において当業者による様々な変更および修正が可能である。また、本発明を説明するための全図において、同一の機能を有するものには、同一の符号を付与し、その繰り返しの説明は省略する場合がある。
【0010】
なお、本発明の各実施例に係る人工知能応答出力装置が表示画面を有する場合は、表示装置と呼んでもよい。人工知能応答出力装置が音声出力機能を有する場合は、音声出力装置と呼んでもよい。人工知能応答出力装置は単に情報処理装置と呼んでもよい。人工知能応答出力装置と、大規模言語モデルを保持する大規模言語モデルサーバを含むシステムを人工知能応答出力システムと呼んでもよい。また、人工知能応答出力装置が人工知能である大規模言語モデルの応答サービスをユーザに提供し、ユーザの助力になる場合は、人工知能応答出力装置または人工知能応答出力装置の表示出力は、ユーザにとって人工知能(AI)アシスタントとなることができる。よって、この場合、人工知能応答出力装置はAIアシスタント装置またはAIアシスタント表示装置と呼んでもよい。同様に、この場合、人工知能応答出力装置と、大規模言語モデルを保持する大規模言語モデルサーバを含むシステムをAIアシスタントシステムまたはAIアシスタント表示システムと呼んでもよい。また、この場合、人工知能応答出力装置は、ユーザと人工知能の間のインタフェースとなるので、人工知能インタフェース装置と呼んでもよい。この場合、人工知能応答出力装置と、大規模言語モデルを保持する大規模言語モデルサーバを含むシステムを人工知能インタフェースシステムと呼んでもよい。
(【0011】以降は省略されています)
この特許をJ-PlatPat(特許庁公式サイト)で参照する
関連特許
マクセル株式会社
光学システム
7日前
マクセル株式会社
映像表示装置
12日前
マクセル株式会社
空中浮遊映像表示装置
6日前
マクセル株式会社
虚像方式映像表示装置
7日前
マクセル株式会社
粉体成型体の製造方法及び製造装置
14日前
マクセル株式会社
操作方法
14日前
マクセル株式会社
情報処理端末
14日前
マクセル株式会社
伝送波の処理方法
12日前
マクセル株式会社
全固体二次電池およびその製造方法
14日前
個人
詐欺保険
1か月前
個人
縁伊達ポイン
1か月前
個人
5掛けポイント
19日前
個人
職業自動販売機
12日前
個人
RFタグシート
1か月前
個人
QRコードの彩色
1か月前
個人
ペルソナ認証方式
27日前
個人
情報処理装置
22日前
個人
自動調理装置
29日前
個人
農作物用途分配システム
1か月前
個人
残土処理システム
1か月前
個人
インターネットの利用構造
26日前
個人
サービス情報提供システム
14日前
個人
タッチパネル操作指代替具
1か月前
個人
知的財産出願支援システム
1か月前
個人
スケジュール調整プログラム
1か月前
個人
携帯端末障害問合せシステム
1か月前
個人
エリアガイドナビAIシステム
27日前
キヤノン株式会社
印刷システム
1か月前
株式会社ワコム
電子ペン
21日前
株式会社ケアコム
項目選択装置
22日前
キヤノン株式会社
情報処理装置
20日前
個人
帳票自動生成型SaaSシステム
1か月前
キヤノン株式会社
情報処理装置
6日前
キヤノン株式会社
画像認識装置
6日前
トヨタ自動車株式会社
通知装置
1か月前
キヤノン株式会社
情報処理装置
6日前
続きを見る
他の特許を見る