TOP
|
特許
|
意匠
|
商標
特許ウォッチ
Twitter
他の特許を見る
公開番号
2025161979
公報種別
公開特許公報(A)
公開日
2025-10-24
出願番号
2025141661,2021209222
出願日
2025-08-27,2021-12-23
発明の名称
印刷用メタルマスク
出願人
マクセル株式会社
代理人
主分類
B41N
1/24 20060101AFI20251017BHJP(印刷;線画機;タイプライター;スタンプ)
要約
【課題】印刷層を印刷形成する際の印刷精度をさらに向上させ、高精度でかつ高品位な印刷層を形成できる印刷用メタルマスクを提供する。
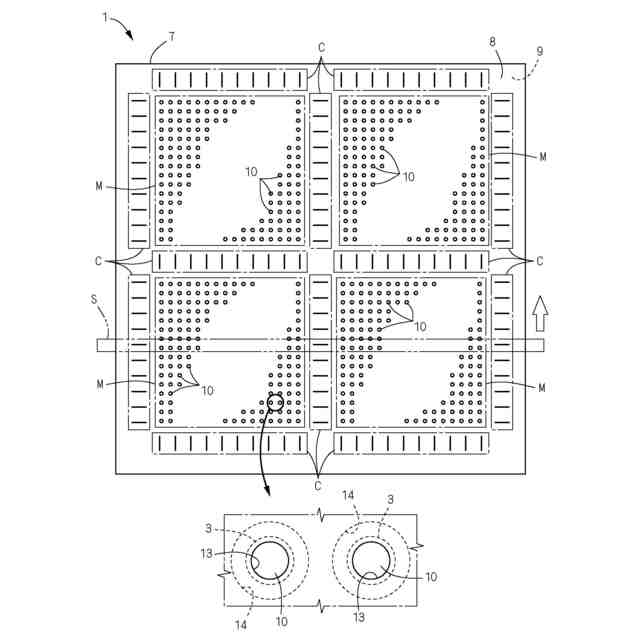
【解決手段】本発明の印刷用メタルマスクは、印刷対象2と正対する裏面9を有するマスク本体7と、マスク本体7を表裏に貫通し、印刷物4が充填される多数の通孔10とを備える。通孔10を、マスク本体7の表面8に開口する第1孔部13と、第1孔部13と連続し、マスク本体7の裏面9に開口する第2孔部14とを有する。第2孔部14がストレート状の孔からなり、第1孔部13が内面の断面形状がR状に形成されている。第1孔部13の孔深さをH1と規定し、第1孔部13の拡大寸法の半分をD5と規定するとき、不等式(H1<D5)を満足するように、第1孔部13が形成されている。
【選択図】図1
特許請求の範囲
【請求項1】
印刷対象(2)と正対する裏面(9)を有するマスク本体(7)と、マスク本体(7)を表裏に貫通し、印刷物(4)が充填される多数の通孔(10)とを備え、
通孔(10)が、マスク本体(7)の表面(8)に開口する第1孔部(13)と、第1孔部(13)と連続し、マスク本体(7)の裏面(9)に開口する第2孔部(14)とを有し、
第2孔部(14)がストレート状の孔からなり、第1孔部(13)が内面の断面形状がR状に形成されており、
第1孔部(13)の孔深さを(H1)と規定し、第1孔部(13)の拡大寸法の半分を(D5)と規定するとき、不等式(H1<D5)を満足するように、第1孔部(13)が形成されていることを特徴とする印刷用メタルマスク。
続きを表示(約 1,100 文字)
【請求項2】
第2孔部(14)がストレート状の孔で構成され、第1孔部(13)がベルマウス状の孔で構成されていることを特徴とする請求項1に記載の印刷用メタルマスク。
【請求項3】
マスク本体(7)の厚み(T)を1とするとき、第2孔部(14)の孔深さで規定される(H2)が、0.2以上、0.6以下に設定されていることを特徴とする請求項1または2に記載の印刷用メタルマスク。
【請求項4】
マスク本体(7)の厚み(T)を1とするとき、第2孔部(14)の孔深さで規定される(H2)が、0.2以上、0.5未満に設定されていることを特徴とする請求項1または2に記載の印刷用メタルマスク。
【請求項5】
マスク本体(7)の表面(8)における第1孔部(13)の開口寸法を(D1)、マスク本体(7)の裏面(9)における第2孔部(14)の開口寸法を(D2)と規定するとき、開口寸法(D1)が開口寸法(D2)の1.5倍以上に設定されていることを特徴とする請求項1から4のいずれかひとつに記載の印刷用メタルマスク。
【請求項6】
マスク本体(7)の厚み(T)が、25μm以下に設定されていることを特徴とする請求項1から5のいずれかひとつに記載の印刷用メタルマスク。
【請求項7】
マスク本体(7)の裏面(9)および第2孔部(14)の孔内面に、印刷物(4)の付着を抑制するコーティング層(17)が形成されていることを特徴とする請求項1から6のいずれかひとつに記載の印刷用メタルマスク。
【請求項8】
印刷対象(2)と正対する裏面(9)を有するマスク本体(7)と、マスク本体(7)を表裏に貫通し、印刷物(4)が充填される多数の通孔(10)とを備え、
通孔(10)が、マスク本体(7)の表面(8)に開口する第1孔部(13)と、第1孔部(13)と連続し、マスク本体(7)の裏面(9)に開口する第2孔部(14)とを有し、
第1孔部(13)がストレート状の孔からなり、第2孔部(14)が内面の断面形状がR状に形成されており、
第2孔部(14)の孔深さを(H2)と規定し、第2孔部(14)の拡大寸法の半分を(D3)と規定するとき、不等式(H2<D3)を満足するように、第2孔部(14)が形成されていることを特徴とする印刷用メタルマスク。
【請求項9】
第1孔部(13)がストレート状の孔で構成され、第2孔部(14)がベルマウス状の孔で構成されていることを特徴とする請求項8に記載の印刷用メタルマスク。
発明の詳細な説明
【技術分野】
【0001】
本発明は、メタルマスクにおいて、印刷層のにじみやかすれ等の印刷不良を改善する技術に関する。本発明のメタルマスクとしては、例えば、基板上にはんだボールを仮接着するためのフラックス(印刷ペースト)の層をスクリーン印刷法により印刷形成する際に用いられる印刷用メタルマスクを挙げることができる。
続きを表示(約 1,600 文字)
【背景技術】
【0002】
印刷用メタルマスクの印刷精度の向上を図る技術として、本出願人は先に特許文献1を提案している。特許文献1では、電鋳法で製作されるメタルマスクに形成される透孔の断面形状を、電鋳面側の孔径が小さく、電鋳母型面側の孔径が大きいテーパー状に形成している。印刷時においては、その電鋳面側が表面側すなわちスキージ面側となり、電鋳母型面側が裏面側すなわち被印刷体(印刷対象)側となる。インキ・ペースト(印刷ペースト)の層(印刷層)を形成する際には、まず、メタルマスクの被印刷体側を被印刷体の上に密着させ、次いで、メタルマスクのスキージ面にインキ・ペーストをのせ、スキージ面上のインキ・ペーストをスキージで延ばしつつ透孔の内部に充填する。透孔に対するインキ・ペーストの充填の完了後、被印刷体からメタルマスクを分離することにより、透孔に対応したインキ・ペーストの印刷層を被印刷体上に印刷形成することができる。
【先行技術文献】
【特許文献】
【0003】
特開平10-305670号公報
【発明の概要】
【発明が解決しようとする課題】
【0004】
特許文献1のメタルマスクでは、透孔を裏面側に広がるテーパー孔とすることでインキ・ペーストの版抜け性が良好になるため、被印刷体からメタルマスクを分離する際に、メタルマスクの分離とともにインキ・ペーストの一部が除去されることを抑えることができるので、にじみやかすれ等の印刷不良が生じることを防ぐことができる。しかし、特許文献1のメタルマスクでは、インキ・ペーストは透孔の孔内面全体と接するため、依然として透孔の内部に充填されたインキ・ペーストが透孔の孔内面に付着して、一部のインキ・ペーストが付着したまま被印刷体からメタルマスクが分離されることがあり、印刷形状が歪になる、あるいは印刷がかすれるなどの印刷不良が生じていた。また、インキ・ペーストの付着状態は、個々の透孔で均一ではないため、各印刷層のインキ・ペーストの量が不均一となる印刷不良も生じていた。
【0005】
本発明は、印刷層を印刷形成する際の印刷精度をさらに向上させ、高精度でかつ高品位な印刷層を形成できる印刷用のメタルマスクを提供することを目的とする。
【課題を解決するための手段】
【0006】
本発明の印刷用メタルマスクは、金属薄板からなり裏面9が印刷対象2と正対するマスク本体7と、マスク本体7を表裏に貫通し、印刷ペースト4が充填される丸孔からなる多数の通孔10とを備える。そして、通孔10が、マスク本体7の表面8に開口する、ストレート状の孔からなる第1孔部13と、内面の断面形状がR状に形成され、第1孔部13と滑らかに連続し、かつ拡大しつつマスク本体7の裏面9に開口する第2孔部14とで構成されていることを特徴とする。
【0007】
第1孔部13がストレート状の丸孔で構成され、第2孔部14がベルマウス状の孔で構成されている形態を採ることができる。
【0008】
マスク本体7の厚みTを1とするとき、第1孔部13の孔深さで規定されるH1は、0.2以上、0.6以下に設定されていることが好ましい。
【0009】
より好ましくは、マスク本体7の厚みTを1とするとき、第1孔部13の孔深さで規定されるH1は、0.2以上、0.5未満に設定することが好ましい。
【0010】
第2孔部14の孔深さをH2と規定し、第2孔部14の拡大寸法の半分をD3と規定するとき、不等式(H2<D3)を満足するように、第2孔部14が形成されている形態を採ることができる。
(【0011】以降は省略されています)
この特許をJ-PlatPat(特許庁公式サイト)で参照する
関連特許
個人
印鑑
2日前
個人
箔熱転写装置
2か月前
キヤノン株式会社
電子機器
1か月前
キヤノン株式会社
記録装置
2か月前
独立行政法人 国立印刷局
貼付装置
3か月前
株式会社リコー
液体吐出装置
3か月前
株式会社リコー
画像形成装置
2か月前
株式会社リコー
印刷システム
2か月前
株式会社リコー
画像形成装置
2か月前
株式会社リコー
画像形成装置
2か月前
独立行政法人 国立印刷局
貼付機構
3か月前
キヤノン株式会社
画像形成装置
3か月前
独立行政法人 国立印刷局
潜像印刷物
3か月前
ブラザー工業株式会社
プリンタ
3か月前
理想科学工業株式会社
印刷装置
2か月前
キヤノン株式会社
画像形成装置
2日前
キヤノン株式会社
画像記録装置
2か月前
独立行政法人 国立印刷局
潜像形成体
2か月前
カシオ計算機株式会社
印刷装置
1か月前
ブラザー工業株式会社
プリンタ
3か月前
キヤノン株式会社
画像形成装置
1か月前
キヤノン株式会社
印刷システム
17日前
ブラザー工業株式会社
液体吐出ヘッド
2か月前
シャープ株式会社
画像形成装置
1か月前
株式会社リコー
画像形成システム
2か月前
大日本印刷株式会社
印刷物
1か月前
ベルク工業有限会社
静電成膜装置
9日前
沖電気工業株式会社
画像形成装置
9日前
大日本印刷株式会社
印刷物
1か月前
個人
小型記録媒体への印刷システム
3か月前
独立行政法人 国立印刷局
偽造防止印刷物
4か月前
独立行政法人 国立印刷局
インキ交換機構
4か月前
株式会社リコー
液体を吐出する装置
2か月前
株式会社リコー
感熱記録媒体
2か月前
キヤノン株式会社
画像形成システム
2か月前
キヤノン株式会社
画像形成システム
2か月前
続きを見る
他の特許を見る