TOP
|
特許
|
意匠
|
商標
特許ウォッチ
Twitter
他の特許を見る
公開番号
2025165473
公報種別
公開特許公報(A)
公開日
2025-11-05
出願番号
2024069512
出願日
2024-04-23
発明の名称
樹脂発泡糸の製造方法及びラム押出成形機
出願人
マクセル株式会社
代理人
個人
,
個人
主分類
D01D
5/08 20060101AFI20251028BHJP(天然または人造の糸または繊維;紡績)
要約
【課題】気泡を含む樹脂発泡糸を容易に製造することができる樹脂発泡糸の製造方法を提供する。
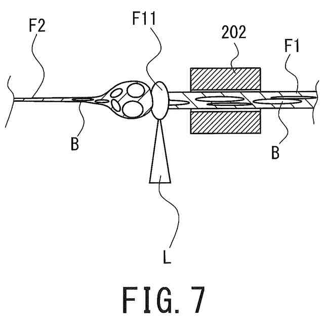
【解決手段】樹脂発泡糸の製造方法は、ラム押出成形機100を準備する工程(S1)と、シリンダ101の内部にペレットP1を投入する工程(S2)と、ペレットP1を溶融する工程(S3)と、溶融樹脂P2をラム押出成形機100により押出成形して一次発泡フィラメントF1を得る工程(S4)と、一次発泡フィラメントF1をレーザーエレクトロスピニング法により二次発泡させて、二次発泡フィラメントF2を得る工程(S6)とを含む。ペレットP1を投入する際、ペレットP1同士の間に隙間が形成されており、その空間に含まれる空気を含ませるようにして溶融樹脂P2をラム押出成形機100によって押出成形することにより、容易に一次発泡フィラメントF1を成形することができる。
【選択図】図1
特許請求の範囲
【請求項1】
シリンダ、ラム及びダイを有するラム押出成形機を準備する工程と、
熱可塑性樹脂からなるペレットを前記シリンダ内部の全体積に対して20体積%~80体積%の充満率となるように前記シリンダ内部に空間を空けて投入する工程と、
前記ペレットを加熱して溶融し、溶融樹脂を生成する工程と、
前記シリンダ内部に前記ラムを挿入し、前記シリンダ内部の空間に含まれる気体を含む前記溶融樹脂を前記ラムによって加圧し、気泡を含む棒状の一次発泡フィラメントを前記ダイから押出成形する工程と、
レーザーエレクトロスピニング法により前記一次発泡フィラメントに対してレーザー光を照射し、長手方向に引き延ばされた前記気泡を含む糸状の二次発泡フィラメントを形成する工程と、を含む、樹脂発泡糸の製造方法。
続きを表示(約 860 文字)
【請求項2】
請求項1に記載の樹脂発泡糸の製造方法であって、
前記一次発泡フィラメントを成形する工程の後、前記二次発泡フィラメントを形成する工程の前に、前記一次発泡フィラメントを延伸する工程を含む、樹脂発泡糸の製造方法。
【請求項3】
請求項1に記載の樹脂発泡糸の製造方法であって、
前記溶融樹脂は、100N~1500Nの荷重で加圧され、前記溶融樹脂を加圧した際に1000Pa・s~2500Pa・sの溶融粘度を有する、樹脂発泡糸の製造方法。
【請求項4】
請求項1に記載の樹脂発泡糸の製造方法であって、
前記溶融樹脂が前記ダイを通過する際のせん断速度は、20sec
-1
~900sec
-1
である、樹脂発泡糸の製造方法。
【請求項5】
請求項1に記載の樹脂発泡糸の製造方法であって、
前記二次発泡フィラメントを形成する工程において、前記レーザー光が照射された前記一次発泡フィラメントのうち前記レーザー光が照射される被照射部の温度は、300℃~400℃である、樹脂発泡糸の製造方法。
【請求項6】
請求項1に記載の樹脂発泡糸の製造方法であって、
前記ラムは、外周面にOリングを有し、
前記Oリングは、前記シリンダの内径よりも0.25~2.0mm大きい外径を有する、樹脂発泡糸の製造方法。
【請求項7】
樹脂発泡糸の製造に用いられるラム押出成形機であって、
円筒形状を有し、一方の開口と前記一方の開口とは反対側の他方の開口とを有するシリンダと、
円柱形状を有し、前記シリンダの一方の開口から挿入されるラムと、
前記シリンダの他方の開口に連通する貫通孔を有するダイとを備え、
前記ラムは、外周面に固定されるOリングを有し、
前記Oリングは、前記シリンダの内径よりも0.25~2.0mm大きい外径を有する、ラム押出成形機。
発明の詳細な説明
【技術分野】
【0001】
本開示は、ラム押出成形法を用いた熱可塑性樹脂製の樹脂発泡糸の製造方法及び樹脂発泡糸の製造に用いられるラム押出成形機に関する。
続きを表示(約 1,400 文字)
【背景技術】
【0002】
従来、熱可塑性樹脂からなる発泡糸は、軽量化を図るという観点から種々の分野で用いられている。
【0003】
特開昭57-193513号公報(特許文献1)は、フィラメントの製造方法を開示している。フィラメントの製造方法は、ポリマーの結晶部を誘電的に加熱すると共に延伸することを特徴としている。これにより、線膨張率が小さく弾性率が大きいフィラメントを製造することができる。
【0004】
特開昭58-109617号公報(特許文献2)は、ポリオキシメチレンロッドの延伸方法を開示している。ポリオキシメチレンロッドの延伸方法では、ポリオキシメチレンロッドを外部加熱を併用しなから誘電的に加熱しながら連続的に延伸している。これにより、引張弾性率が大きいポリオキシメチレンフィラメントを製造することができる。
【0005】
特開昭63-50545号公報(特許文献3)は、熱可塑性重合体発泡糸の製造方法を開示している。熱可塑性重合体発泡糸の製造方法では、含水率0.3~1重量%の熱可塑性重合体の未延伸糸をマイクロ波加熱処理によって、2kg/mm
2
以上の張力で延伸している。これにより、発泡を起こし、糸切れを起こりにくくしている。
【先行技術文献】
【非特許文献】
【0006】
特開昭57-193513号公報
特開昭58-109617号公報
特開昭63-50545号公報
【発明の概要】
【発明が解決しようとする課題】
【0007】
しかしながら、特許文献1のフィラメントの製造方法及び特許文献2のポリオキシメチレンロッドの延伸方法は、そもそも樹脂発泡糸の製造方法を提案するものではなく、高強度及び高弾性率のフィラメントを得ることを目的とするものである。
【0008】
また、特許文献3の熱可塑性重合体発泡糸の製造方法は、樹脂発泡糸の製造方法を提案するものであるが、未延伸糸の含水率を0.3~1重量%に調整するために、未延伸糸を大気中に放置したり、乾燥したり、又は、加湿したりする等の工程を経る必要があり、また、含水率を0.3~1重量%の範囲内に留めておくことは困難であることから、未延伸糸を延伸するまでの負担が大きかった。
【0009】
そこで、本開示は、気泡を含む樹脂発泡糸を容易に製造することができる樹脂発泡糸の製造方法を提供することを課題とする。
【課題を解決するための手段】
【0010】
上記課題を解決するために、本開示は次のように構成した。すなわち、本開示に係る樹脂発泡糸の製造方法は、シリンダ、ラム及びダイを有するラム押出成形機を準備する工程と、熱可塑性樹脂からなるペレットをシリンダ内部の全体積に対して20体積%~80体積%の充満率となるようにシリンダ内部に空間を空けて投入する工程と、ペレットを加熱して溶融し、溶融樹脂を生成する工程と、シリンダ内部にラムを挿入し、前記シリンダ内部の空間に含まれる気体を含む溶融樹脂をラムによって加圧し、気泡を含む棒状の一次発泡フィラメントをダイから押出成形する工程と、レーザーエレクトロスピニング法により一次発泡フィラメントに対してレーザー光を照射し、長手方向に引き延ばされた気泡を含む糸状の二次発泡フィラメントを形成する工程とを含む。
(【0011】以降は省略されています)
この特許をJ-PlatPat(特許庁公式サイト)で参照する
関連特許
マクセル株式会社
電源装置
1か月前
マクセル株式会社
粘着テープ
25日前
マクセル株式会社
映像表示装置
15日前
マクセル株式会社
光学システム
10日前
マクセル株式会社
空中浮遊映像表示装置
9日前
マクセル株式会社
虚像方式映像表示装置
10日前
マクセル株式会社
空中浮遊映像表示装置
24日前
マクセル株式会社
空中浮遊映像表示システム
1か月前
マクセル株式会社
応答出力装置およびシステム
1か月前
マクセル株式会社
粉体成型体の製造方法及び製造装置
17日前
マクセル株式会社
応答出力装置および応答出力システム
25日前
マクセル株式会社
樹脂発泡糸の製造方法及びラム押出成形機
24日前
マクセル株式会社
放送システム、放送受信装置、放送局装置および放送方法
1か月前
マクセル株式会社
操作方法
17日前
マクセル株式会社
情報処理端末
17日前
マクセル株式会社
伝送波の処理方法
15日前
マクセル株式会社
印刷用メタルマスク
1か月前
マクセル株式会社
デジタル放送変調波の処理方法
1日前
マクセル株式会社
全固体二次電池およびその製造方法
17日前
マクセル株式会社
表示装置、ヘッドアップディスプレイ装置、およびデジタルサイネージ
1日前
マクセル株式会社
電磁ノイズ抑制シート及びその製造方法、並びに電磁ノイズ抑制シートを用いたケーブル
1か月前
日本エステル株式会社
単相型熱融着繊維
1日前
日本エステル株式会社
単相型熱融着繊維
9日前
株式会社大林組
繊維材供給システム
1か月前
東レ株式会社
耐炎化繊維束および炭素繊維束の製造方法
1か月前
TMTマシナリー株式会社
紡糸設備
1か月前
TMTマシナリー株式会社
糸巻取機
1か月前
村田機械株式会社
玉揚装置及び自動ワインダ
23日前
トヨタ紡織株式会社
電界紡糸装置
1日前
株式会社カネカ
繊維、及び、繊維構造体
1か月前
マクセル株式会社
樹脂発泡糸の製造方法及びラム押出成形機
24日前
華巧國際有限公司
生体エネルギー混紡撚繊維およびその使用
1か月前
KBセーレン株式会社
繊維、ポリオレフィン繊維、及びポリオレフィン繊維の製造方法
22日前
ユニチカトレーディング株式会社
セルロース繊維製品のリサイクル方法及び短繊維状物
1か月前
株式会社カネカ
繊維及びその製造方法、並びに、繊維構造体及びその製造方法
1か月前
国立大学法人 奈良先端科学技術大学院大学
アガロースナノファイバーおよびその製造方法
22日前
続きを見る
他の特許を見る