TOP
|
特許
|
意匠
|
商標
特許ウォッチ
Twitter
他の特許を見る
10個以上の画像は省略されています。
公開番号
2025169567
公報種別
公開特許公報(A)
公開日
2025-11-14
出願番号
2024074369
出願日
2024-05-01
発明の名称
投射ズームレンズ
出願人
株式会社コシナ
代理人
個人
主分類
G02B
15/20 20060101AFI20251107BHJP(光学)
要約
【課題】 高変倍率,大口径比及び明るさを確保しつつ、変倍時に生じる各諸収差の抑制を良好にバランスさせ、高性能な投射ズームレンズを得る。
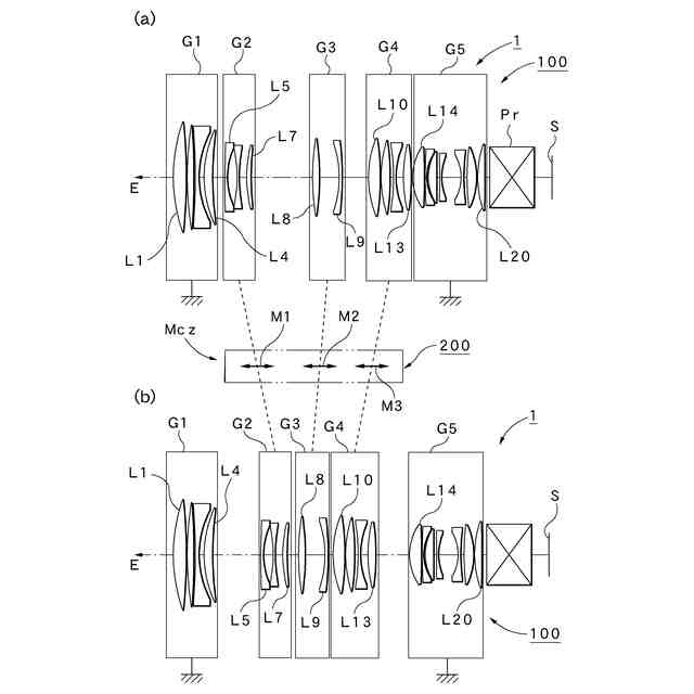
【解決手段】 拡大側Eから縮小側Sへ、正の屈折力を有する第1レンズ群G1,負の屈折力を有する第2レンズ群G2,正の屈折力を有する第3レンズ群G3,正の屈折力を有する第4レンズ群G4,正の屈折力を有する第5レンズ群G5,を順次配したレンズ光学系100と、広角端から望遠端への変倍時に、第1レンズ群G1と第5レンズ群G5を不動とし、第2レンズ群G2を拡大側Eから縮小側Sへ、第3レンズ群G3を縮小側Sから拡大側Eへ、第4レンズ群G4を縮小側Sから拡大側Eへ、それぞれ光軸方向Dcへ独立して移動させるズーミング調整部Mczを含む光学調整系200とを備えるとともに、[条件式1]-[条件式3]を満たす。
【選択図】 図1
特許請求の範囲
【請求項1】
拡大側から縮小側へ順に、第1レンズ群から第5レンズ群までの五つのレンズ群を配してなる投射ズームレンズにおいて、拡大側から縮小側へ、正の屈折力を有する第1レンズ群,負の屈折力を有する第2レンズ群,正の屈折力を有する第3レンズ群,正の屈折力を有する第4レンズ群,正の屈折力を有する第5レンズ群,を順次配したレンズ光学系と、広角端から望遠端への変倍時に、前記第1レンズ群と第5レンズ群を不動とし、前記第2レンズ群を拡大側から縮小側へ、前記第3レンズ群を縮小側から拡大側へ、前記第4レンズ群を縮小側から拡大側へ、それぞれ光軸方向へ独立して移動させるズーミング調整部を含む光学調整系とを備えるとともに、広角側のFナンバをFNw,広角端の全系焦点距離をfw〔mm〕,望遠端の全系焦点距離をft〔mm〕,d線における空気換算のバックフォーカスをBF〔mm〕,としたとき、[条件式1]-[条件式3]を満たすことを特徴とする投射ズームレンズ。
FNw>1.8 … [条件式1]
2.2>(ft/fw) … [条件式2]
2.1>(fw/BF)>1.3 … [条件式3]
続きを表示(約 340 文字)
【請求項2】
前記第5レンズ群は、最も縮小側に、d線の屈折率をndとしたとき、[条件式4]を満たす正レンズを有することを特徴とする請求項1記載の投射ズームレンズ。
nd>1.8 … [条件式4]
【請求項3】
前記第2レンズ群は、d線のアッベ数をνdとしたとき、[条件式5]を満たす単レンズを少なくとも一枚含むことを特徴とする請求項1記載の投射ズームレンズ。
νd>70 … [条件式5]
【請求項4】
前記第4レンズ群は、d線のアッベ数をνdとしたとき、[条件式6]を満たす正レンズを少なくとも一枚含むことを特徴とする請求項1又は2記載の投射ズームレンズ。
νd>70 … [条件式6]
発明の詳細な説明
【技術分野】
【0001】
本発明は、プロジェクタ等の投射光学系を備える光学機器に用いて好適な投射ズームレンズに関する。
続きを表示(約 2,100 文字)
【背景技術】
【0002】
従来、プロジェクタからスクリーン等に画像を投射する投射光学系に備える投射ズームレンズとしては、特許文献1に記載される投射用ズームレンズ及び特許文献2に記載される投射光学系が知られている。
【0003】
特許文献1の投射用ズームレンズは、高いズーム比、小さいFナンバを持ち、倍率色収差が小さく押さえられ、高いMTF特性、解像力特性を備え、表示デバイス側がテレセントリックである投射用ズームレンズの実現を目的としたものであり、具体的には、拡大側から順に、負の第1レンズ群,正の第2レンズ群,第3レンズ群,第4レンズ群,負の第5レンズ群,正または負の第6レンズ群,正の第7レンズ群を配し、第4,第5レンズ群間に開口絞りを配してなり、変倍に際して第2~第6レンズ群が移動し、広角端から望遠端への変倍時に、第1・第2レンズ群間隔、第1・第3レンズ群間隔、第1・第4レンズ群間隔が、何れも減少するように移動が行なわれ、広角端における全系の焦点距離:fw,第1レンズ群の焦点距離:fl,第2レンズ群の焦点距離:f2,第3レンズ群の焦点距離:f3,第4レンズ群の焦点距離:f4が、1.3<|f|/fw<1.9,0.6<f2/f3<3.5,0.4<f4/f3<3.7を満足するように構成されたものである。
【0004】
また、特許文献2の投射光学系は、簡易な構成で、適切な像面湾曲を調整可能な投射光学系の提供を目的としたものであり、具体的には、投射光学系を構成するに際し、光軸上のパワーと最周辺部の子午断面のパワーとが互いに異なる第1レンズと、第1レンズに隣接する第2レンズと、軸外主光線と光軸とが交わる位置に配置された絞りとを有し、第1レンズと第2レンズとの光軸方向における間隔の変化により、投射像の像面湾曲を調整することが可能に構成するとともに、さらに、所定の条件式を満たすように構成されたものである。
【先行技術文献】
【特許文献】
【0005】
特開2013-200454号公報
特開2017-126036号公報
【発明の概要】
【発明が解決しようとする課題】
【0006】
しかし、上述した投射用ズームレンズ及び投射光学系をはじめ、従来の投射ズームレンズは、次のような解決すべき課題も存在した。
【0007】
即ち、この種の投射ズームレンズを装着したプロジェクタの場合、光学画像を遠方のスクリーンに拡大投射するため、使用する投射ズームレンズには、必要な明るさを確保しつつ、必要なズーム比や画角が要求されるとともに、球面収差,コマ収差,非点収差,像面湾曲等の諸収差に対する必要な補正による良好な画質が要求される。また、投射ズームレンズは、プロジェクタ本体の前面から前方に突出した状態で支持されるとともに、複数のレンズ群を有するレンズ光学系及びズーミング調整部等の各種調整部を有する光学調整系を備えるため、投射ズームレンズ全体の小型化,軽量化及び低廉化も要請される。
【0008】
一方、このような各性能は、一部の性能を高めれば、他の性能が損なわれるなど、相互に影響し合う関係にもあるため、要請される各性能を高めることに加え、各要請項目、特に、高変倍率かつ大口径比を確保しつつ、変倍時に生じる球面収差,コマ収差,非点収差,像面湾曲等の諸収差の抑制を良好にバランスさせ、如何に高性能な投射ズームレンズを得れるかという基本的な課題も存在する。
【0009】
本発明は、このような背景技術に存在する課題を解決した投射ズームレンズの提供を目的とするものである。
【課題を解決するための手段】
【0010】
本発明は、上述した課題を解決するため、拡大側Eから縮小側Sへ順に、第1レンズ群G1から第5レンズ群G5までの五つのレンズ群G1-G5を配してなる投射ズームレンズ1を構成するに際して、拡大側Eから縮小側Sへ、正の屈折力を有する第1レンズ群G1,負の屈折力を有する第2レンズ群G2,正の屈折力を有する第3レンズ群G3,正の屈折力を有する第4レンズ群G4,正の屈折力を有する第5レンズ群G5,を順次配したレンズ光学系100と、広角端から望遠端への変倍時に、第1レンズ群G1と第5レンズ群G5を不動とし、第2レンズ群G2を拡大側Eから縮小側Sへ、第3レンズ群G3を縮小側Sから拡大側Eへ、第4レンズ群G4を縮小側Sから拡大側Eへ、それぞれ光軸方向Dcへ独立して移動させるズーミング調整部Mczを有する光学調整系200とを備えるとともに、広角側EのFナンバをFNw,広角端の全系焦点距離をfw〔mm〕,望遠端の全系焦点距離をft〔mm〕,d線における空気換算のバックフォーカスをBF〔mm〕,としたとき、FNw>1.8…[条件式1],2.2>(ft/fw)…[条件式2],2.1>(fw/BF)>1.3…[条件式3]を満たすように構成したことを特徴とする。
(【0011】以降は省略されています)
この特許をJ-PlatPat(特許庁公式サイト)で参照する
関連特許
株式会社コシナ
光学レンズ系
3か月前
株式会社コシナ
投射ズームレンズ
5日前
住友化学株式会社
偏光板
1か月前
カンタツ株式会社
光学系
28日前
株式会社シグマ
結像光学系
22日前
株式会社シグマ
結像光学系
12日前
住友化学株式会社
垂直偏光板
1か月前
日本精機株式会社
ミラーユニット
21日前
古河電気工業株式会社
融着機
28日前
日本電気株式会社
光モジュール
22日前
株式会社コシナ
投射ズームレンズ
5日前
日東電工株式会社
導光部材
12日前
個人
多方向視差効果のための微細穴加工
23日前
京セラ株式会社
光学系
20日前
個人
眼鏡装着位置変更具および眼鏡
1か月前
三菱電機株式会社
レンズモジュール
1か月前
日東電工株式会社
光学積層体
14日前
日本精機株式会社
ヘッドアップディスプレイ
15日前
日本精機株式会社
ヘッドアップディスプレイ
12日前
AGC株式会社
インフィニティミラー
29日前
マクセル株式会社
映像表示装置
5日前
日本精機株式会社
ヘッドアップディスプレイ装置
12日前
新光電気工業株式会社
光導波路部品
1か月前
新光電気工業株式会社
光導波路部品
1か月前
日本精機株式会社
ヘッドアップディスプレイ装置
13日前
株式会社タムロン
ズームレンズ及び撮像装置
20日前
株式会社リコー
光走査装置及び画像形成装置
12日前
スタンレー電気株式会社
透光性樹脂部材
20日前
レーザーテック株式会社
光学装置及び調整方法
12日前
富士通株式会社
波長変換装置および波長変換方法
26日前
株式会社小糸製作所
画像生成装置
7日前
キヤノン電子株式会社
光学部材、撮像装置及び宇宙航行体
1か月前
株式会社小糸製作所
画像投影装置
1か月前
キヤノン電子株式会社
光学部材、撮像装置及び宇宙航行体
1か月前
株式会社小糸製作所
画像表示装置
7日前
マクセル株式会社
空中浮遊映像表示装置
14日前
続きを見る
他の特許を見る