TOP
|
特許
|
意匠
|
商標
特許ウォッチ
Twitter
他の特許を見る
公開番号
2025178931
公報種別
公開特許公報(A)
公開日
2025-12-09
出願番号
2024085809
出願日
2024-05-27
発明の名称
反射型位相差構造体
出願人
ウシオ電機株式会社
代理人
個人
,
個人
主分類
G02B
5/30 20060101AFI20251202BHJP(光学)
要約
【課題】広帯域で均一な特性を有する反射型位相差構造体を提供する。
【解決手段】反射型位相差構造体200は、誘電体スペーサ層220、異方構造層230、誘電体保護層240を備える。異方構造層230は、複数の金属構成要素232および複数の金属構成要素232のギャップを埋める誘電体充填部材234を含む。誘電体スペーサ層220は、金属反射層と異方構造層230の間に挟まれる。金属構成要素232を断面視したとき、上辺の長さをx、底辺の長さをy、1/2高さの幅wとして、
0.6≦x/w≦1.3
1.8×w≦x+y≦2.2×w
の関係が成り立つ。
【選択図】図2
特許請求の範囲
【請求項1】
金属反射層と、
複数の金属構成要素および前記複数の金属構成要素のギャップを埋める誘電体充填部材を含む異方構造層と、
前記金属反射層と前記異方構造層の間に挟まれる誘電体スペーサ層と、
前記異方構造層の上層に形成される誘電体保護層と、
を備え、
前記金属構成要素を断面視したとき、上辺の長さをx、底辺の長さをy、1/2高さの幅wとして、
0.6≦x/w≦1.3
1.8×w≦x+y≦2.2×w
の関係を満たすことを特徴とする反射型位相差構造体。
続きを表示(約 280 文字)
【請求項2】
使用波長が、波長範囲400~1200nmに含まれることを特徴とする請求項1に記載の反射型位相差構造体。
【請求項3】
前記誘電体スペーサ層と前記誘電体充填部材は同一材料であることを特徴とする請求項1または2に記載の反射型位相差構造体。
【請求項4】
前記誘電体充填部材と前記誘電体保護層は同一材料であることを特徴とする請求項1または2に記載の反射型位相差構造体。
【請求項5】
前記金属構成要素の材料は、アルミニウム系金属であることを特徴とする請求項1または2に記載の反射型位相差構造体。
発明の詳細な説明
【技術分野】
【0001】
本開示は、反射型位相差構造体に関する。
続きを表示(約 1,200 文字)
【背景技術】
【0002】
光学分野において、光の位相制御は重要な技術である。光の位相を制御する光学部材として、1/4波長板や1/2波長板などの波長板が広く用いられる。
【0003】
物体表面に、微細加工により異方的な構造を形成することにより、位相差板の機能を実現できる。
【先行技術文献】
【特許文献】
【0004】
特開2015-210479号公報
【発明の概要】
【発明が解決しようとする課題】
【0005】
従来において、反射型の位相差構造体は、使用する材料によって波長特性が決まってしまうため、広帯域で均一な特性を得ることが難しいという問題があった。
【0006】
本開示は係る課題に鑑みてなされたものであり、そのある態様の例示的な目的のひとつは、広帯域で均一な特性を有する反射型位相差構造体の提供にある。
【課題を解決するための手段】
【0007】
本開示のある態様の反射型位相差構造体は、金属反射層と、複数の金属構成要素および複数の金属構成要素のギャップを埋める誘電体充填部材を含む異方構造層と、金属反射層と異方構造層の間に挟まれる誘電体スペーサ層と、異方構造層の上層に形成される誘電体保護層と、を備える。金属構成要素を断面視したとき、上辺の長さをx、底辺の長さをy、1/2高さの幅wとして、
0.6≦x/w≦1.3
1.8×w≦x+y≦2.2×w
の関係を満たす。
【0008】
なお、以上の構成要素を任意に組み合わせたもの、本開示の構成要素や表現を、方法、装置、システムなどの間で相互に置換したものもまた、本開示の態様として有効である。
【発明の効果】
【0009】
本開示のある態様によれば、広帯域で均一な特性を有する反射型位相差構造体を提供できる。
【図面の簡単な説明】
【0010】
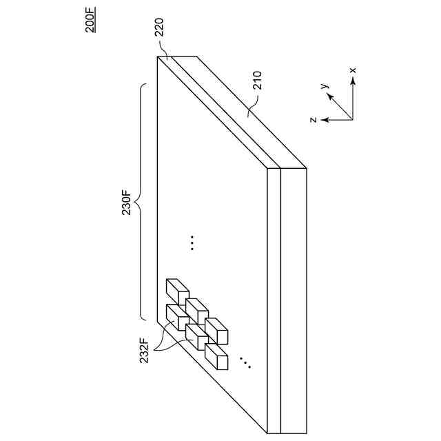
実施形態に係る反射型位相差構造体の斜視図である。
図1の反射型位相差構造体の断面図である。
金属構成要素の断面図である。
反射型位相差構造体のTE反射率およびTM反射率のトップデューティ比x/wの依存性を示す図である。
反射型位相差構造体の位相差特性のトップデューティ比x/wの依存性を示す図である。
反射型位相差構造体の位相差特性のトップデューティ比x/wの依存性を示す図である。
反射型位相差構造体の製造ばらつきに対するマージンを説明する図である。
変形例1に係る反射型位相差構造体の斜視図である。
変形例1に係る異方構造層の設計パラメータを説明する平面図である。
【発明を実施するための形態】
(【0011】以降は省略されています)
この特許をJ-PlatPat(特許庁公式サイト)で参照する
関連特許
株式会社シグマ
結像光学系
1か月前
カンタツ株式会社
撮像レンズ
今日
東京応化工業株式会社
光学製品
1日前
アイカ工業株式会社
反射防止フィルム
8日前
日本電気株式会社
波長可変光源
今日
株式会社コシナ
投射ズームレンズ
27日前
豊田合成株式会社
調光装置
21日前
日東電工株式会社
導光部材
1か月前
新光電気工業株式会社
光導波路部品
1日前
日本精機株式会社
ヘッドアップディスプレイ
1か月前
キヤノン株式会社
表示装置
6日前
キヤノン株式会社
表示装置
13日前
マクセル株式会社
映像表示装置
27日前
京セラ株式会社
アイソレータ
13日前
古河電気工業株式会社
光ファイバケーブル
6日前
日本精機株式会社
ヘッドアップディスプレイ装置
1か月前
矢崎総業株式会社
光ケーブル
2日前
住友化学株式会社
複合偏光板
6日前
古河電気工業株式会社
光ファイバケーブル
6日前
株式会社タムロン
ズームレンズ及び撮像装置
6日前
株式会社リコー
光走査装置及び画像形成装置
1か月前
住友ベークライト株式会社
光学部品の製造方法
6日前
レーザーテック株式会社
光学装置及び調整方法
1か月前
ウシオ電機株式会社
反射型位相差構造体
2日前
古河電気工業株式会社
融着機、ピッチ変換部材
6日前
株式会社吉野工業所
加飾部材
今日
住友化学株式会社
偏光板及び画像表示装置
今日
株式会社小糸製作所
画像投影装置
21日前
キヤノン株式会社
顕微鏡
今日
マクセル株式会社
空中浮遊映像表示装置
今日
マクセル株式会社
空中浮遊映像表示装置
21日前
株式会社小糸製作所
画像生成装置
15日前
日東電工株式会社
光学積層体
6日前
日東電工株式会社
光学積層体
6日前
日東電工株式会社
光学積層体
6日前
株式会社小糸製作所
画像表示装置
29日前
続きを見る
他の特許を見る