TOP
|
特許
|
意匠
|
商標
特許ウォッチ
Twitter
他の特許を見る
10個以上の画像は省略されています。
公開番号
2025168823
公報種別
公開特許公報(A)
公開日
2025-11-12
出願番号
2024073610
出願日
2024-04-30
発明の名称
画像表示装置
出願人
株式会社小糸製作所
代理人
弁理士法人信栄事務所
主分類
G02B
27/01 20060101AFI20251105BHJP(光学)
要約
【課題】透明シートがハウジングの上面部から剥がれることを抑制する画像表示装置を提供する。
【解決手段】ハウジング2は、所定の画像を形成するための光が出射する開口21が形成された上面部20を有する。透明シートは、上面部20の開口21を覆うように、上面部20に配置される。上面部20は、透明シートが載せられる支持面22を有している。支持面22は、湾曲部221と二つの直線部222とを備えている。上面部20の側面を第一方向から見たとき、湾曲部221は、湾曲しており、二つの直線部222は、湾曲部221の両端から湾曲部221の縁部の接線方向に延びている。
【選択図】図2
特許請求の範囲
【請求項1】
虚像として所定の画像を車両の乗員に向けて表示するように構成される画像表示装置であって、
前記所定の画像を形成するための光が出射する開口が形成された上面部を有するハウジングと、
前記上面部の前記開口を覆うように、前記上面部に配置される透明シートと、
を備えており、
前記上面部は、前記透明シートが載せられる支持面を有しており、
前記支持面は、湾曲部と二つの直線部とを備えており、
前記上面部の側面を第一方向から見たとき、前記湾曲部は、湾曲しており、前記二つの直線部は、前記湾曲部の両端から前記湾曲部の縁部の接線方向に延びている、画像表示装置。
続きを表示(約 480 文字)
【請求項2】
前記ハウジングは、前記上面部において上面視で前記第一方向に前記開口を挟む位置に設けられた少なくとも二つの抑え部を備えており、
前記抑え部と前記支持面との間に前記透明シートが挿入される、請求項1に記載の画像表示装置。
【請求項3】
前記抑え部は、
前記上面部から上方に延びる壁部と、
前記壁部の上端から前記透明シートの上面を覆うように前記開口に向けて延びる庇部と、
を有する、請求項2に記載の画像表示装置。
【請求項4】
前記抑え部は、前記庇部の下面から下方に突出する複数のリブ部を有しており、
前記複数のリブ部の下端を結ぶ仮想線は、前記支持面に沿っている、請求項3に記載の画像表示装置。
【請求項5】
前記ハウジングは、前記上面部に設けられた位置決めピンを備えており、
前記上面部の側面を前記第一方向から見たとき、前記位置決めピンは、前記抑え部よりも前記上面部の端部の近くに位置する、請求項2から請求項4のいずれか一項に記載の画像表示装置。
発明の詳細な説明
【技術分野】
【0001】
本開示は、画像表示装置に関する。
続きを表示(約 1,900 文字)
【背景技術】
【0002】
画像生成部(Picture Generation Unit:PGU)から出射された画像を形成する画像光を光学系によりウインドシールドに投影し、当該光をウインドシールドで反射させて車両の前方の現実空間に虚像を重畳させるヘッドアップディスプレイ(Head―Up Display:HUD)を開示している。HUDのハウジングの上面部には、画像光が出射する開口が形成されている。
【先行技術文献】
【特許文献】
【0003】
国際公開第2021/065820号明細書
【発明の概要】
【発明が解決しようとする課題】
【0004】
ところで、HUDのハウジングの上面部に形成された開口から水などの液体がハウジング内部に入り込まないように、当該開口は透明シートで覆われている。透明シートは、排水容易性の観点から、下方に凸となるようにハウジングの上面部に配置される。このため、ハウジングの上面部において透明シートを支持する支持面は、側面から見て、全体的に円弧状に形成されている。しかしながら、透明シートは経年劣化すると剛性が高くなって曲がりにくくなるので、このように支持面が湾曲していると、支持面の縁の部分と透明シートとの間に隙間が生じやすい。
【0005】
本開示は、透明シートがハウジングの上面部から剥がれることを抑制する画像表示装置を提供することを目的とする。
【課題を解決するための手段】
【0006】
本開示の一態様に係る画像表示装置は、
虚像として所定の画像を車両の乗員に向けて表示するように構成される画像表示装置であって、
前記所定の画像を形成するための光が出射する開口が形成された上面部を有するハウジングと、
前記上面部の前記開口を覆うように、前記上面部に配置される透明シートと、
を備えており、
前記上面部は、前記透明シートが載せられる支持面を有しており、
前記支持面は、湾曲部と二つの直線部とを備えており、
前記上面部の側面を第一方向から見たとき、前記湾曲部は、湾曲しており、前記二つの直線部は、前記湾曲部の両端から前記湾曲部の縁部の接線方向に延びている。
【発明の効果】
【0007】
本開示によれば、透明シートがハウジングの上面部から剥がれることを抑制する画像表示装置を提供できる。
【図面の簡単な説明】
【0008】
本開示の実施形態に係るヘッドアップディスプレイ(HUD)を車両の側面側から見た模式図である。
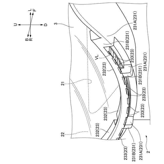
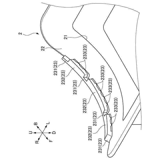
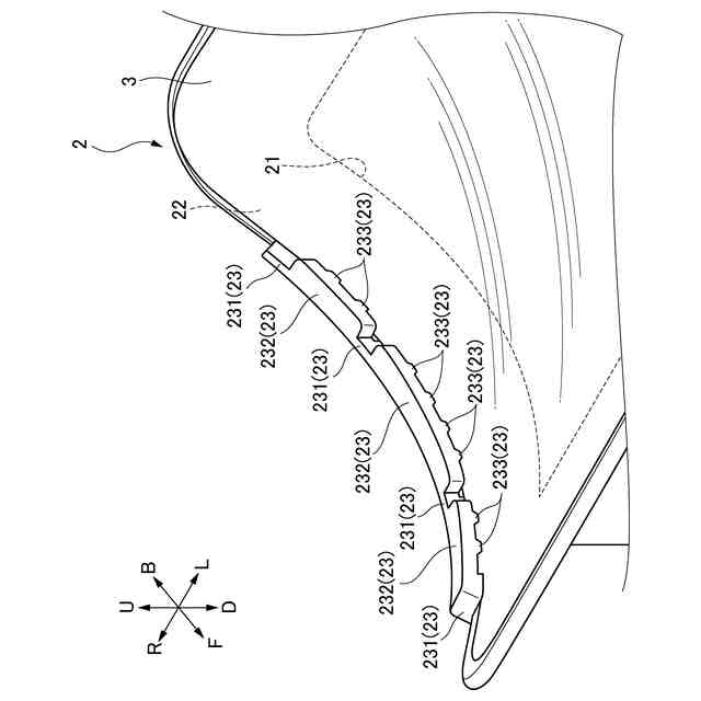
HUDのハウジングの構成を例示する斜視図である。
透明シートが配置されたハウジングの斜視図である。
図2のハウジングの平面図である。
図3における線V-Vに沿う断面を矢印方向から見た構成を示す部分断面図である。
ハウジングの支持面が全体的に湾曲した別構成を示す部分断面図である。
ハウジングの部分拡大斜視図である。
透明シートが配置されたハウジングの部分拡大斜視図である。
ハウジングの抑え部の一部を示す斜視図である。
【発明を実施するための形態】
【0009】
以下、本開示の実施形態について図面を参照しながら説明する。図面において、矢印Uは、図示された構造の上方向を示している。矢印Dは、図示された構造の下方向を示している。矢印Fは、図示された構造の前方向を示している。矢印Bは、図示された構造の後方向を示している。矢印Rは、図示された構造の右方向を示している。矢印Lは、図示された構造の左方向を示している。これらの方向は、図1に示されたHUD1について設定された相対的な方向である。
【0010】
図1は、本開示の実施形態に係るヘッドアップディスプレイ(HUD)を車両100の側面側から見た模式図である。図1に例示されるように、HUD1は、車両100に搭載されている。例えば、HUD1は、車両100のダッシュボード内に配置される。HUD1は、車両100と車両100の乗員との間の視覚的インターフェースとして機能する。具体的には、HUD1は、所定の情報が車両100の外部の現実空間(例えば、車両100の前方の周辺環境)と重畳されるように、当該情報を車両100の乗員に向けて虚像として表示するように構成されている。所定の情報は、静止画または動画(映像)として表示される。HUD1は、画像表示装置の一例である。
(【0011】以降は省略されています)
この特許をJ-PlatPat(特許庁公式サイト)で参照する
関連特許
株式会社小糸製作所
車両用灯具
2日前
株式会社小糸製作所
車両用灯具
1か月前
株式会社小糸製作所
車両用灯具
1か月前
株式会社小糸製作所
車両用灯具
9日前
株式会社小糸製作所
車両用灯具
9日前
株式会社小糸製作所
車両用灯具
1か月前
株式会社小糸製作所
車両用灯具
1か月前
株式会社小糸製作所
車両用灯具
1か月前
株式会社小糸製作所
車両用灯具
1か月前
株式会社小糸製作所
車両用灯具
1か月前
株式会社小糸製作所
車両用灯具
1か月前
株式会社小糸製作所
車両用灯具
1か月前
株式会社小糸製作所
車輌用灯具
1か月前
株式会社小糸製作所
スクリュー
3日前
株式会社小糸製作所
画像投影装置
1か月前
株式会社小糸製作所
画像表示装置
1か月前
株式会社小糸製作所
画像生成装置
11日前
株式会社小糸製作所
画像生成装置
25日前
株式会社小糸製作所
画像表示装置
25日前
株式会社小糸製作所
画像投影装置
17日前
株式会社小糸製作所
虚像表示装置
11日前
株式会社小糸製作所
固定構造及び固定方法
1か月前
株式会社小糸製作所
道路冠水通知システム
1か月前
株式会社小糸製作所
ヘッドアップディスプレイ
25日前
株式会社小糸製作所
電子ユニット及び車両用灯具
1か月前
株式会社小糸製作所
波長変換部材および白色発光素子
10日前
株式会社小糸製作所
レンズに付着する雪を融かす融雪機構
1か月前
株式会社小糸製作所
画像投影ユニットおよび画像投影装置
1か月前
株式会社小糸製作所
車両用灯具及び車両用灯具の製造方法
1か月前
株式会社小糸製作所
開閉機構、車両用灯具及び車両用前照灯
1か月前
株式会社小糸製作所
車両用灯具および車両用灯具の製造方法
11日前
株式会社小糸製作所
半導体発光素子および半導体発光素子の製造方法
9日前
株式会社小糸製作所
画像照射装置、画像投影装置、および画像照射方法
1か月前
株式会社小糸製作所
車両用灯具、ハウジング及びハウジングの製造方法
1か月前
株式会社小糸製作所
半導体成長用基板、半導体発光素子および半導体発光素子の製造方法
9日前
株式会社小糸製作所
車両用赤外線センサ内蔵灯具
1か月前
続きを見る
他の特許を見る