TOP
|
特許
|
意匠
|
商標
特許ウォッチ
Twitter
他の特許を見る
公開番号
2025154543
公報種別
公開特許公報(A)
公開日
2025-10-10
出願番号
2024057601
出願日
2024-03-29
発明の名称
電子ユニット及び車両用灯具
出願人
株式会社小糸製作所
代理人
弁理士法人シリウスIP
,
個人
主分類
F21V
15/01 20060101AFI20251002BHJP(照明)
要約
【課題】電子ユニットのコネクタに相手方の外部コネクタを接続した場合に発生し得る不具合を低減する新たな技術を提供する。
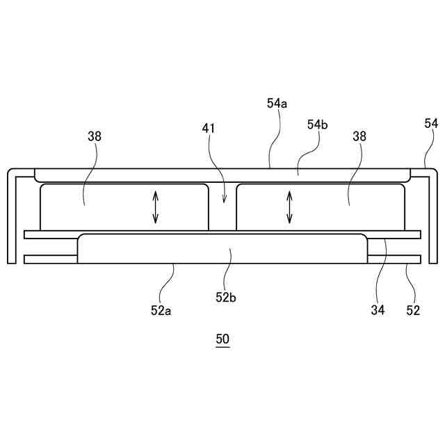
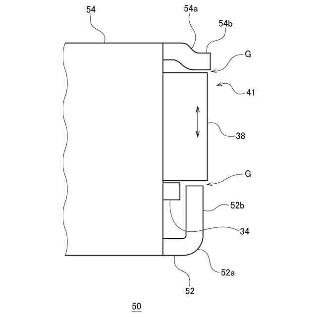
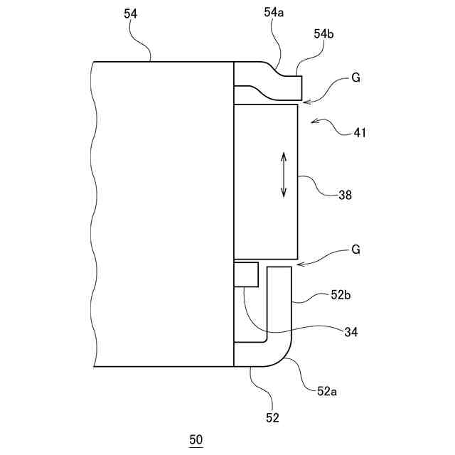
【解決手段】電子ユニット50は、電子部品が搭載された回路基板34と、回路基板34の縁部に搭載された第2のコネクタ38と、回路基板34を載置する第1の筐体と、第1の筐体と組み合わさることで、第2のコネクタ38が露出する開口部41が形成される第2の筐体と、を備える。第1の筐体は、開口部を形成する縁部に第2のコネクタ38に向かって曲がっている第1の屈曲部52bが形成されている。
【選択図】図6
特許請求の範囲
【請求項1】
電子部品が搭載された基板と、
前記基板の縁部に搭載されたコネクタと、
前記基板を載置する第1の筐体と、
前記第1の筐体と組み合わさることで、前記コネクタが露出する開口部が形成される第2の筐体と、を備え、
前記第1の筐体は、前記開口部を形成する縁部に前記コネクタに向かって曲がっている第1の屈曲部が形成されていることを特徴とする電子ユニット。
続きを表示(約 390 文字)
【請求項2】
前記第1の筐体は、金属製のプレートを折り曲げ加工したものであることを特徴とする請求項1に記載の電子ユニット。
【請求項3】
前記第2の筐体は、前記開口部を形成する縁部に前記コネクタに向かって曲がっている第2の屈曲部が形成されていることを特徴とする請求項2に記載の電子ユニット。
【請求項4】
前記第1の屈曲部と前記第2の屈曲部は、前記コネクタを挟んで対向していることを特徴とする請求項3に記載の電子ユニット。
【請求項5】
車両前方を照射する光源と、
前記光源を収容する灯室を構成するランプボディと、
前記ランプボディの内部に固定される請求項1乃至4のいずれか1項に記載の電子ユニットと、を備え、
前記コネクタは、前記光源と接続するハーネスが接続されることを特徴とする車両用灯具。
発明の詳細な説明
【技術分野】
【0001】
本発明は、例えば、車両用灯具の点灯制御を行う電子ユニットに関する。
続きを表示(約 1,000 文字)
【背景技術】
【0002】
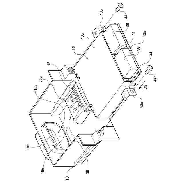
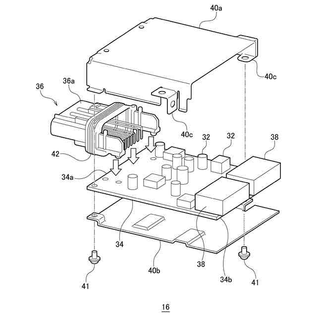
従来、自動車の様々な機能を制御するための回路基板が搭載された電子ユニットが考案されている。電子ユニットは、例えば、電子部品が実装された回路基板と、回路基板の端部に設けられたコネクタと、回路基板を収容する筐体と、を備えている(特許文献1参照)。
【先行技術文献】
【特許文献】
【0003】
特許第5526096号公報
【発明の概要】
【発明が解決しようとする課題】
【0004】
前述の電子ユニットの場合、回路基板に設けられたコネクタに相手側の外部コネクタを挿抜する際にこじりが生じることがある。このこじりによってコネクタを介して回路基板がひずむと、搭載された電子部品が故障する一因となる。
【0005】
本発明はこうした状況に鑑みてなされたものであり、その例示的な目的の一つは、電子ユニットのコネクタに相手方の外部コネクタを接続した場合に発生し得る不具合を低減する新たな技術を提供することにある。
【課題を解決するための手段】
【0006】
上記課題を解決するために、本発明のある態様の電子ユニットは、電子部品が搭載された基板と、基板の縁部に搭載されたコネクタと、基板を載置する第1の筐体と、第1の筐体と組み合わさることで、コネクタが露出する開口部が形成される第2の筐体と、を備える。第1の筐体は、開口部を形成する縁部にコネクタに向かって曲がっている第1の屈曲部が形成されている。
【0007】
この態様によると、基板に搭載されたコネクタに外部のコネクタを接続した状態でコネクタがこじられた場合に、第1の屈曲部でコネクタの動きを規制できるため、基板に発生する応力やひずみを抑制できる。
【0008】
第1の筐体は、金属製のプレートを折り曲げ加工したものであってもよい。これにより、第1の屈曲部を別部品とせずに第1の筐体に形成できる。
【0009】
第2の筐体は、開口部を形成する縁部にコネクタに向かって曲がっている第2の屈曲部が形成されていてもよい。これにより、第1の屈曲部だけでなく第2の屈曲部でもコネクタの動きを規制できるため、複数の方向へのこじりにも対応できる。
【0010】
第1の屈曲部と第2の屈曲部は、コネクタを挟んで対向していてもよい。これにより、こじりによるコネクタの動きをより規制できる。
(【0011】以降は省略されています)
この特許をJ-PlatPat(特許庁公式サイト)で参照する
関連特許
株式会社小糸製作所
車両用灯具
2日前
株式会社小糸製作所
スクリュー
3日前
株式会社小糸製作所
車両用灯具
9日前
株式会社小糸製作所
車両用灯具
9日前
株式会社小糸製作所
虚像表示装置
11日前
株式会社小糸製作所
画像生成装置
11日前
株式会社小糸製作所
画像投影装置
17日前
株式会社小糸製作所
ヘッドアップディスプレイ
25日前
株式会社小糸製作所
波長変換部材および白色発光素子
10日前
株式会社小糸製作所
車両用灯具および車両用灯具の製造方法
11日前
株式会社小糸製作所
半導体発光素子および半導体発光素子の製造方法
9日前
株式会社小糸製作所
半導体成長用基板、半導体発光素子および半導体発光素子の製造方法
9日前
株式会社小糸製作所
車両用灯具システム、配光制御装置および配光制御方法
17日前
個人
室外機器
5か月前
個人
照明装置
1か月前
個人
照明システム
5か月前
個人
消火器設置表示装置
1か月前
個人
車載機器の通気構造
2か月前
個人
気泡を用いた遊具。
7か月前
株式会社遠藤照明
照明器具
6か月前
株式会社遠藤照明
照明装置
2か月前
株式会社小糸製作所
車両用灯具
2か月前
株式会社小糸製作所
車両用灯具
2か月前
個人
LEDライト
5か月前
デンカ株式会社
照明装置
5か月前
能美防災株式会社
表示灯
2か月前
日亜化学工業株式会社
面状光源
10日前
デンカ株式会社
道路用照明
5か月前
フルトラム株式会社
光学機器
2か月前
瀧住電機工業株式会社
ダクトレール
8か月前
株式会社小糸製作所
投光装置
2か月前
株式会社小糸製作所
投光装置
2か月前
アクア株式会社
冷蔵庫
4か月前
株式会社小糸製作所
誘導装置
2か月前
スタンレー電気株式会社
照射用光源
2か月前
株式会社小糸製作所
車両用灯具
5か月前
続きを見る
他の特許を見る