TOP
|
特許
|
意匠
|
商標
特許ウォッチ
Twitter
他の特許を見る
10個以上の画像は省略されています。
公開番号
2025139294
公報種別
公開特許公報(A)
公開日
2025-09-26
出願番号
2024038143
出願日
2024-03-12
発明の名称
誘導装置
出願人
株式会社小糸製作所
代理人
個人
主分類
F21S
2/00 20160101AFI20250918BHJP(照明)
要約
【課題】低コストに構成できるとともに、ユーザを確実に誘導することが可能な誘導装置を提供する。
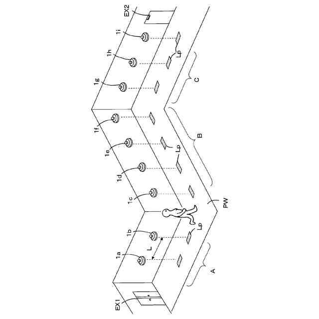
【解決手段】通路を移動するユーザを誘導するために当該通路に沿って配設された複数の誘導装置1を備えており、複数の誘導装置1はそれぞれ所定の周期で、かつ所要の位相差をもって光パターンLpの投影と消影を行う構成とされる。複数の誘導装置1は通路PWに沿ってそれぞれ見通し可能な領域A~C毎に区分され、区分された誘導装置1の個数が最も少ない領域Aに存在する誘導装置1の個数(n=2)が、所定の周期を設定する際の要素の一つとされる。
【選択図】 図1
特許請求の範囲
【請求項1】
通路を移動するユーザを誘導するために当該通路に沿って配設された複数の誘導装置を備えており、複数の各誘導装置はそれぞれ所定の周期で、かつ所要の位相差をもって光パターンの投影と消影を行う構成とされ、前記複数の誘導装置は通路に沿ってそれぞれ見通し可能な領域毎に区分され、区分された誘導装置の個数が最も少ない領域に存在する誘導装置の個数が、前記所定の周期を設定する際の要素の一つとされる誘導装置。
続きを表示(約 730 文字)
【請求項2】
前記所定の周期は光パターンの投影時間と消影時間の和であり、前記誘導装置の個数が当該消影時間を設定する際の要素の一つとして設定される請求項1に記載の誘導装置。
【請求項3】
前記消影時間は、前記誘導装置の個数と、隣接する誘導装置における光パターンの投影タイミングの時間差と、予め設定された調整時間に基づいて設定される請求項2に記載の誘導装置。
【請求項4】
前記時間差は、通路を移動するユーザが隣接する誘導装置の間を移動する時間に設定される請求項3に記載の誘導装置。
【請求項5】
前記調整時間は、光パターンが消影されたときに、一般人が不安を感じることがない時間に設定される請求項3に記載の誘導装置。
【請求項6】
前記誘導装置は、前記通路を照明する照明手段と、前記通路の床面に前記光パターンを投影する投影手段と、前記通路に存在するユーザに向けて音声を発声する発音手段を備え、これら照明手段と投影手段と発音手段が一体に組み付けられている請求項1に記載の誘導装置。
【請求項7】
前記投影手段は、光を出射する光源部と、この光源部から出射された光を透光する透光部を有する投影アウターレンズを備え、当該透光部の形状を光パターンとして投影する構成である請求項6に記載の誘導装置。
【請求項8】
前記通路は施設内の避難用の通路あるいは駐車場の通路であり、前記ユーザは前記通路に存在する車両及び人間であり、前記誘導装置は前記通路の上部に配設され、前記投影手段は前記通路の床面に前記光パターンを投影する投影装置で構成される請求項1に記載の誘導システム。
発明の詳細な説明
【技術分野】
【0001】
本発明は人や車両等のユーザを安全かつ好適に誘導するための誘導装置に関する。
続きを表示(約 1,600 文字)
【背景技術】
【0002】
各種の施設において、施設内に不案内な車両や人等のユーザを目的とする場所に誘導することが好ましい。特許文献1は駐車場の床面に誘導用の光パターンを投影し、これを見たユーザを所要の方向に誘導する誘導技術が提案されている。特許文献2は街路灯や電柱に設けた装置から光スポット等の光パターンを投影し、歩行者が光パターンに沿って誘導する誘導技術が提案されている。
【先行技術文献】
【特許文献】
【0003】
特開2023-69105号公報
特開2006-233503号公報
【発明の概要】
【発明が解決しようとする課題】
【0004】
特許文献1の誘導技術は、所要の光パターンを投影する技術であるが、この種の光パターンの投影装置は液晶表示装置や画像形成装置等で構成されるため高コストである。そのため、広い駐車場の全領域をカバーするように多数の誘導装置を配設する場合にはコスト上の課題が生じる。誘導装置の配設が不十分な場合には、ユーザに対して確実な誘導を行うことが難しい。
【0005】
特許文献2の技術は、誘導方向に沿って複数の光パターンを投影しているが、誘導方向を表示するには不十分である。そのため、特許文献2の技術を施設等における緊急時の避難誘導装置として構成した場合には、ユーザを安全に場所に確実に誘導することが難しい。
【0006】
本発明の目的は、低コストに構成できるとともに、ユーザを確実に誘導することが可能な誘導装置を提供する。
【課題を解決するための手段】
【0007】
本発明は、通路を移動するユーザを誘導するために当該通路に沿って配設された複数の誘導装置を備えており、複数の各誘導装置はそれぞれ所定の周期で、かつ所要の位相差をもって光パターンの投影と消影を行う構成とされる。その上で、複数の誘導装置は通路に沿ってそれぞれ見通し可能な領域毎に区分され、区分された誘導装置の個数が最も少ない領域に存在する誘導装置の個数が、所定の周期を設定する際の要素の一つとされる。
【0008】
好ましくは、所定の周期は光パターンの投影時間と消影時間の和であり、誘導装置の個数が当該消影時間を設定する際の要素の一つとして設定される。例えば、消影時間は、誘導装置の個数と、隣接する誘導装置における光パターンの投影タイミングの時間差と、予め設定された調整時間に基づいて設定される。ここで、時間差は、通路を移動するユーザが隣接する誘導装置の間を移動する時間に設定される。また、調整時間は、光パターンが消影されたときに、一般人が不安を感じることがない時間に設定される。
【発明の効果】
【0009】
本発明の誘導装置は光パターンを投影・消影してユーザを誘導するので投影手段の構成は簡易であり、多数の誘導装置を備えて多数の光パターンを投影しても低コストに構成でき、その一方で多数の光パターンを用いて誘導を行うことによりユーザを確実に誘導することができる。
【図面の簡単な説明】
【0010】
本発明の誘導装置を施設の避難用通路に配設した実施形態の模式図。
通路の一部の概略図。
誘導装置の外観斜視図。
図3のH-H線に沿った水平断面図。
誘導装置の全体の部分分解斜視図。
誘導装置の投影・発音ユニットの部分分解斜視図。
実施形態の光パターンの投影タイミング図。
他の実施形態における図1と同様の模式図。
他の実施形態の光パターンの投影タイミング図。
本発明の誘導装置を駐車場に配設した実施形態の模式図。
【発明を実施するための形態】
(【0011】以降は省略されています)
この特許をJ-PlatPat(特許庁公式サイト)で参照する
関連特許
株式会社小糸製作所
車両用灯具
4日前
株式会社小糸製作所
車輌用灯具
15日前
株式会社小糸製作所
車両用灯具
15日前
株式会社小糸製作所
車両用灯具
15日前
株式会社小糸製作所
車両用灯具
16日前
株式会社小糸製作所
車両用灯具
18日前
株式会社小糸製作所
車両用灯具
22日前
株式会社小糸製作所
車両用灯具
22日前
株式会社小糸製作所
車両用灯具
22日前
株式会社小糸製作所
画像表示装置
9日前
株式会社小糸製作所
画像投影装置
22日前
株式会社小糸製作所
固定構造及び固定方法
2日前
株式会社小糸製作所
道路冠水通知システム
16日前
株式会社小糸製作所
画像照射装置、画像投影装置、および画像照射方法
16日前
株式会社小糸製作所
車両用赤外線センサ内蔵灯具
9日前
個人
照明装置
1日前
個人
室外機器
4か月前
個人
照明システム
4か月前
個人
LED光源基盤
8か月前
個人
消火器設置表示装置
12日前
個人
気泡を用いた遊具。
6か月前
個人
車載機器の通気構造
1か月前
株式会社遠藤照明
照明器具
5か月前
株式会社遠藤照明
照明装置
1か月前
株式会社小糸製作所
車両用灯具
1か月前
株式会社小糸製作所
車両用灯具
1か月前
能美防災株式会社
表示灯
1か月前
個人
LEDライト
4か月前
デンカ株式会社
照明装置
4か月前
デンカ株式会社
道路用照明
4か月前
アクア株式会社
冷蔵庫
3か月前
株式会社小糸製作所
投光装置
1か月前
スタンレー電気株式会社
照射用光源
1か月前
株式会社小糸製作所
誘導装置
1か月前
フルトラム株式会社
光学機器
1か月前
株式会社小糸製作所
投光装置
1か月前
続きを見る
他の特許を見る