TOP
|
特許
|
意匠
|
商標
特許ウォッチ
Twitter
他の特許を見る
公開番号
2025147540
公報種別
公開特許公報(A)
公開日
2025-10-07
出願番号
2024047835
出願日
2024-03-25
発明の名称
車両用灯具
出願人
株式会社小糸製作所
代理人
主分類
F21S
41/50 20180101AFI20250930BHJP(照明)
要約
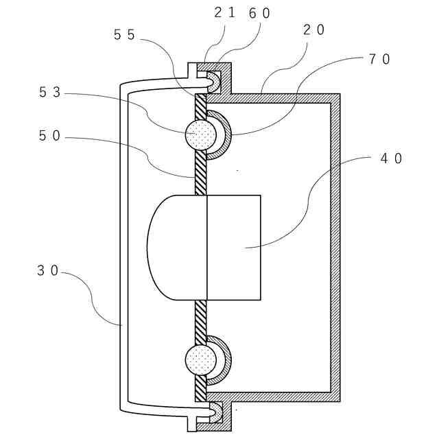
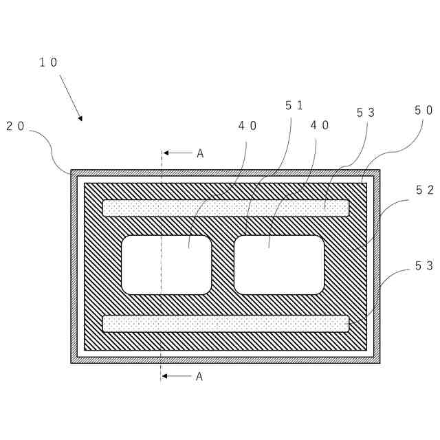
【課題】ポリプロピレン樹脂からなるエクステンションを有する車両用灯具を提供する。
【解決手段】車両用灯具10は、ランプカバー30とランプボディ20によって形成された灯室11内に、ランプユニット40とランプユニット40を囲うエクステンション50とが配置された車両用灯具10において、エクステンション50はポリプロピレンからなる本体部52と、ポリプロピレンを主成分とし、且つ光拡散材を含むレンズ部53とからなり、本体部52レンズ部53の外周領域54を囲むように一体成形されている。
【選択図】図2
特許請求の範囲
【請求項1】
ランプカバーとランプボディとによって形成された灯室内に、ランプユニットと前記ランプユニットを囲うエクステンションとが配置された車両用灯具において、
前記エクステンションはポリプロピレンからなる本体部と、ポリプロピレンを主成分とし、且つ光拡散材を含むレンズ部とからなり、
前記本体部が前記レンズ部の外周領域を囲むように一体成形されている、
車両用灯具。
続きを表示(約 230 文字)
【請求項2】
前記レンズ部は長尺のライトガイドである、請求項1記載の車両用灯具。
【請求項3】
前記ランプボディがポリプロピレンからなり、前記エクステンションが前記ランプボディと溶着し固定されている、請求項1に記載の車両用灯具。
【請求項4】
ポリプロピレンからなるリフレクタを更に有し、前記リフレクタが前記ライトガイドの背面を覆うように前記エクステンションと溶着し固定されている、請求項2に記載の車両用灯具。
発明の詳細な説明
【技術分野】
【0001】
本開示は、車両用灯具の内部に設けられるエクステンションに関する。
続きを表示(約 1,000 文字)
【背景技術】
【0002】
近年、カーボンニュートラルの観点より、車体重量の軽量化による燃費向上を目指し、車両用灯具においても更なる軽量化が求められており、特にエクステンションは、デザイン性の高い意匠部品として車両用灯具における存在感が増している。
【先行技術文献】
【特許文献】
【0003】
特開2012-169115号公報
特開2021-094729号公報
【発明の概要】
【発明が解決しようとする課題】
【0004】
従来より、車両用灯具の意匠部品であるエクステンションは、成形時の寸法安定性、軽量性、透明性などの観点から、特許文献1に示すように、ポリカーボネート樹脂製のエクステンションが知られている。
【0005】
また、特許文献2には、ポリカーボネート樹脂製のエクステンションを構成する非透光部とインナーレンズを構成する透光部とを一体的に成形された二色成形品が開示されている。
【0006】
このようなエクステンションを他の灯具部品との一体化を促進した場合、部品に占めるエクステンションの割合が増大することになり、より軽量な素材の樹脂部品が求められる。
【0007】
本開示は、上記のような事情を鑑みてなされたものであり、車両用灯具の更なる軽量化を図るため、ポリカーボネート樹脂よりも比重が軽いポリプロピレン樹脂をエクステンションに採用し、本体部とレンズ部との一体成形品を促進することにある。
【課題を解決するための手段】
【0008】
本開示の車両用灯具は、ランプカバーとランプボディとよって形成された灯室内に、ランプユニットと前記ランプユニットを囲うエクステンションとが配置された車両用灯具において、前記エクステンションはポリプロピレンからなる本体部と、ポリプロピレンを主成分とし、且つ光拡散材を含むレンズ部とからなり、前記本体部が前記レンズ部の外周領域を囲むように一体成形されている。
【0009】
また、前記レンズ部は長尺のライトガイドであるものとした。
【0010】
また、前記ランプボディがポリプロピレンからなり、前記エクステンションが前記ランプボディと溶着し固定されるものとした。
(【0011】以降は省略されています)
この特許をJ-PlatPat(特許庁公式サイト)で参照する
関連特許
株式会社小糸製作所
表示灯
11日前
株式会社小糸製作所
表示灯
18日前
株式会社小糸製作所
投光装置
27日前
株式会社小糸製作所
誘導装置
11日前
株式会社小糸製作所
投光装置
27日前
株式会社小糸製作所
照明装置
28日前
株式会社小糸製作所
照明装置
28日前
株式会社小糸製作所
車輌用灯具
12日前
株式会社小糸製作所
投影光学系
8日前
株式会社小糸製作所
水分解装置
8日前
株式会社小糸製作所
車両用灯具
5日前
株式会社小糸製作所
表示用灯具
4日前
株式会社小糸製作所
車両用灯具
1か月前
株式会社小糸製作所
表示用灯具
4日前
株式会社小糸製作所
車両用灯具
今日
株式会社小糸製作所
車両用灯具
今日
株式会社小糸製作所
画像投影装置
18日前
株式会社小糸製作所
画像生成装置
27日前
株式会社小糸製作所
画像投影装置
19日前
株式会社小糸製作所
車輌用前照灯
1か月前
株式会社小糸製作所
車両用前照灯
11日前
株式会社小糸製作所
水素発生装置
8日前
株式会社小糸製作所
移動体検出装置
29日前
株式会社小糸製作所
車両検出システム
29日前
株式会社小糸製作所
車両用前照灯ユニット
12日前
株式会社小糸製作所
光学部材及び光軸調整機構
18日前
株式会社小糸製作所
誘導装置及び誘導システム
11日前
株式会社小糸製作所
ナット部材及び光軸調整機構
18日前
株式会社小糸製作所
DDS用担持体およびその製造方法
1か月前
株式会社小糸製作所
発光素子搭載用基板および照明装置
8日前
株式会社小糸製作所
画像投影ユニットおよび画像投影装置
1か月前
株式会社小糸製作所
車両用灯具および車両用灯具の製造方法
11日前
株式会社小糸製作所
素子搭載基板、車両用灯具および素子搭載方法
8日前
株式会社小糸製作所
車両用灯具および車両用灯具に備えられる単一レンズ
8日前
株式会社小糸製作所
車両用センサ装置
今日
株式会社小糸製作所
調整装置、調整システム、制御方法、制御プログラム、および記録媒体
4日前
続きを見る
他の特許を見る