TOP
|
特許
|
意匠
|
商標
特許ウォッチ
Twitter
他の特許を見る
10個以上の画像は省略されています。
公開番号
2025161431
公報種別
公開特許公報(A)
公開日
2025-10-24
出願番号
2024064605
出願日
2024-04-12
発明の名称
車両用灯具
出願人
株式会社小糸製作所
代理人
個人
主分類
F21S
43/241 20180101AFI20251017BHJP(照明)
要約
【課題】 意匠性を向上し得る車両用灯具を提供する。
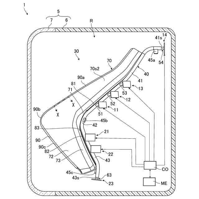
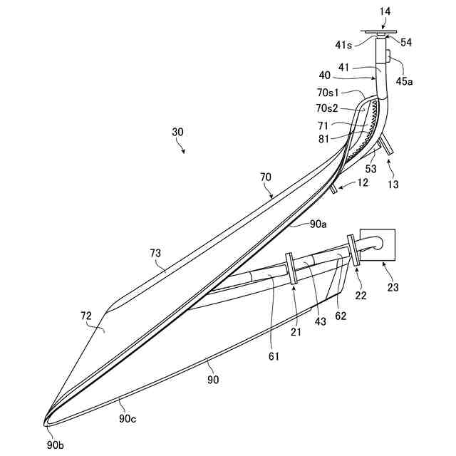
【解決手段】 車両用灯具1は、第1光源11~14、第2光源21~23、導光体ユニット30、及び制御装置CO、を備える。導光体ユニット30は、導光板70、導光板70が接続され湾曲部42を含む長尺導光体40、湾曲部42より一端側において長手方向に沿って間隔をあけて長尺導光体40に接続され第1光源11~14からの光を湾曲部42側に向かって伝搬させる第1入光部51~54、湾曲部42より他端側において長手方向に沿って間隔をあけて長尺導光体40に接続され第2光源21~23からの光を湾曲部42側に向かって伝搬させる第2入光部61~63、を有し、制御装置COは、第1光源11~14及び第2光源21~23において、出射する光が湾曲部42に近い位置で長尺導光体40に入射する光源から順に光を出射するように、第1光源11~14及び第2光源21~23を制御する。
【選択図】 図1
特許請求の範囲
【請求項1】
複数の第1光源と、
複数の第2光源と、
導光体ユニットと、
制御装置と、
を備え、
前記導光体ユニットは、
導光板と、
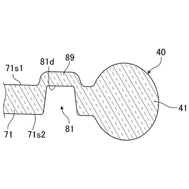
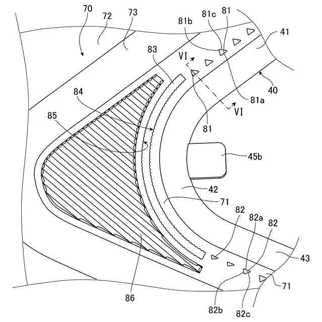
外周面に前記導光板が接続されると共に前記導光板が接続される区間において前記導光板側に凸状に湾曲する湾曲部を含む長尺導光体と、
前記湾曲部より一端側において長手方向に沿って間隔をあけて前記長尺導光体に接続され、前記第1光源からの光を前記湾曲部側に向かって伝搬させる複数の第1入光部と、
前記湾曲部より他端側において長手方向に沿って間隔をあけて前記長尺導光体に接続され、前記第2光源からの光を前記湾曲部側に向かって伝搬させる複数の第2入光部と、
を有し、
前記制御装置は、前記第1光源及び前記第2光源の少なくとも一方において、出射する光が前記湾曲部に近い位置で前記長尺導光体に入射する光源から順に光を出射するように、前記第1光源及び前記第2光源を制御する
ことを特徴とする車両用灯具。
続きを表示(約 800 文字)
【請求項2】
前記湾曲部は、鋭角に曲がる
ことを特徴とする請求項1に記載の車両用灯具。
【請求項3】
前記長尺導光体は、径方向で光学的に接続するように互いに並列される一対の柱状導光体を含み、
前記導光板は、一方の前記柱状導光体に接続され、
前記複数の第1入光部及び前記複数の第2入光部の少なくとも1つは、前記他方の柱状導光体に接続される
ことを特徴とする請求項1に記載の車両用灯具。
【請求項4】
前記制御装置は、前記第1光源及び前記第2光源の少なくとも一方において、出射する光が前記湾曲部に近い位置で前記長尺導光体に入射する光源ほど出射する光の量が少なくなるように、前記第1光源及び前記第2光源を制御する
ことを特徴とする請求項1に記載の車両用灯具。
【請求項5】
前記制御装置は、前記第1光源及び前記第2光源の少なくとも一方において、特定の光源から光を出射させる場合、出射する光の前記長尺導光体に入射する位置が前記特定の光源における当該位置より前記湾曲部に近い光源から出射する光の量が減少するように、前記第1光源及び前記第2光源を制御する
ことを特徴とする請求項1に記載の車両用灯具。
【請求項6】
前記制御装置は、前記特定の光源から光を出射させる場合、前記光源が、前記特定の光源から光を出射させる前において出射する光より減光された光を出射するように、前記第1光源及び前記第2光源を制御する
ことを特徴とする請求項5に記載の車両用灯具。
【請求項7】
前記制御装置は、前記特定の光源から光を出射させる場合、前記光源から出射する光の量がゼロとなるように、前記第1光源及び前記第2光源を制御する
ことを特徴とする請求項5に記載の車両用灯具。
発明の詳細な説明
【技術分野】
【0001】
本発明は、車両用灯具に関する。
続きを表示(約 1,600 文字)
【背景技術】
【0002】
車両用灯具として、光源と、光源からの光を導光する導光体と、を備えるものがあり、下記特許文献1には、このような車両用灯具が開示されている。
【0003】
下記特許文献1の車両用灯具では、導光体は、導光板と、外周面に導光板の端部が接続される柱状の長尺導光体と、から成る。光源からの光は、長尺導光体を一端側から他端側に向かってを伝搬する。この長尺導光体を伝搬する光が導光板に導光され、導光板は、長尺導光体から導光される光を長尺導光体側と反対側の端面から出射する。
【先行技術文献】
【特許文献】
【0004】
国際公開第2023/157585号
【発明の概要】
【発明が解決しようとする課題】
【0005】
このような導光板と長尺導光体とから成る導光体において、導光板の光を出射する領域が、長尺導光体の長手方向に沿う方向における導光板の中央側から外側に向かって広がるようにして、意匠性を向上したいとの要望がある。
【0006】
そこで本発明は、意匠性を向上し得る車両用灯具を提供することを目的とする。
【課題を解決するための手段】
【0007】
上記目的の達成のため、本発明の車両用灯具は、複数の第1光源と、複数の第2光源と、導光体ユニットと、制御装置と、を備え、前記導光体ユニットは、導光板と、外周面に前記導光板が接続されると共に前記導光板が接続される区間において前記導光板側に凸状に湾曲する湾曲部を含む長尺導光体と、前記湾曲部より一端側において長手方向に沿って間隔をあけて前記長尺導光体に接続され、前記第1光源からの光を前記湾曲部側に向かって伝搬させる複数の第1入光部と、前記湾曲部より他端側において長手方向に沿って間隔をあけて前記長尺導光体に接続され、前記第2光源からの光を前記湾曲部側に向かって伝搬させる複数の第2入光部と、を有し、前記制御装置は、前記第1光源及び前記第2光源の少なくとも一方において、出射する光が前記湾曲部に近い位置で前記長尺導光体に入射する光源から順に光を出射するように、前記第1光源及び前記第2光源を制御することを特徴とするものである。
【0008】
この車両用灯具では、第1光源及び第2光源からの光は、長尺導光体を伝搬する。導光板は、長尺導光体の外周面に接続されるため、第1光源及び第2光源からの光を出射し得る。上記のように導光板側に凸状に湾曲する湾曲部を含む長尺導光体を伝搬する光は、湾曲部から導光板に多くの光が伝搬し易い傾向にあり、湾曲部を超えて反対側まで伝搬し難い傾向にある。この車両用灯具では、第1光源からの光は、一端側から湾曲部側に向かって伝搬し、第2光源からの光は、他端側から湾曲部側に向かって伝搬する。このため、この車両用灯具によれば、第1光源からの光が湾曲部を超えて他端側に伝搬し難くし得ると共に、第2光源からの光が湾曲部を超えて一端側に伝搬し難くし得る。このため、導光板のうち長尺導光体の長手方向に沿う方向における湾曲部より一端側から第1光源からの光が出射し、他端側から第2光源からの光が出射するようにし得る。また、この車両用灯具では、第1光源及び第2光源の少なくとも一方において、出射する光が湾曲部に近い位置で長尺導光体に入射する光源から順に光を出射する。このため、この車両用灯具によれば、導光板の光を出射する領域が、湾曲部側から一端側及び他端側に向かって広がるようにし得、意匠性を向上し得る。
【0009】
前記湾曲部は、鋭角に曲がってもよい。
【0010】
このような構成によれば、長尺導光体を伝搬する光が湾曲部から導光板により伝搬し易くなる。このため、導光板のうち湾曲部より一端側から第1光源からの光が出射し、他端側から第2光源からの光が出射するようにし易くし得る。
(【0011】以降は省略されています)
この特許をJ-PlatPat(特許庁公式サイト)で参照する
関連特許
株式会社小糸製作所
車両用灯具
1か月前
株式会社小糸製作所
車両用灯具
21日前
株式会社小糸製作所
車両用灯具
1か月前
株式会社小糸製作所
車両用灯具
1か月前
株式会社小糸製作所
車両用灯具
28日前
株式会社小糸製作所
車両用灯具
28日前
株式会社小糸製作所
車両用灯具
28日前
株式会社小糸製作所
車両用灯具
24日前
株式会社小糸製作所
車両用灯具
22日前
株式会社小糸製作所
車両用灯具
21日前
株式会社小糸製作所
車輌用灯具
21日前
株式会社小糸製作所
車両用灯具
1か月前
株式会社小糸製作所
車両用灯具
10日前
株式会社小糸製作所
車両用灯具
1か月前
株式会社小糸製作所
虚像表示装置
1か月前
株式会社小糸製作所
照明表示装置
1か月前
株式会社小糸製作所
画像表示装置
15日前
株式会社小糸製作所
画像投影装置
28日前
株式会社小糸製作所
画像表示装置
2日前
株式会社小糸製作所
表示システム
1か月前
株式会社小糸製作所
画像生成装置
2日前
株式会社小糸製作所
道路冠水通知システム
22日前
株式会社小糸製作所
固定構造及び固定方法
8日前
株式会社小糸製作所
表示制御装置及び表示装置
1か月前
株式会社小糸製作所
ヘッドアップディスプレイ
2日前
株式会社小糸製作所
電子ユニット及び車両用灯具
1か月前
株式会社小糸製作所
車両用灯具及び車両用灯具の製造方法
1か月前
株式会社小糸製作所
画像投影ユニットおよび画像投影装置
1か月前
株式会社小糸製作所
レンズに付着する雪を融かす融雪機構
1か月前
株式会社小糸製作所
開閉機構、車両用灯具及び車両用前照灯
1か月前
株式会社小糸製作所
車両用灯具、ハウジング及びハウジングの製造方法
1か月前
株式会社小糸製作所
画像照射装置、画像投影装置、および画像照射方法
22日前
株式会社小糸製作所
光源ユニット、光源ユニットの製造方法、および車両用灯具
1か月前
株式会社小糸製作所
配光制御装置、配光制御プログラムおよび車両用前照灯システム
1か月前
株式会社小糸製作所
車両用センサ装置
1か月前
株式会社小糸製作所
車両用赤外線センサ内蔵灯具
15日前
続きを見る
他の特許を見る