TOP
|
特許
|
意匠
|
商標
特許ウォッチ
Twitter
他の特許を見る
10個以上の画像は省略されています。
公開番号
2025165336
公報種別
公開特許公報(A)
公開日
2025-11-04
出願番号
2024069393
出願日
2024-04-22
発明の名称
車両用灯具
出願人
株式会社小糸製作所
代理人
個人
主分類
F21S
41/265 20180101AFI20251027BHJP(照明)
要約
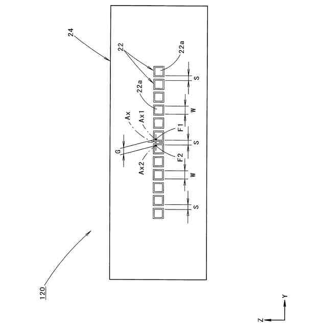
【課題】左右方向に並列に配置された複数の発光素子からの出射光を、投影レンズを介して灯具前方へ向けて照射することにより、横長の配光パターンを形成するように構成された車両用灯具において、その照射光による配光制御を適切に行うことができる構成とする。
【解決手段】複数の発光素子22として、同一サイズの発光面22aを有する構成とした上で、その発光面22aを同一方向へ向けた状態で左右方向に間隔をおいて並列に配置された構成とする。また、投影レンズ30として、第1の点F1を後側焦点とする第1投影レンズ部30Lと、第1の点F1から左右方向に離れた第2の点F2を後側焦点とする第2投影レンズ部30Rとを備えた構成とした上で、第1の点F1と第2の点F2との間隔Gが発光面22aの左右幅Wおよび発光面22a相互間の間隔Sと同じ値に設定されたものとする。
【選択図】図3
特許請求の範囲
【請求項1】
複数の発光素子と投影レンズとを備え、上記複数の発光素子からの出射光を上記投影レンズを介して灯具前方へ向けて照射することにより横長の配光パターンを形成するように構成された車両用灯具において、
上記複数の発光素子は、同一サイズの発光面を有しており、かつ、上記発光面を同一方向へ向けた状態で左右方向に間隔をおいて並列に配置されており、
上記投影レンズは、第1の点を後側焦点とする第1投影レンズ部と上記第1の点から左右方向に離れた第2の点を後側焦点とする第2投影レンズ部とを備えており、かつ、上記第1の点と上記第2の点との間隔が上記発光面の左右幅以下の値に設定されている、ことを特徴とする車両用灯具。
続きを表示(約 450 文字)
【請求項2】
上記投影レンズは、上記第1投影レンズ部が複数の第1レンズ領域で構成されるとともに上記第2投影レンズ部が複数の第2レンズ領域で構成されており、かつ、上記複数の第1レンズ領域と上記複数の第2レンズ領域とが交互に配置された構成となっている、ことを特徴とする請求項1記載の車両用灯具。
【請求項3】
上記複数の第1レンズ領域と上記複数の第2レンズ領域とが左右方向に交互に配置されている、ことを特徴とする請求項2記載の車両用灯具。
【請求項4】
上記投影レンズは、上記複数の第1レンズ領域と上記複数の第2レンズ領域とが上記第1の点と上記第2の点との中点に関して左右対称の位置関係で配置された構成となっている、ことを特徴とする請求項3記載の車両用灯具。
【請求項5】
上記複数の第1および第2レンズ領域は、上記投影レンズの前面が不連続な凸曲面状に形成されることによって構成されている、ことを特徴とする請求項1または2記載の車両用灯具。
発明の詳細な説明
【技術分野】
【0001】
本願発明は、プロジェクタ型の車両用灯具に関するものである。
続きを表示(約 1,100 文字)
【背景技術】
【0002】
従来より、プロジェクタ型の車両用灯具として、左右方向に並列に配置された複数の発光素子からの出射光を、投影レンズを介して灯具前方へ向けて照射することにより、横長の配光パターンを形成するように構成されたものが知られている。
【0003】
「特許文献1」には、このような車両用灯具における投影レンズの構成として、その前面に複数の拡散レンズ素子が縦縞状に形成されたものが記載されている。
【0004】
この「特許文献1」に記載された車両用灯具においては、複数の発光素子の同時点灯によって横長の配光パターンを形成するようにした上で、これら複数の発光素子のうち一部の発光素子を消灯させることによって配光パターンの一部を欠落させ、これにより対向車ドライバー等にグレアを与えてしまうことなく前方照射を効率良く行い得るように構成されている。
【先行技術文献】
【特許文献】
【0005】
特開2019-75232号公報
【発明の概要】
【発明が解決しようとする課題】
【0006】
上記「特許文献1」に記載された構成を採用することにより、複数の発光素子相互間に多少の隙間が存在していても、これら複数の発光素子の同時点灯によって、その光源像の集合体として連続的な横長の配光パターンを形成することが可能となる。
【0007】
しかしながら、このような構成を採用した場合には、複数の光源像の各々はその両側端縁の輪郭がボケたものとなってしまうので、複数の発光素子のうち一部の発光素子を消灯させることによって配光パターンの一部を欠落させたとき、その欠落部分の両側端縁の輪郭もボケたものとなってしまう。
【0008】
このようなことから、複数の発光素子のうち一部の発光素子を消灯させたときであっても適切な配光制御を行い得る構成とすることが、対向車ドライバー等にグレアを与えてしまうことなく前方照射を効率良く行うという観点から望まれる。
【0009】
本願発明は、このような事情に鑑みてなされたものであって、左右方向に並列に配置された複数の発光素子からの出射光を、投影レンズを介して灯具前方へ向けて照射することにより、横長の配光パターンを形成するように構成された車両用灯具において、その照射光による配光制御を適切に行うことができる車両用灯具を提供することを目的とするものである。
【課題を解決するための手段】
【0010】
本願発明は、投影レンズの構成に工夫を施すことにより、上記目的達成を図るようにしたものである。
(【0011】以降は省略されています)
この特許をJ-PlatPat(特許庁公式サイト)で参照する
関連特許
株式会社小糸製作所
車両用灯具
今日
株式会社小糸製作所
車両用灯具
25日前
株式会社小糸製作所
車両用灯具
26日前
株式会社小糸製作所
車輌用灯具
11日前
株式会社小糸製作所
車両用灯具
11日前
株式会社小糸製作所
車両用灯具
11日前
株式会社小糸製作所
車両用灯具
25日前
株式会社小糸製作所
車両用灯具
12日前
株式会社小糸製作所
車両用灯具
14日前
株式会社小糸製作所
車両用灯具
18日前
株式会社小糸製作所
車両用灯具
18日前
株式会社小糸製作所
車両用灯具
18日前
株式会社小糸製作所
照明表示装置
25日前
株式会社小糸製作所
画像投影装置
18日前
株式会社小糸製作所
画像表示装置
5日前
株式会社小糸製作所
道路冠水通知システム
12日前
株式会社小糸製作所
電子ユニット及び車両用灯具
25日前
株式会社小糸製作所
レンズに付着する雪を融かす融雪機構
21日前
株式会社小糸製作所
画像投影ユニットおよび画像投影装置
21日前
株式会社小糸製作所
車両用灯具及び車両用灯具の製造方法
25日前
株式会社小糸製作所
開閉機構、車両用灯具及び車両用前照灯
25日前
株式会社小糸製作所
車両用灯具、ハウジング及びハウジングの製造方法
25日前
株式会社小糸製作所
画像照射装置、画像投影装置、および画像照射方法
12日前
株式会社小糸製作所
光源ユニット、光源ユニットの製造方法、および車両用灯具
26日前
株式会社小糸製作所
配光制御装置、配光制御プログラムおよび車両用前照灯システム
25日前
株式会社小糸製作所
車両用赤外線センサ内蔵灯具
5日前
個人
室外機器
4か月前
個人
照明システム
4か月前
個人
車載機器の通気構造
1か月前
個人
消火器設置表示装置
8日前
個人
気泡を用いた遊具。
6か月前
株式会社遠藤照明
照明器具
5か月前
株式会社遠藤照明
照明装置
1か月前
能美防災株式会社
表示灯
1か月前
株式会社小糸製作所
車両用灯具
28日前
デンカ株式会社
照明装置
4か月前
続きを見る
他の特許を見る