TOP
|
特許
|
意匠
|
商標
特許ウォッチ
Twitter
他の特許を見る
10個以上の画像は省略されています。
公開番号
2025149548
公報種別
公開特許公報(A)
公開日
2025-10-08
出願番号
2024050270
出願日
2024-03-26
発明の名称
光学機器
出願人
フルトラム株式会社
代理人
個人
主分類
F21S
8/02 20060101AFI20251001BHJP(照明)
要約
【課題】光の利用効率の低下を抑えて、壁面を効率よく照らせるようにする。
【解決手段】天井2又は床の光源3からの光を壁面4に照射するため光学機器1であって、前記光源3の位置に一の焦点101aを合わせた第1の楕円体100に沿う曲面の第1の反射面9と、前記第1の楕円体200の前記一の焦点101aと共通焦点とした一の焦点201aを有する第2の楕円体200に沿う曲面の第2の反射面10と、前記第1の楕円体100の他の焦点101bと共通焦点とした一の焦点301aを有する第3の楕円体300に沿う曲面の第3の反射面12とを有する。
【選択図】図2A
特許請求の範囲
【請求項1】
天井又は床の光源からの光を壁面に照射するため光学機器であって、
一対の焦点のうちのいずれか一方を前記光源の位置に合わせた楕円体に沿う曲面の反射面と、
一対の焦点のうちのいずれか一方を前記楕円体と共通焦点とした他の楕円体に沿う曲面の反射面とを有することを特徴とする光学機器。
続きを表示(約 890 文字)
【請求項2】
天井又は床の光源からの光を壁面に照射するため光学機器であって、
前記光源の位置に一の焦点を合わせた第1の楕円体に沿う曲面の第1の反射面と、
前記第1の楕円体の前記一の焦点と共通焦点とした一の焦点を有する第2の楕円体に沿う曲面の第2の反射面と、
前記第1の楕円体の他の焦点と共通焦点とした一の焦点を有する第3の楕円体に沿う曲面の第3の反射面とを有することを特徴とする光学機器。
【請求項3】
前記第1の楕円体の前記他の焦点は、前記第1の楕円体の前記一の焦点よりも前記光源から離れた位置で前記壁面に近い位置にあり、
前記第2の楕円体の他の焦点は、前記第2の楕円体の前記一の焦点よりも前記光源から離れた位置で前記壁面に近い位置にあり、
前記第3の楕円体の他の焦点は、前記第3の楕円体の前記一の焦点よりも前記光源から離れた位置で前記壁面に近い位置にあることを特徴とする請求項2に記載の光学機器。
【請求項4】
前記第2の楕円体の他の焦点は、前記第1の楕円体の前記他の焦点よりも前記光源から離れた位置で前記前記壁面に近い位置にあり、
前記第3の楕円体の他の焦点は、前記第2の楕円体の前記他の焦点よりも前記光源から離れた位置で前記前記壁面に近い位置にあることを特徴とする請求項2又は3に記載の光学機器。
【請求項5】
前記第1の反射面は、前記壁面の方向に向くように配置され、
前記第2の反射面は、前記壁面の方向に向くように配置されるとともに、前記第1の反射面よりも前記光源から離れた位置で、前記第1の反射面と隣接するように配置され、
前記第3の反射面は、前記第1の反射面及び前記第2の反射面と逆向きに配置されることを特徴とする請求項2又は3に記載の光学機器。
【請求項6】
前記第1の反射面及び前記第2の反射面と逆向きに配置された、前記第2の楕円体に沿う曲面の他の第2の反射面をさらに有することを特徴とする請求項5に記載の光学機器。
発明の詳細な説明
【技術分野】
【0001】
本発明は、ウォールウォッシャー用の光学機器に関する。
続きを表示(約 2,000 文字)
【背景技術】
【0002】
天井や床の光源からの光を壁面に照射するウォールウォッシャーと呼ばれる照明方式がある。ウォールウォッシャー用の照明器具としては、反射板や拡散板を利用するものが提案されている(例えば特許文献1を参照)。
【先行技術文献】
【特許文献】
【0003】
特開2017-130366号公報
【発明の概要】
【発明が解決しようとする課題】
【0004】
ウォールウォッシャーを実現する際には、光源からの光を意図した方向に進行させて、光の利用効率の低下を抑えて、壁面を効率よく照らせるようにするのが理想的である。
【0005】
本発明は上記のような点に鑑みてなされたものであり、光の利用効率の低下を抑えて、壁面を効率よく照らせるようにすることを目的とする。
【課題を解決するための手段】
【0006】
本発明の光学機器は、天井又は床の光源からの光を壁面に照射するため光学機器であって、一対の焦点のうちのいずれか一方を前記光源の位置に合わせた楕円体に沿う曲面の反射面と、一対の焦点のうちのいずれか一方を前記楕円体と共通焦点とした他の楕円体に沿う曲面の反射面とを有することを特徴とする。
また、本発明の光学機器は、天井又は床の光源からの光を壁面に照射するため光学機器であって、前記光源の位置に一の焦点を合わせた第1の楕円体に沿う曲面の第1の反射面と、前記第1の楕円体の前記一の焦点と共通焦点とした一の焦点を有する第2の楕円体に沿う曲面の第2の反射面と、前記第1の楕円体の他の焦点と共通焦点とした一の焦点を有する第3の楕円体に沿う曲面の第3の反射面とを有することを特徴とする。
【発明の効果】
【0007】
本発明によれば、光の利用効率の低下を抑えて、壁面を効率よく照らすことが可能になる。
【図面の簡単な説明】
【0008】
第1の実施形態に係る光学機器の外観図である。
第1の実施形態に係る光学機器の断面図である。
第1の実施形態に係る光学機器の断面斜視図である。
第1の実施形態における壁面への照射光を説明するための図である。
第1の実施形態における壁面への照射光を説明するための図である。
第1の実施形態における壁面への照射光を説明するための図である。
第1の実施形態における壁面への照射光を説明するための図である。
第1の実施形態における壁面への照射光を説明するための図である。
第1の実施形態における壁面への照射光を説明するための図である。
第2の実施形態に係る光学機器の断面図である。
第2の実施形態に係る光学機器の断面斜視図である。
第2の実施形態における壁面への照射光を説明するための図である。
【発明を実施するための形態】
【0009】
以下、添付図面を参照して、本発明の好適な実施形態について説明する。
[第1の実施形態]
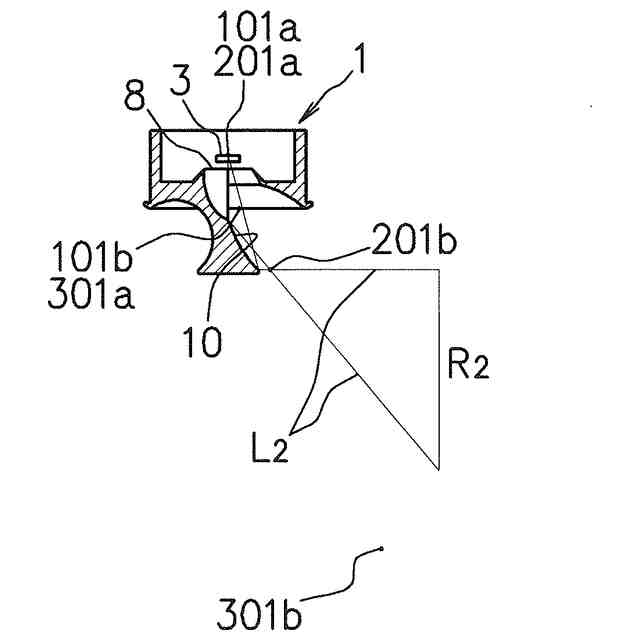
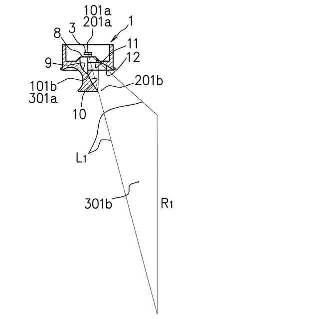
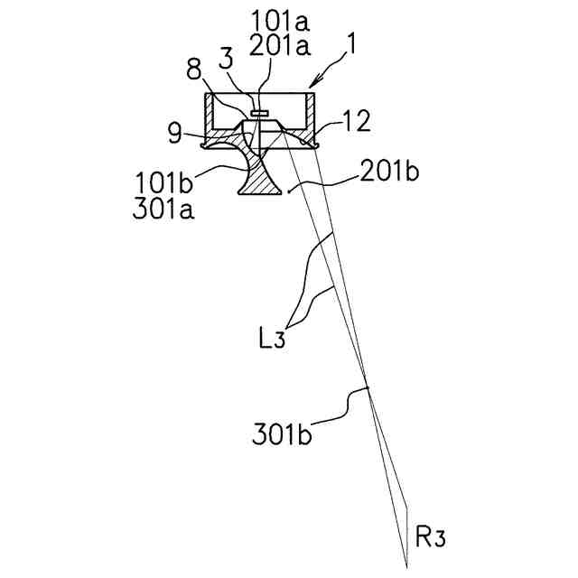
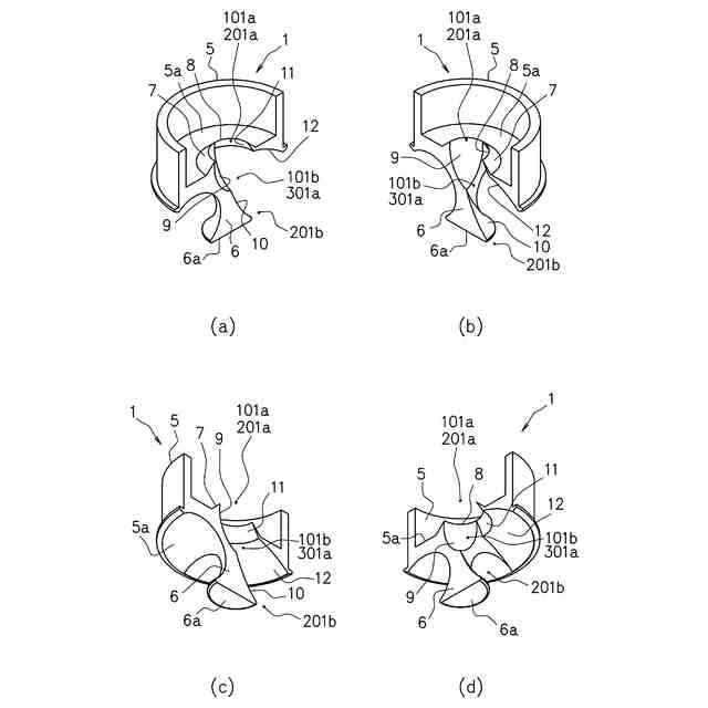
図1~図4を参照して、第1の実施形態に係る光学機器1を説明する。
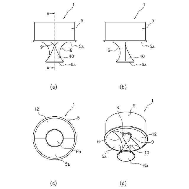
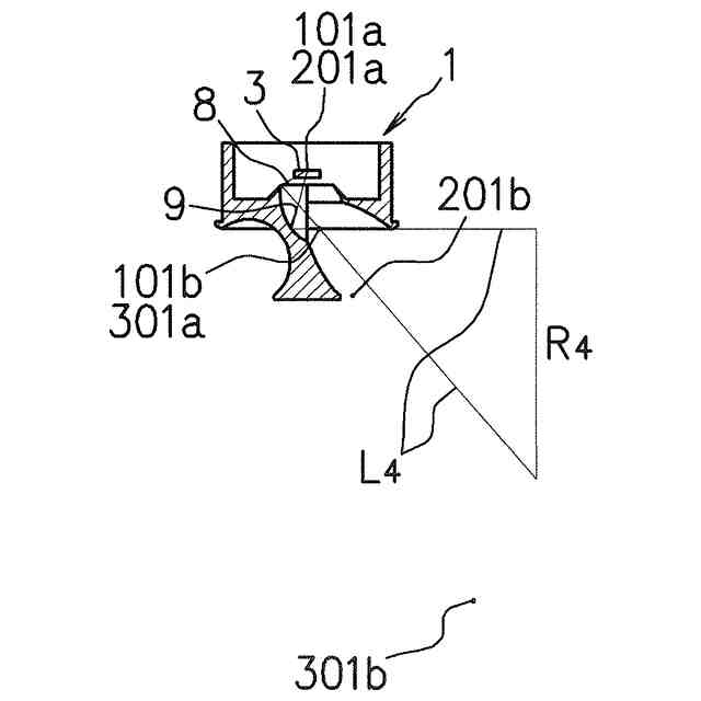
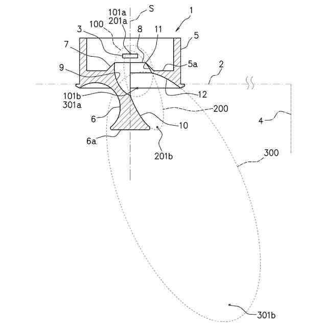
図1は、光学機器1の外観図であり、(a)が正面図、(b)が左側面図、(c)が底面図、(d)が下方から見た斜視図である。図2Aは、光学機器1の断面図(図1(a)の線A-Aに沿う断面図)である。図2B(a)~(d)は、光学機器1の断面斜視図である。
光学機器1は、天井2に設置された照明器具(例えばCOB(Chip On Board) LEDを搭載したライト)を光源3として、ウォールウォッシャーを実現するための照明用の反射レンズである。なお、本願では、天井方向を上方向として、上下の方向を定義する。また、光学機器1において、壁面4に向ける面を正面とする。
【0010】
光学機器1は、有底の円筒部5と、円筒部5の底部5aの下面から下方に突出する突出部6とを有する。
図2A、図2Bに示すように、円筒部5の底部5aの上面の中央部には凸部7が設けられ、この凸部7の内側に円形の開口部8が形成される。
突出部6は、開口部8の中心軸Sまわりの背面側の180°の範囲に設けられる。図1(a)に示すように、正面図において、突出部6は、下方に向けて徐々に幅狭になり、途中から下方に向けて幅広になる形状を有する。また、図1(b)に示すように、突出部6は、その正面側が、下方に向かうにつれて前方(壁面4の方向)に膨出するような形状を有する。また、図1(b)に示すように、突出部6は、その背面側が円弧状にえぐられたような形状を有する。突出部6の先端(下端)には、円板部6aが設けられる。突出部6の円板部6aは、開口部8の真下に配置され、開口部8よりも径が大きい。
(【0011】以降は省略されています)
この特許をJ-PlatPat(特許庁公式サイト)で参照する
関連特許
フルトラム株式会社
光学機器
24日前
個人
室外機器
4か月前
個人
照明システム
3か月前
個人
車載機器の通気構造
1か月前
個人
気泡を用いた遊具。
6か月前
個人
消火器設置表示装置
5日前
株式会社遠藤照明
照明器具
5か月前
株式会社遠藤照明
照明装置
1か月前
能美防災株式会社
表示灯
1か月前
個人
LEDライト
3か月前
株式会社小糸製作所
車両用灯具
25日前
株式会社小糸製作所
車両用灯具
25日前
デンカ株式会社
照明装置
4か月前
デンカ株式会社
道路用照明
4か月前
瀧住電機工業株式会社
ダクトレール
7か月前
株式会社小糸製作所
誘導装置
1か月前
アクア株式会社
冷蔵庫
2か月前
株式会社小糸製作所
投光装置
1か月前
株式会社小糸製作所
投光装置
1か月前
フルトラム株式会社
光学機器
24日前
スタンレー電気株式会社
照射用光源
29日前
株式会社小糸製作所
車両用灯具
4か月前
株式会社小糸製作所
車両用灯具
11日前
株式会社小糸製作所
車両用灯具
4か月前
株式会社小糸製作所
車両用灯具
4か月前
株式会社小糸製作所
車両用灯具
7か月前
株式会社小糸製作所
車両用灯具
5か月前
株式会社小糸製作所
車両用灯具
6か月前
株式会社小糸製作所
車両用灯具
3か月前
株式会社小糸製作所
車両用灯具
4か月前
株式会社小糸製作所
表示用灯具
29日前
株式会社小糸製作所
表示用灯具
29日前
株式会社小糸製作所
車両用灯具
7か月前
株式会社小糸製作所
描画用灯具
7か月前
株式会社小糸製作所
車両用灯具
7か月前
株式会社小糸製作所
車両用灯具
9日前
続きを見る
他の特許を見る