TOP
|
特許
|
意匠
|
商標
特許ウォッチ
Twitter
他の特許を見る
10個以上の画像は省略されています。
公開番号
2025145518
公報種別
公開特許公報(A)
公開日
2025-10-03
出願番号
2024045723
出願日
2024-03-21
発明の名称
表示用灯具
出願人
株式会社小糸製作所
代理人
個人
主分類
F21S
43/20 20180101AFI20250926BHJP(照明)
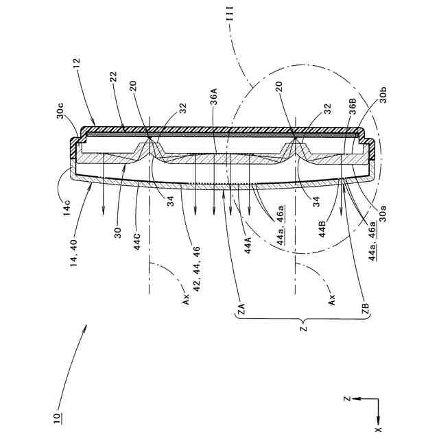
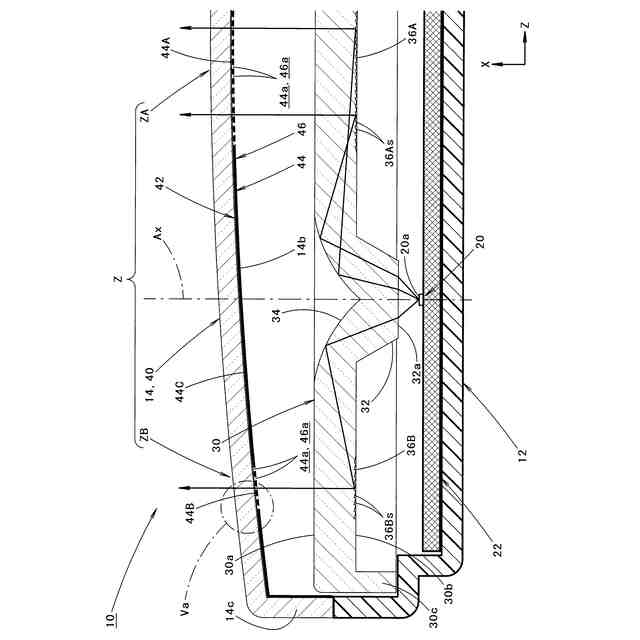
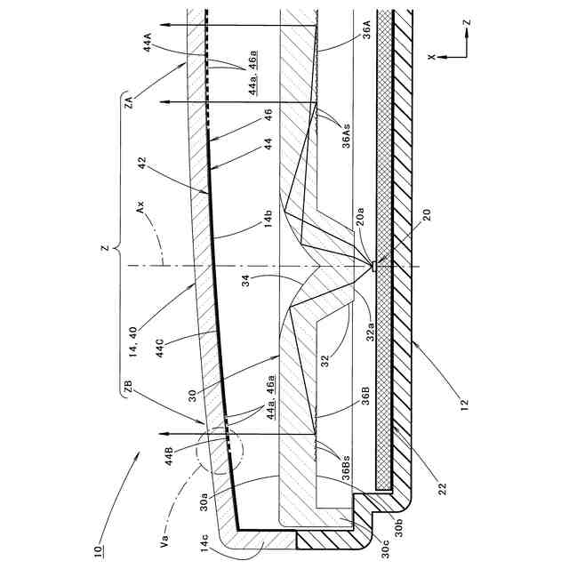
要約
【課題】光源からの出射光を、透光制御部材を介して灯具前方へ向けて照射することにより、透光制御部材の一部領域を発光させるように構成された表示用灯具において、灯具非点灯時には上記一部領域が任意の色調で見えるようにした上で、灯具点灯時には上記一部領域がそれ以外の領域に対して十分な明暗差を確保した状態で発光して見えるようにする。
【解決手段】透光制御部材40として、透光カバー14の後面14bに、第1遮光膜44とこれよりも明度が低い第2遮光膜46とが、無色透明のフィルム42を介してこの順番で積層された構成とする。その際、第1遮光膜44は、一部領域Zに対応する部位に複数の第1貫通孔44aが形成された構成とする。また、第2遮光膜46は、複数の第1貫通孔44aの各々に対応する部位に第2貫通孔46aがそれぞれ形成された構成とする。
【選択図】図3
特許請求の範囲
【請求項1】
光源からの出射光を、透光制御部材を介して灯具前方へ向けて照射することにより、上記透光制御部材の一部領域を発光させるように構成された表示用灯具において、
上記透光制御部材は、透光板と上記透光板の表面に形成された遮光膜とを備えており、
上記遮光膜は、灯具前方側に位置する第1遮光膜と灯具後方側に位置する第2遮光膜とが灯具正面視において重複した状態で配置された構成となっており、
上記第1遮光膜は、上記一部領域に対応する部位に複数の第1貫通孔が形成された構成となっており、
上記第2遮光膜は、上記第1遮光膜よりも明度が低い遮光膜として構成されており、かつ、上記複数の第1貫通孔の各々に対応する部位に第2貫通孔がそれぞれ形成された構成となっている、ことを特徴とする表示用灯具。
続きを表示(約 400 文字)
【請求項2】
上記第1遮光膜は、上記一部領域に対応する部位が、互いに色調の異なる複数の領域に区分けされている、ことを特徴とする請求項1記載の表示用灯具。
【請求項3】
上記第2遮光膜は、黒色の遮光膜として構成されている、ことを特徴とする請求項1または2記載の表示用灯具。
【請求項4】
上記複数の第2貫通孔の各々は、上記複数の第1貫通孔の各々よりも小さい開口径で形成されている、ことを特徴とする請求項1または2記載の表示用灯具。
【請求項5】
上記透光制御部材は、上記第1および第2遮光膜が印刷されたフィルムが上記透光板の表面に積層された構成となっている、ことを特徴とする請求項1または2記載の表示用灯具。
【請求項6】
上記透光制御部材は、フィルムインサート成形品として構成されている、ことを特徴とする請求項5記載の表示用灯具。
発明の詳細な説明
【技術分野】
【0001】
本願発明は、車両等に装着される表示用灯具に関するものである。
続きを表示(約 1,300 文字)
【背景技術】
【0002】
従来より、車両等に装着される表示用灯具として、光源からの出射光を、透光制御部材を介して灯具前方へ向けて照射することにより、透光制御部材の一部領域を発光させるように構成されたものが知られている。
【0003】
「特許文献1」には、このような表示用灯具の構成として、その透光制御部材における前面の一部に金属調の遮光膜層が形成されたものが記載されている。
【0004】
この「特許文献1」に記載された表示用灯具は、灯具非点灯時には外光によって遮光膜層が反射して見える一方、灯具点灯時には光源からの出射光によって遮光膜層の周辺領域が光って見える構成となっている。
【先行技術文献】
【特許文献】
【0005】
実開平06ー010983号公報
【発明の概要】
【発明が解決しようとする課題】
【0006】
このような表示用灯具の構成として、灯具非点灯時には透光制御部材の一部領域が任意の色調で見えるようにした上で、灯具点灯時には上記一部領域がそれ以外の領域に対して十分な明暗差を確保した状態で発光して見えるようにすることが、その表示機能を高めるという観点から望ましい。
【0007】
本願発明は、このような事情に鑑みてなされたものであって、光源からの出射光を、透光制御部材を介して灯具前方へ向けて照射することにより、透光制御部材の一部領域を発光させるように構成された表示用灯具において、灯具非点灯時には上記一部領域が任意の色調で見えるようにした上で、灯具点灯時には上記一部領域がそれ以外の領域に対して十分な明暗差を確保した状態で発光して見えるようにすることができる表示用灯具を提供することを目的とするものである。
【課題を解決するための手段】
【0008】
本願発明は、透光制御部材の構成に工夫を施すことにより、上記目的達成を図るようにしたものである。
【0009】
すなわち、本願発明に係る表示用灯具は、
光源からの出射光を、透光制御部材を介して灯具前方へ向けて照射することにより、上記透光制御部材の一部領域を発光させるように構成された表示用灯具において、
上記透光制御部材は、透光板と上記透光板の表面に形成された遮光膜とを備えており、
上記遮光膜は、灯具前方側に位置する第1遮光膜と灯具後方側に位置する第2遮光膜とが灯具正面視において重複した状態で配置された構成となっており、
上記第1遮光膜は、上記一部領域に対応する部位に複数の第1貫通孔が形成された構成となっており、
上記第2遮光膜は、上記第1遮光膜よりも明度が低い遮光膜として構成されており、かつ、上記複数の第1貫通孔の各々に対応する部位に第2貫通孔がそれぞれ形成された構成となっている、ことを特徴とするものである。
【0010】
上記「表示用灯具」は、透光制御部材の一部領域が発光し得るように構成されたものであれば、その種類は特に限定されるものではなく、例えば、車両等に装着される発光エンブレムやインジケータランプ等が採用可能である。
(【0011】以降は省略されています)
この特許をJ-PlatPat(特許庁公式サイト)で参照する
関連特許
株式会社小糸製作所
車両用灯具
1か月前
株式会社小糸製作所
車両用灯具
1か月前
株式会社小糸製作所
車両用灯具
1か月前
株式会社小糸製作所
車両用灯具
1か月前
株式会社小糸製作所
車両用灯具
29日前
株式会社小糸製作所
車両用灯具
27日前
株式会社小糸製作所
車両用灯具
1か月前
株式会社小糸製作所
車両用灯具
26日前
株式会社小糸製作所
車両用灯具
26日前
株式会社小糸製作所
車輌用灯具
26日前
株式会社小糸製作所
車両用灯具
1か月前
株式会社小糸製作所
車両用灯具
15日前
株式会社小糸製作所
画像表示装置
20日前
株式会社小糸製作所
画像表示装置
7日前
株式会社小糸製作所
画像生成装置
7日前
株式会社小糸製作所
画像投影装置
1か月前
株式会社小糸製作所
照明表示装置
1か月前
株式会社小糸製作所
道路冠水通知システム
27日前
株式会社小糸製作所
固定構造及び固定方法
13日前
株式会社小糸製作所
ヘッドアップディスプレイ
7日前
株式会社小糸製作所
電子ユニット及び車両用灯具
1か月前
株式会社小糸製作所
車両用灯具及び車両用灯具の製造方法
1か月前
株式会社小糸製作所
画像投影ユニットおよび画像投影装置
1か月前
株式会社小糸製作所
レンズに付着する雪を融かす融雪機構
1か月前
株式会社小糸製作所
開閉機構、車両用灯具及び車両用前照灯
1か月前
株式会社小糸製作所
車両用灯具、ハウジング及びハウジングの製造方法
1か月前
株式会社小糸製作所
画像照射装置、画像投影装置、および画像照射方法
27日前
株式会社小糸製作所
光源ユニット、光源ユニットの製造方法、および車両用灯具
1か月前
株式会社小糸製作所
配光制御装置、配光制御プログラムおよび車両用前照灯システム
1か月前
株式会社小糸製作所
車両用赤外線センサ内蔵灯具
20日前
個人
照明装置
12日前
個人
室外機器
5か月前
個人
照明システム
4か月前
個人
気泡を用いた遊具。
7か月前
個人
車載機器の通気構造
2か月前
個人
消火器設置表示装置
23日前
続きを見る
他の特許を見る