TOP
|
特許
|
意匠
|
商標
特許ウォッチ
Twitter
他の特許を見る
10個以上の画像は省略されています。
公開番号
2025132285
公報種別
公開特許公報(A)
公開日
2025-09-10
出願番号
2024029723
出願日
2024-02-29
発明の名称
投光装置
出願人
株式会社小糸製作所
代理人
個人
主分類
F21S
2/00 20160101AFI20250903BHJP(照明)
要約
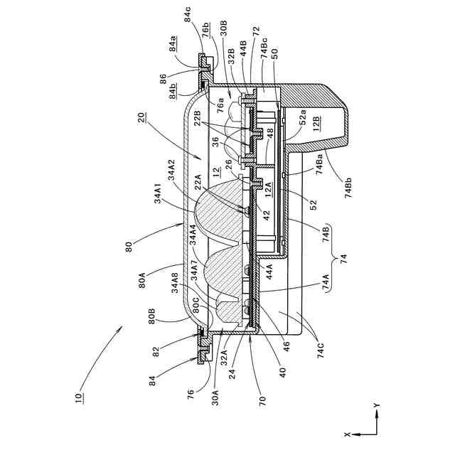
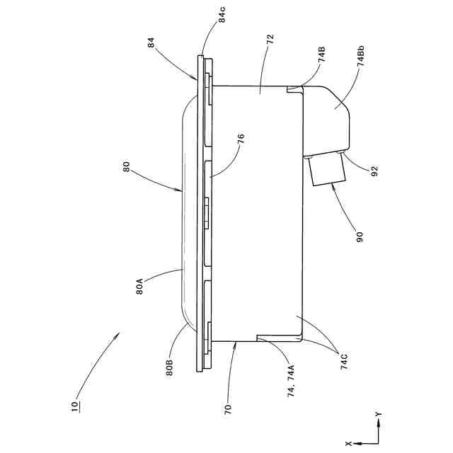
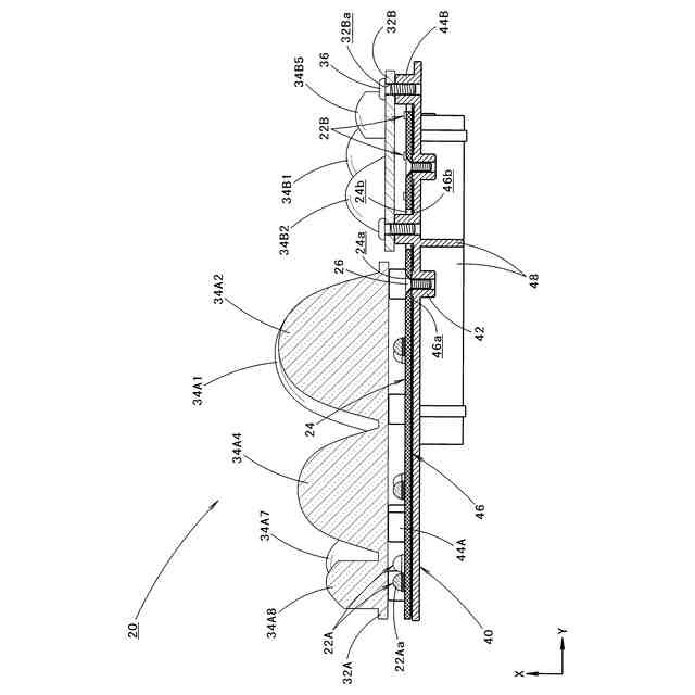
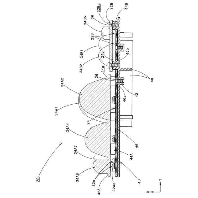
【課題】可視光照射と赤外光照射とを行い得るように構成された投光装置において、簡易な装置構成により、その光学的な機能を確保する。
【解決手段】複数の可視光発光素子22Aと複数の赤外光発光素子22Bとが左右方向に関して領域分けされた状態で共通の基板24に搭載された構成とし、かつ、その出射光の透光制御を行う第1および第2透光部材30A、30Bと基板24とが共通の金属製支持プレート40に支持された構成とする。その上で、金属製支持プレート40に、基板24に当接する複数の基板用台座部42と透光部材22A、22Bに当接する複数の透光部材用台座部44A、44Bとが形成された構成とし、かつ、基板24に、複数の透光部材用台座部44A、44Bを挿通させるための複数の挿通孔24bが形成された構成とする。
【選択図】図8
特許請求の範囲
【請求項1】
複数の発光素子からの出射光を、透光部材を介して装置前方へ向けて照射するように構成された投光装置において、
上記複数の発光素子として、複数の可視光発光素子と複数の赤外光発光素子とを備えており、かつ、上記複数の可視光発光素子と上記複数の赤外光発光素子とが所要方向に関して領域分けされた状態で配置されており、
上記複数の可視光発光素子および赤外光発光素子は、共通の基板に搭載されており、
上記基板および上記透光部材は、共通の金属製支持プレートに支持されており、
上記金属製支持プレートに、上記基板に当接する複数の基板用台座部と上記透光部材に当接する複数の透光部材用台座部とが形成されており、
上記基板に、上記複数の透光部材用台座部を挿通させるための複数の挿通孔が形成されている、ことを特徴とする投光装置。
続きを表示(約 860 文字)
【請求項2】
上記透光部材として、上記複数の可視光発光素子からの出射光を透光制御するための複数の第1レンズ部が形成された第1透光部材と、上記複数の赤外光発光素子からの出射光を透光制御するための複数の第2レンズ部が形成された第2透光部材とを備えており、
上記金属製支持プレートは、上記複数の透光部材用台座部として、上記第1透光部材に当接するように形成された複数の第1台座部と、上記第2透光部材に当接するように形成された複数の第2台座部とを備えており、
上記複数の透光部材用台座部は、上記複数の第1台座部の高さが上記複数の第2台座部の高さよりも大きい値に設定されている、ことを特徴とする請求項1記載の投光装置。
【請求項3】
上記基板と上記金属製支持プレートとの間に伝熱シートが配置されており、
上記伝熱シートに、上記複数の基板用台座部および透光部材用台座部を挿通させるための複数の挿通孔が形成されている、ことを特徴とする請求項1または2記載の投光装置。
【請求項4】
上記金属製支持プレートを支持するヒートシンクと、上記複数の発光素子を点灯制御するための制御基板ユニットとを備えており、
上記ヒートシンクは、上記金属製支持プレートの背面側に上記制御基板ユニットを収容するためのユニット収容空間が形成された構成となっている、ことを特徴とする請求項1または2記載の投光装置。
【請求項5】
上記ユニット収容空間は、上記所要方向に関して上記複数の赤外光発光素子寄りの位置に形成されており、
上記ヒートシンクは、上記所要方向に関して上記複数の可視光発光素子寄りの位置において上記金属製支持プレートと面接触するように形成されている、ことを特徴とする請求項4記載の投光装置。
【請求項6】
上記金属製支持プレートに、上記ユニット収容空間を仕切るための隔壁部が形成されている、ことを特徴とする請求項5記載の投光装置。
発明の詳細な説明
【技術分野】
【0001】
本願発明は、航空機やヘリコプター等に装着される投光装置に関するものである。
続きを表示(約 1,100 文字)
【背景技術】
【0002】
一般に、航空機やヘリコプター等には、夜間の前方視界や下方視界を確保するための投光装置が装着されている。
【0003】
「特許文献1」には、ヘリコプターの下部に装着された投光装置として、斜め下方へ向けて可視光照射と赤外光照射とを行い得るように構成されたものが記載されている。
【0004】
この「特許文献1」に記載された投光装置は、複数の可視光発光素子からの出射光を透光制御するための複数の第1レンズ部が形成された第1透光部材と、複数の赤外光発光素子からの出射光を透光制御するための複数の第2レンズ部が形成された第2透光部材とを備えており、かつ、複数の可視光発光素子および第1透光部材と複数の赤外光発光素子および第2透光部材とが上下方向に領域分けされた状態で配置された構成となっている。
【0005】
その際、この「特許文献1」に記載された投光装置においては、複数の可視光発光素子が金属製ボディの上部領域に搭載されるとともに、この金属製ボディにメイン回路基板が支持された上で、このメイン回路基板の上部領域に第1透光部材が支持されており、一方、メイン回路基板の下部領域にシールドカバーを介してサブ回路基板が支持された上で、このサブ回路基板に複数の赤外光発光素子および第2透光部材が搭載されている。
【先行技術文献】
【特許文献】
【0006】
特開2023-149316号公報
【発明の概要】
【発明が解決しようとする課題】
【0007】
上記「特許文献1」に記載された構成を採用することにより、投光装置として可視光照射および赤外光照射の各々が適切に行われるようにすることが可能となる。
【0008】
一方、上記「特許文献1」に記載された投光装置は、その光学的な機能を確保するために比較的複雑な装置構成となっているが、これをできるだけ簡易な装置構成で実現することが望まれる。
【0009】
本願発明は、このような事情に鑑みてなされたものであって、可視光照射と赤外光照射とを行い得るように構成された投光装置において、簡易な装置構成により、その光学的な機能を確保することができる投光装置を提供することを目的とするものである。
【課題を解決するための手段】
【0010】
本願発明は、複数の可視光発光素子および赤外光発光素子が共通の基板に搭載された構成とした上で、その周辺構造に工夫を施すことにより、上記目的達成を図るようにしたものである。
(【0011】以降は省略されています)
この特許をJ-PlatPat(特許庁公式サイト)で参照する
関連特許
株式会社小糸製作所
表示灯
12日前
株式会社小糸製作所
表示灯
5日前
株式会社小糸製作所
投光装置
21日前
株式会社小糸製作所
照明装置
22日前
株式会社小糸製作所
照明装置
22日前
株式会社小糸製作所
投光装置
21日前
株式会社小糸製作所
誘導装置
5日前
株式会社小糸製作所
車両用灯具
1か月前
株式会社小糸製作所
車両用灯具
26日前
株式会社小糸製作所
車輌用灯具
6日前
株式会社小糸製作所
車輌用灯具
1か月前
株式会社小糸製作所
水分解装置
2日前
株式会社小糸製作所
投影光学系
2日前
株式会社小糸製作所
車輌用前照灯
28日前
株式会社小糸製作所
画像生成装置
21日前
株式会社小糸製作所
水素発生装置
2日前
株式会社小糸製作所
画像照射装置
29日前
株式会社小糸製作所
車両用前照灯
5日前
株式会社小糸製作所
画像投影装置
13日前
株式会社小糸製作所
画像投影装置
12日前
株式会社小糸製作所
移動体検出装置
23日前
株式会社小糸製作所
車両検出システム
23日前
株式会社小糸製作所
車両用前照灯ユニット
6日前
株式会社小糸製作所
回路基板および照明装置
1か月前
株式会社小糸製作所
誘導装置及び誘導システム
5日前
株式会社小糸製作所
光学部材及び光軸調整機構
12日前
株式会社小糸製作所
ナット部材及び光軸調整機構
12日前
株式会社小糸製作所
発光素子搭載用基板および照明装置
2日前
株式会社小糸製作所
DDS用担持体およびその製造方法
26日前
株式会社小糸製作所
画像投影ユニットおよび画像投影装置
28日前
株式会社小糸製作所
車両用灯具および車両用灯具の製造方法
5日前
株式会社小糸製作所
素子搭載基板、車両用灯具および素子搭載方法
2日前
株式会社小糸製作所
車両用灯具および車両用灯具に備えられる単一レンズ
2日前
株式会社小糸製作所
測定装置、測定装置の制御プログラム、および、コンピュータプログラムを記録したコンピュータ読み取り可能な記録媒体
22日前
株式会社小糸製作所
測定装置、測定装置の制御方法、測定装置の制御プログラム、および、コンピュータプログラムを記録したコンピュータ読み取り可能な記録媒体
1か月前
株式会社小糸製作所
測定装置、測定装置の制御方法、測定装置の制御プログラム、および、コンピュータプログラムを記録したコンピュータ読み取り可能な記録媒体
1か月前
続きを見る
他の特許を見る