TOP
|
特許
|
意匠
|
商標
特許ウォッチ
Twitter
他の特許を見る
10個以上の画像は省略されています。
公開番号
2025158924
公報種別
公開特許公報(A)
公開日
2025-10-17
出願番号
2025032931
出願日
2025-03-03
発明の名称
発光エンブレム
出願人
オムロン株式会社
代理人
個人
主分類
F21S
43/50 20180101AFI20251009BHJP(照明)
要約
【課題】厚さを低減された発光エンブレムを実現する。
【解決手段】エンブレム(1)は、光源(20)からの光を導光路(14)に沿って導光し、導光路の一部を成す第1出射面(11)から出射させる第1ライトガイド(10)を備え、光源は、意匠が第1出射面からの光により発光する発光領域内に配置されている。
【選択図】図1
特許請求の範囲
【請求項1】
光源と、
前記光源からの光を、意匠の少なくとも一部の形状を有する導光路に沿って導光し、前記導光路の一部を成す第1出射面から出射させる第1ライトガイドと、を備え、
前記光源は、前記意匠が前記第1出射面からの光により発光する発光領域内に配置されている、発光エンブレム。
続きを表示(約 1,200 文字)
【請求項2】
前記導光路は、
前記意匠の外縁部に沿う外縁導光路と、前記外縁導光路から内側へ向かう内側導光路とを有し、
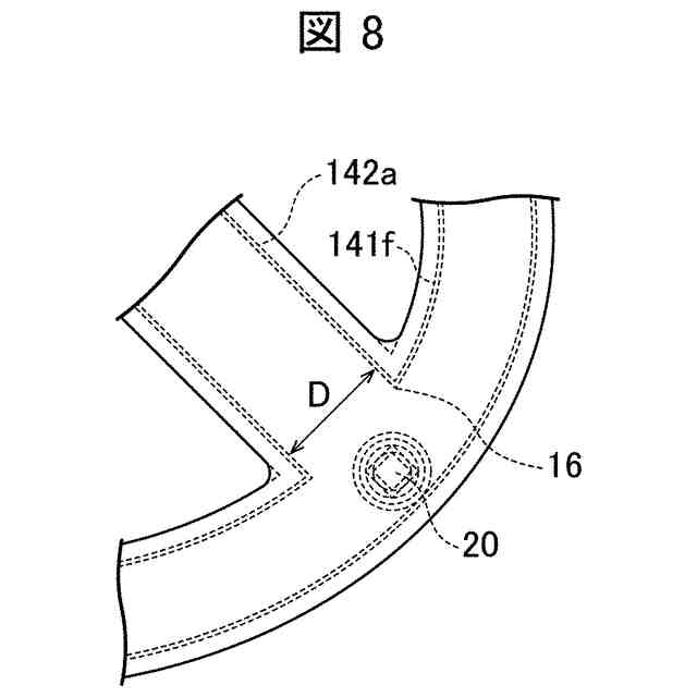
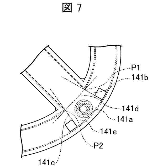
前記光源は、(i)前記外縁導光路から前記内側導光路への分岐部、および、(ii)前記内側導光路が屈曲している屈曲部、の少なくともいずれか1か所に配置されている、請求項1に記載の発光エンブレム。
【請求項3】
前記第1ライトガイドに対して前記第1出射面の側に配置され、前記第1出射面から出射された光を前記意匠の形状に拡散させる意匠形状部をさらに備える、請求項1に記載の発光エンブレム。
【請求項4】
前記第1出射面に垂直な方向から見て、前記第1ライトガイドは、前記意匠形状部よりも小さい、請求項3に記載の発光エンブレム。
【請求項5】
前記屈曲部において、前記導光路の内側の曲率半径は、前記導光路の幅の1.5倍以下であり、かつ、前記内側導光路の中心線の向きが30°以上変化する、請求項2に記載の発光エンブレム。
【請求項6】
前記光源は、前記分岐部に配置され、
前記光源の中心は、前記第1出射面に垂直な方向から見て、
前記外縁導光路の輪郭のうち、前記分岐部において外側となる外側輪郭部と、
前記外側輪郭部に対する垂線であって、前記内側導光路と前記外縁導光路との2か所の境界点のそれぞれを通る、2本の前記垂線と、
前記2か所の境界点を結ぶ直線と、に囲まれた領域に位置する、請求項2に記載の発光エンブレム。
【請求項7】
光源と、
前記光源からの光を、意匠の少なくとも一部の形状を有する導光路に沿って導光し、前記導光路の一部を成す第1出射面から出射させる第1ライトガイドと、を備え、
前記光源が配置される部位は、前記第1出射面に垂直な方向において、他の部位よりも、前記第1ライトガイドの前記第1出射面とは逆の背面側に厚い、発光エンブレム。
【請求項8】
前記光源は、少なくとも1つの、前記外縁導光路から前記内側導光路への分岐部に配置され、
前記第1ライトガイドは、前記分岐部に、前記光源からの光が入射するための、前記第1ライトガイドの前記第1出射面とは法線が異なる第1入射面を、2以上有する、請求項2に記載の発光エンブレム。
【請求項9】
前記第1入射面の角度は、前記第1ライトガイドの屈折率をnとした場合、前記第1ライトガイドの中心線の向きに対して、90°±(90°-2×asin(1/n))の範囲内である、請求項8に記載の発光エンブレム。
【請求項10】
前記光源は、前記第1出射面に平行な第1方向に出射光量のピークを有し、
前記第1出射面に平行かつ前記第1方向から90°ずれた方向における出射光量が、前記第1方向における出射光量の50%以上である、請求項1または7に記載の発光エンブレム。
(【請求項11】以降は省略されています)
発明の詳細な説明
【技術分野】
【0001】
本開示は、発光エンブレムに関する。
続きを表示(約 1,200 文字)
【背景技術】
【0002】
特許文献1には、車体に取り付けられるエンブレムが開示されている。当該エンブレムは、それぞれ略扁平状のロアカバーとアッパーカバーとエンブレム本体とを備え、これらが下からこの順で積層されている。ロアカバー、アッパーカバー及びエンブレム本体は、ほぼ円形と、この円形の中心を通る水平部とを組み合わせたマーク形態である。エンブレムは、水平部で分割され、エンブレムの半径方向内側に形成された開口部を有する。ロアカバーとアッパーカバーの内部には、部品収容室が形成されている。部品収容室のほぼ全域に亘って基板が配置され、基板上に複数の光源が固定されている。
【先行技術文献】
【特許文献】
【0003】
特開2012-126339号公報
【発明の概要】
【発明が解決しようとする課題】
【0004】
しかしながら、特許文献1に開示されているエンブレムは、ほぼ全域にわたって光源が配置されるため、当該全域にわたって厚さが大きくなるという問題がある。
【0005】
本開示の一態様は、厚さを低減された発光エンブレムを実現することを目的とする。
【課題を解決するための手段】
【0006】
上記の課題を解決するために、本開示の一態様に係る発光エンブレムは、光源と、前記光源からの光を、意匠の少なくとも一部の形状を有する導光路に沿って導光し、前記導光路の一部を成す第1出射面から出射させる第1ライトガイドと、を備え、前記導光路は、前記意匠の外縁部に沿う外縁導光路と、前記外縁導光路から内側へ向かう内側導光路とを有し、前記光源は、前記意匠が前記第1出射面からの光により発光する発光領域内に配置されている。
【0007】
上記の構成によれば、光源を発光領域の外側に配置するための、発光しない余分な構造物を設ける必要がなくなる。したがって、意匠の見栄えを向上させることができる。
【0008】
また、本開示の一態様に係る発光エンブレムにおいて、前記光源は、(i)前記外縁導光路から前記内側導光路への分岐部、および、(ii)前記内側導光路が屈曲している屈曲部、の少なくともいずれか1か所に配置されている。
【0009】
上記の構成によれば、第1ライトガイドは、光源からの光を導光路に沿って導光し、第1出射面から出射させる。光源は、導光路の分岐部または屈曲部の少なくともいずれか1か所に配置されている。このため、分岐部または屈曲部から各方向へ、光源から出射された光を効率的に導光させることができる。
【0010】
また、本開示の一態様に係る発光エンブレムは、前記第1ライトガイドに対して前記第1出射面の側に配置され、前記第1出射面から出射された光を前記意匠の形状に拡散させる意匠形状部をさらに備える。
(【0011】以降は省略されています)
この特許をJ-PlatPat(特許庁公式サイト)で参照する
関連特許
オムロン株式会社
電磁継電器
1か月前
オムロン株式会社
スレーブ装置
1か月前
オムロン株式会社
情報提供装置
1か月前
オムロン株式会社
サーボドライバ
1か月前
オムロン株式会社
センサシステム
19日前
オムロン株式会社
センサシステム
19日前
オムロン株式会社
IOターミナル
1か月前
オムロン株式会社
センサシステム
19日前
オムロン株式会社
発光エンブレム
1か月前
オムロン株式会社
端子折り曲げ治具
1か月前
オムロン株式会社
モータの監視装置
1か月前
オムロン株式会社
システム及び方法
19日前
オムロン株式会社
システム及び方法
19日前
オムロン株式会社
電力開閉モジュール
1か月前
オムロン株式会社
システムおよび方法
1か月前
オムロン株式会社
セーフティデバイス
1か月前
オムロン株式会社
パワーコンディショナ
1か月前
オムロン株式会社
リモート安全入出力装置
1か月前
オムロン株式会社
電力システム及び制御装置
1か月前
オムロン株式会社
支援システム及び支援方法
1か月前
オムロン株式会社
保護継電器及び電力制御装置
1か月前
オムロン株式会社
パワーコンディショナシステム
1か月前
オムロン株式会社
給電モジュール及び給電システム
1か月前
オムロン株式会社
監視装置、監視方法及びプログラム
23日前
オムロン株式会社
電力供給システム及び電力制御装置
1か月前
オムロン株式会社
教育支援システム及び教育支援方法
1か月前
オムロン株式会社
計測装置、計測方法及びプログラム
1か月前
オムロン株式会社
情報処理システムおよび情報処理方法
1か月前
オムロン株式会社
生体情報処理装置及び動作情報処理装置
1か月前
オムロン株式会社
交通管制システム、および動作切替方法
1か月前
オムロン株式会社
生体情報処理装置及び動作情報処理装置
1か月前
オムロン株式会社
安全IOターミナルおよび安全システム
1か月前
オムロン株式会社
制御装置、制御方法、及び制御プログラム
1か月前
オムロン株式会社
監視システム、警報方法、及びプログラム
1か月前
オムロン株式会社
スレーブ装置およびネットワークシステム
1か月前
オムロン株式会社
管理システム、管理方法及び管理プログラム
23日前
続きを見る
他の特許を見る