TOP
|
特許
|
意匠
|
商標
特許ウォッチ
Twitter
他の特許を見る
10個以上の画像は省略されています。
公開番号
2025174689
公報種別
公開特許公報(A)
公開日
2025-11-28
出願番号
2024081198
出願日
2024-05-17
発明の名称
検出システム及び検出方法
出願人
オムロン株式会社
代理人
弁理士法人秀和特許事務所
主分類
G01N
21/84 20060101AFI20251120BHJP(測定;試験)
要約
【課題】容器内の状態を正確に検出する。
【解決手段】検出システムは、光を出射する光源と、前記光源から出射された前記光であって、一又は複数のウエハを収容可能な容器内を通って前記容器から出た前記光を集光する集光レンズと、前記集光レンズによって集光された前記光を受光し、撮像画像を生成する撮像装置と、前記撮像画像に基づいて、前記容器内の状態を検出する検出装置と、
を備える。
【選択図】図5
特許請求の範囲
【請求項1】
光を出射する光源と、
前記光源から出射された前記光であって、一又は複数のウエハを収容可能な容器内を通って前記容器から出た前記光を集光する集光レンズと、
前記集光レンズによって集光された前記光を受光し、撮像画像を生成する撮像装置と、
前記撮像画像に基づいて、前記容器内の状態を検出する検出装置と、
を備える、
検出システム。
続きを表示(約 1,000 文字)
【請求項2】
前記検出装置は、前記撮像画像における第1領域及び第2領域に基づいて、前記容器内の状態を検出し、
前記第1領域は、前記光源から出射された前記光が前記一又は複数のウエハによって遮られた領域であり、
前記第2領域は、前記容器から出た前記光に対応する領域である、
請求項1に記載の検出システム。
【請求項3】
前記検出装置は、前記撮像画像に基づいて、前記容器内における前記一又は複数のウエハの有無を検出する、
請求項1に記載の検出システム。
【請求項4】
前記検出装置は、前記撮像画像に基づいて、前記容器内における前記一又は複数のウエハの状態を検出する、
請求項1に記載の検出システム。
【請求項5】
前記検出装置は、前記撮像画像に基づいて、前記容器内における前記一又は複数のウエハの数を検出する、
請求項1に記載の検出システム。
【請求項6】
前記容器の少なくとも一部は、前記光源から出射された前記光を透過する透明部材である、
請求項1に記載の検出システム。
【請求項7】
前記光源と前記集光レンズとの間に前記容器が配置されている、
請求項1に記載の検出システム。
【請求項8】
前記容器は、第1開口及び第2開口を有し、
前記第1開口が、前記集光レンズが配置されている側を向き、かつ、前記第2開口が、前記集光レンズが配置されている側の反対側を向くように、前記容器が配置され、
前記光源から出射された前記光は、前記第2開口から前記容器内に入り、前記容器内を通って前記第1開口から出る、
請求項1に記載の検出システム。
【請求項9】
前記光源から出射された前記光を反射する鏡面部材を備え、
前記集光レンズは、前記鏡面部材で反射された前記光であって、前記容器内を通って前記容器から出た前記光を集光し、
前記集光レンズと前記鏡面部材との間に前記容器が配置されている、
請求項1に記載の検出システム。
【請求項10】
前記容器内に前記光源が配置されており、
前記光源と前記集光レンズとの間における前記容器内に前記複数のウエハを収容可能である、
請求項1に記載の検出システム。
(【請求項11】以降は省略されています)
発明の詳細な説明
【技術分野】
【0001】
本発明は、検出システム及び検出方法に関する。
続きを表示(約 1,600 文字)
【背景技術】
【0002】
従来、搬送装置に設けた光電センサを用いてカセット等の容器内のウエハの有無を検知していた。搬送装置により光電センサを昇降させてウエハの検知を行うため、時間を要していた。ウエハの検知を行っている間、搬送装置は搬送作業を行うことができず、生産性が低下する。特許文献1には、カセットと収納ウエハの全積み重ねを映すためのカセットの開放前面に関連する既知の位置に設置されるカメラを具備するウエハ撮像システムが記載されている。特許文献2には、ウエハ収容容器の前側に配置されウエハからの反射光が入射される撮像装置と、ウエハ収容容器内のウエハに対して上下から光を照射する照明装置と、を備えるウエハ検出装置が記載されている。
【先行技術文献】
【特許文献】
【0003】
特表2004-527116号公報
特許第5881007号
【発明の概要】
【発明が解決しようとする課題】
【0004】
カメラ等の撮像装置を用いて容器内のウエハの有無を検知する場合、容器内の上部及び下部においては、ウエハが重なった状態で撮像されるため、容器内の状態を正確に把握できない。
【0005】
本発明は上記課題に鑑みてなされたものであって、その目的とするところは、容器内の状態を正確に検出することである。
【課題を解決するための手段】
【0006】
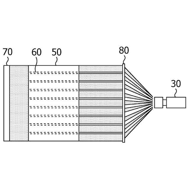
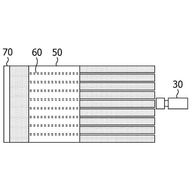
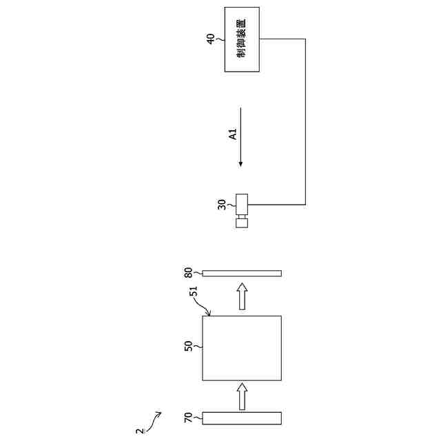
本発明の一観点に係る検出システムは、光を出射する光源と、前記光源から出射された前記光であって、一又は複数のウエハを収容可能な容器内を通って前記容器から出た前記光を集光する集光レンズと、前記集光レンズによって集光された前記光を受光し、撮像画像を生成する撮像装置と、前記撮像画像に基づいて、前記容器内の状態を検出する検出装置と、を備える。
【0007】
検出システムでは、集光レンズを用いて、撮像装置によって容器内を撮像し、撮像装置によって生成された撮像画像に基づいて、容器内の状態を検出する。撮像画像には、容器内の状態が正確に反映されているので、容器内の状態を正確に検出することが可能である。検出システムでは、ウエハカセット内の状態を検出している間、ウエハを搬送する搬送装置は、ウエハの搬送作業等を行うことが可能であり、生産性が向上する。
【0008】
前記検出装置は、前記撮像画像における第1領域及び第2領域に基づいて、前記容器内の状態を検出し、前記第1領域は、前記光源から出射された前記光が前記一又は複数のウエハによって遮られた領域であり、前記第2領域は、前記容器から出た前記光に対応する領域である。撮像画像は、光源から出射された光が一又は複数のウエハによって遮られた第1領域及び容器から出た光に対応する第2領域を有している。撮像画像には、容器内の状態が正確に反映されているので、容器内の状態を正確に検出することが可能である。
【0009】
前記検出装置は、前記撮像画像に基づいて、前記容器内における前記一又は複数のウエハの有無を検出する。前記検出装置は、前記撮像画像に基づいて、前記容器内における前記一又は複数のウエハの状態を検出する。前記検出装置は、前記撮像画像に基づいて、前記容器内における前記一又は複数のウエハの数を検出する。検出システムによれば、撮像画像に基づいて、容器内における一又は複数のウエハの有無、状態及び数を検出することが可能である。
【0010】
前記容器の少なくとも一部は、前記光源から出射された前記光を透過する透明部材である。これにより、光源から出射された光は、容器の透明部材を透過して容器内に入り、容器内を通って容器から出る。
(【0011】以降は省略されています)
この特許をJ-PlatPat(特許庁公式サイト)で参照する
関連特許
オムロン株式会社
電磁継電器
1か月前
オムロン株式会社
発光エンブレム
1か月前
オムロン株式会社
センサシステム
1か月前
オムロン株式会社
サーボドライバ
1か月前
オムロン株式会社
センサシステム
1か月前
オムロン株式会社
センサシステム
1か月前
オムロン株式会社
システム及び方法
1か月前
オムロン株式会社
システム及び方法
1か月前
オムロン株式会社
パワーコンディショナ
1か月前
オムロン株式会社
パワーコンディショナ
1日前
オムロン株式会社
電力システム及び制御装置
1か月前
オムロン株式会社
検出システム及び検出方法
1日前
オムロン株式会社
保護継電器及び電力制御装置
2か月前
オムロン株式会社
監視装置、監視方法及びプログラム
1か月前
オムロン株式会社
電力供給システム及び電力制御装置
2か月前
オムロン株式会社
情報処理システムおよび情報処理方法
1か月前
オムロン株式会社
制御装置、制御方法、及び制御プログラム
1か月前
オムロン株式会社
監視システム、警報方法、及びプログラム
2か月前
オムロン株式会社
処理装置、処理方法、および処理プログラム
1か月前
オムロン株式会社
画像処理装置、画像処理方法及びプログラム
1か月前
オムロン株式会社
処理装置、処理方法、および処理プログラム
1か月前
オムロン株式会社
管理システム、管理方法及び管理プログラム
1か月前
オムロン株式会社
サポート装置、サポート方法およびプログラム
1日前
オムロン株式会社
サポート装置、サポート方法およびプログラム
1日前
オムロン株式会社
モデル生成方法、推論プログラム及び推論装置
1か月前
オムロン株式会社
変換装置、変換方法、および、変換プログラム
22日前
オムロン株式会社
監視システム、点灯制御方法、及びプログラム
2か月前
オムロン株式会社
開閉装置、及び開閉装置を備える蓄電池システム
2か月前
オムロン株式会社
制御装置、情報処理方法および情報処理プログラム
1か月前
オムロン株式会社
感震センサおよび地震検知方法、地震検知プログラム
1か月前
オムロン株式会社
物体検出装置、物体検出方法、および制御プログラム
1か月前
オムロン株式会社
感震センサおよび地震検知方法、地震検知プログラム
1か月前
オムロン株式会社
情報処理装置、情報処理方法及び情報処理プログラム
1か月前
オムロン株式会社
感震センサおよび地震検知方法、地震検知プログラム
1か月前
オムロン株式会社
情報処理装置、情報処理方法及び情報処理プログラム
1か月前
オムロン株式会社
感震センサおよび地震検知方法、地震検知プログラム
1か月前
続きを見る
他の特許を見る