TOP
|
特許
|
意匠
|
商標
特許ウォッチ
Twitter
他の特許を見る
公開番号
2025139475
公報種別
公開特許公報(A)
公開日
2025-09-26
出願番号
2024038435
出願日
2024-03-12
発明の名称
車両用前照灯
出願人
株式会社小糸製作所
代理人
個人
主分類
F21S
41/29 20180101AFI20250918BHJP(照明)
要約
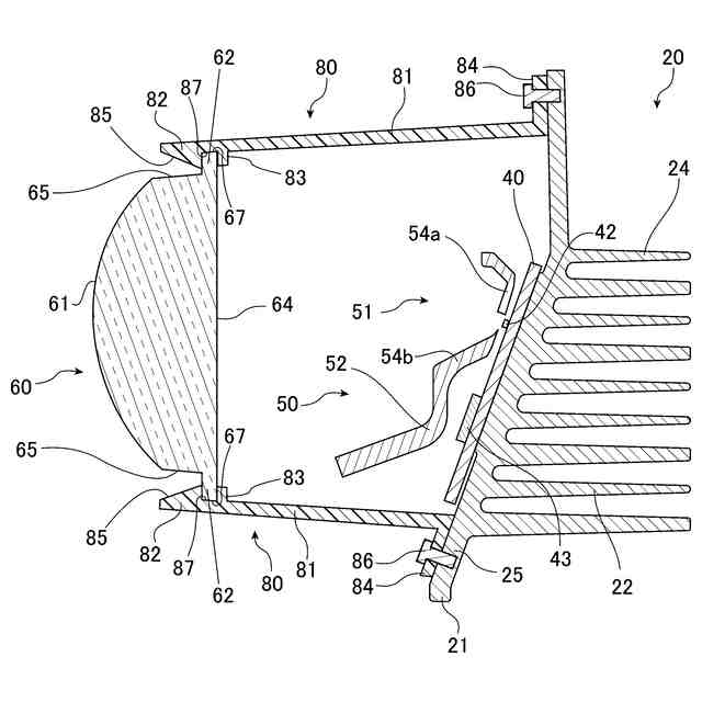
【課題】 出射する光の配光パターンが所定の配光パターンからずれることを抑制し得る車両用前照灯を提供する。
【解決手段】 車両用前照灯1は、光を出射する光源42と、光源42より前方に配置される投影レンズ60と、投影レンズ60より後方に配置され、光源42からの光を投影レンズ60に向けて反射する反射部51、及び投影レンズ60を支持する右支持部57a及び左支持部57bを有するリフレクタユニット50とを備える。
【選択図】 図2
特許請求の範囲
【請求項1】
光を出射する光源と、
前記光源より前方に配置される投影レンズと、
前記投影レンズより後方に配置され、前記光源からの前記光を前記投影レンズに向けて反射する反射部、及び前記投影レンズを支持する支持部を有するリフレクタユニットと、
を備える
ことを特徴とする車両用前照灯。
続きを表示(約 670 文字)
【請求項2】
前記投影レンズは、前記支持部より熱伝導率が低い部材を介して前記支持部に支持される
ことを特徴とする請求項1に記載の車両用前照灯。
【請求項3】
前記投影レンズは、後方側の面に前記支持部の一部が挿入される凹部を有する
ことを特徴とする請求項1または2に記載の車両用前照灯。
【請求項4】
前方側から前記投影レンズを押圧して前記投影レンズを前記支持部に押し付ける押圧部材をさらに備える
ことを特徴とする請求項1または2に記載の車両用前照灯。
【請求項5】
前記投影レンズにおける前記押圧部材に押圧される部位と、前記投影レンズにおける前記支持部に押し付けられる部位とは、前後方向において重ならない
ことを特徴とする請求項4に記載の車両用前照灯。
【請求項6】
前記投影レンズは、前記光源の前記光が透過するレンズ本体部と、前記レンズ本体部の外周から外方へ突出するフランジ部とを有し、
前記押圧部材は、前記フランジ部を押圧する
ことを特徴とする請求項4に記載の車両用前照灯。
【請求項7】
前記光源が搭載される基板が載置されるヒートシンクをさらに備え、
前記押圧部材は、前記ヒートシンクに固定される
ことを特徴とする請求項4に記載の車両用前照灯。
【請求項8】
前記リフレクタユニットは、基板に当接する
ことを特徴とする請求項4に記載の車両用前照灯。
発明の詳細な説明
【技術分野】
【0001】
本発明は、車両用前照灯に関する。
続きを表示(約 1,200 文字)
【背景技術】
【0002】
所定の配光パターンを形成するためにリフレクタユニットを備える車両用前照灯が知られており、下記特許文献1には、このような車両用前照灯が開示されている。
【0003】
下記特許文献1の車両用前照灯は、光を出射する光源と、光源より前方に配置される投影レンズと、投影レンズより後方に配置され、光源からの光を前記レンズに向けて反射する反射部を有するリフレクタユニットとを備える。光源はヒートシンクに載置される基板に搭載され、リフレクタユニットはヒートシンクに固定され、投影レンズは、ヒートシンクに固定されるレンズホルダに支持される。
【先行技術文献】
【特許文献】
【0004】
国際公開第2023/068153号
【発明の概要】
【発明が解決しようとする課題】
【0005】
上記特許文献1の車両用前照灯におけるリフレクタユニットと投影レンズとの相対的な位置は、ヒートシンクに対するリフレクタユニットの位置、ヒートシンクに対するレンズホルダの位置、及びレンズホルダに対する投影レンズの位置等の影響を受ける。リフレクタユニットと投影レンズとの相対的な位置が設計位置からずれると、出射する光の配光パターンが所定の配光パターンからずれる虞がある。
【0006】
そこで、本発明は、出射する光の配光パターンが所定の配光パターンからずれることを抑制し得る車両用前照灯を提供することを目的とする。
【課題を解決するための手段】
【0007】
上記目的の達成のため、車両用前照灯は、光を出射する光源と、前記光源より前方に配置される投影レンズと、前記投影レンズより後方に配置され、前記光源からの光を前記レンズに向けて反射する反射部、及び前記投影レンズを支持する支持部を有するリフレクタユニットとを備えることを特徴とするものである。
【0008】
この車両用前照灯では、上記のように、投影レンズは、リフレクタユニットの支持部によって支持される。このため、この車両用前照灯によれば、投影レンズがリフレクタユニットとは異なる部材に支持される場合と比べて、リフレクタユニットと投影レンズとの相対的な位置がずれることを抑制し得る。従って、この車両用前照灯によれば、出射する光の配光パターンが所定の配光パターンからずれることを抑制し得る。
【0009】
前記投影レンズは、前記支持部より熱伝導率が低い部材を介して前記支持部に支持されてもよい。
【0010】
このような構成によれば、リフレクタユニットから熱が投影レンズに伝わり難くし得、投影レンズが熱により変形することを抑制し得る。
(【0011】以降は省略されています)
この特許をJ-PlatPat(特許庁公式サイト)で参照する
関連特許
株式会社小糸製作所
車両用灯具
今日
株式会社小糸製作所
車両用灯具
1か月前
株式会社小糸製作所
車両用灯具
1か月前
株式会社小糸製作所
車両用灯具
1か月前
株式会社小糸製作所
車両用灯具
1か月前
株式会社小糸製作所
車両用灯具
1か月前
株式会社小糸製作所
車両用灯具
1か月前
株式会社小糸製作所
車両用灯具
1か月前
株式会社小糸製作所
車両用灯具
1か月前
株式会社小糸製作所
車両用灯具
1か月前
株式会社小糸製作所
スクリュー
1日前
株式会社小糸製作所
車輌用灯具
1か月前
株式会社小糸製作所
車両用灯具
7日前
株式会社小糸製作所
車両用灯具
7日前
株式会社小糸製作所
照明表示装置
1か月前
株式会社小糸製作所
虚像表示装置
9日前
株式会社小糸製作所
画像生成装置
23日前
株式会社小糸製作所
画像投影装置
15日前
株式会社小糸製作所
画像投影装置
1か月前
株式会社小糸製作所
画像表示装置
1か月前
株式会社小糸製作所
画像生成装置
9日前
株式会社小糸製作所
画像表示装置
23日前
株式会社小糸製作所
固定構造及び固定方法
29日前
株式会社小糸製作所
道路冠水通知システム
1か月前
株式会社小糸製作所
ヘッドアップディスプレイ
23日前
株式会社小糸製作所
電子ユニット及び車両用灯具
1か月前
株式会社小糸製作所
波長変換部材および白色発光素子
8日前
株式会社小糸製作所
画像投影ユニットおよび画像投影装置
1か月前
株式会社小糸製作所
レンズに付着する雪を融かす融雪機構
1か月前
株式会社小糸製作所
車両用灯具及び車両用灯具の製造方法
1か月前
株式会社小糸製作所
車両用灯具および車両用灯具の製造方法
9日前
株式会社小糸製作所
開閉機構、車両用灯具及び車両用前照灯
1か月前
株式会社小糸製作所
半導体発光素子および半導体発光素子の製造方法
7日前
株式会社小糸製作所
画像照射装置、画像投影装置、および画像照射方法
1か月前
株式会社小糸製作所
車両用灯具、ハウジング及びハウジングの製造方法
1か月前
株式会社小糸製作所
半導体成長用基板、半導体発光素子および半導体発光素子の製造方法
7日前
続きを見る
他の特許を見る