TOP
|
特許
|
意匠
|
商標
特許ウォッチ
Twitter
他の特許を見る
10個以上の画像は省略されています。
公開番号
2025155303
公報種別
公開特許公報(A)
公開日
2025-10-14
出願番号
2024059062
出願日
2024-04-01
発明の名称
レンズに付着する雪を融かす融雪機構
出願人
株式会社小糸製作所
代理人
弁理士法人あお葉国際特許事務所
主分類
F21S
45/60 20180101AFI20251006BHJP(照明)
要約
【課題】レンズに付着する雪を融かす融雪機構に関し、レンズに密着して剥がれない融雪機構を提供する。
【解決手段】光または/および電波を通過させるレンズと、給電により発熱し、前記レンズに密着して配置されるフィルムヒータと、前記フィルムヒータに積層して配置され、前記フィルムヒータを前記レンズと挟持して前記レンズに固定される、前記レンズと同じ物質で構成されるカバーと、を有することを特徴とするレンズに付着する雪を融かすように融雪機構を構成した。レンズがカバーと同じ構成部材であるため、温度変形の特性が同じとなり、レンズが温度変化してもレンズとカバーが同様に変形することから、レンズとカバーに挟持されたフィルムヒータは、温度が変化してもレンズに密着して剥がれない。
【選択図】図2
特許請求の範囲
【請求項1】
光または/および電波を通過させるレンズと、
給電により発熱し、前記レンズに密着して配置されるフィルムヒータと、
前記フィルムヒータに積層して配置され、前記フィルムヒータを前記レンズと挟持して前記レンズに固定される、前記レンズと同じ物質で構成されるカバーと、
を有することを特徴とするレンズに付着する雪を融かす融雪機構。
続きを表示(約 630 文字)
【請求項2】
前記フィルムヒータを開口部の内側に配置した枠状のシート状接着剤により、前記カバーは、前記レンズに固定される、
ことを特徴とする請求項1に記載のレンズに付着する雪を融かす融雪機構。
【請求項3】
前記レンズは、突出して周設されるリブを有し、
前記フィルムヒータは前記リブの内側に配置され、
前記カバーは、前記リブに固定される、
ことを特徴とする請求項1に記載のレンズに付着する雪を融かす融雪機構。
【請求項4】
前記カバーは、縁部に周設される立壁を有し、
前記立壁の内側に、前記フィルムヒータが配置され、
前記カバーは、前記立壁で前記レンズに固定される、
ことを特徴とする請求項1に記載のレンズに付着する雪を融かす融雪機構。
【請求項5】
前記レンズは、突出して周設されるリブを有し、
前記カバーは、前記リブに係合可能で、縁部に周設される立壁を有し、
前記カバーは、前記立壁の内側に前記フィルムヒータを配置した状態で、前記リブに係合して前記レンズに固定される、
ことを特徴とする請求項1に記載のレンズに付着する雪を融かす融雪機構。
【請求項6】
前記レンズは、少なくとも一部が、着色部材で構成される、
ことを特徴とする請求項1~請求項5のいずれか一項に記載のレンズに付着する雪を融かす融雪機構。
発明の詳細な説明
【技術分野】
【0001】
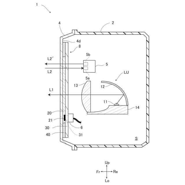
本発明は、レンズに備えられ、レンズに付着する雪を融かす融雪機構に関する。
続きを表示(約 1,000 文字)
【背景技術】
【0002】
車両用灯具のアウターレンズに付着した雪は、適切な光の照射の妨げとなる。レンズに融雪機能をもたせるため、給電されると発熱する導電性金属を有し、透光性を備えた薄膜状のフィルムヒータをレンズに透明粘着シートで貼り付けていた(特許文献1)。
【先行技術文献】
【特許文献】
【0003】
特開2023-039525号
【発明の概要】
【発明が解決しようとする課題】
【0004】
しかし、フィルムヒータとアウターレンズでは、主構成部材の線膨張係数に差があることや、三次元曲面への追従の難しさから、フィルムヒータがアウターレンズから剥がれてしまうという問題があった。
【0005】
このような問題はランプユニットを収容した灯具だけでない。近頃では、レーダやカメラなどの機器が多数車両に搭載されており、このような機器を収容した筐体のアウターレンズにも、フィルムヒータが貼り付けられているため、同様の問題が発生している。このため、フィルムヒータが融雪するべきレンズに密着して剥がれにくい融雪機構が望まれる。
【0006】
本発明は、これに鑑みてなされたものであり、レンズに密着して剥がれない融雪機構を提供する。
【課題を解決するための手段】
【0007】
上記問題を解決するため、本開示の融雪機構は、光または/および電波を通過させるレンズと、給電により発熱し、前記レンズに密着して配置されるフィルムヒータと、前記フィルムヒータに積層して配置され、前記フィルムヒータを前記レンズと挟持して前記レンズに固定される、前記レンズと同じ物質で構成されるカバーとを有するように構成した。
【0008】
また、ある態様においては、前記フィルムヒータを開口部の内側に配置した枠状のシート状接着剤により、前記カバーは、前記レンズに固定されるものとした。
【0009】
また、ある態様においては、前記レンズは、背面に突出して周設されるリブを有し、前記フィルムヒータは前記リブの内側に配置され、前記カバーは、前記リブに固定されるものとした。
【0010】
また、ある態様においては、前記カバーは、縁部に周設される立壁を有し、前記立壁の内側に、前記フィルムヒータが配置され、前記カバーは、前記立壁で前記レンズに固定されるように構成した。
(【0011】以降は省略されています)
この特許をJ-PlatPat(特許庁公式サイト)で参照する
関連特許
株式会社小糸製作所
車両用灯具
28日前
株式会社小糸製作所
車両用灯具
14日前
株式会社小糸製作所
車両用灯具
27日前
株式会社小糸製作所
車両用灯具
27日前
株式会社小糸製作所
車両用灯具
2日前
株式会社小糸製作所
車両用灯具
20日前
株式会社小糸製作所
車両用灯具
20日前
株式会社小糸製作所
車両用灯具
16日前
株式会社小糸製作所
車両用灯具
20日前
株式会社小糸製作所
車両用灯具
13日前
株式会社小糸製作所
車両用灯具
13日前
株式会社小糸製作所
車輌用灯具
13日前
株式会社小糸製作所
画像表示装置
7日前
株式会社小糸製作所
画像投影装置
20日前
株式会社小糸製作所
照明表示装置
27日前
株式会社小糸製作所
固定構造及び固定方法
今日
株式会社小糸製作所
道路冠水通知システム
14日前
株式会社小糸製作所
電子ユニット及び車両用灯具
27日前
株式会社小糸製作所
車両用灯具及び車両用灯具の製造方法
27日前
株式会社小糸製作所
画像投影ユニットおよび画像投影装置
23日前
株式会社小糸製作所
レンズに付着する雪を融かす融雪機構
23日前
株式会社小糸製作所
開閉機構、車両用灯具及び車両用前照灯
27日前
株式会社小糸製作所
車両用灯具、ハウジング及びハウジングの製造方法
27日前
株式会社小糸製作所
画像照射装置、画像投影装置、および画像照射方法
14日前
株式会社小糸製作所
配光制御装置、配光制御プログラムおよび車両用前照灯システム
27日前
株式会社小糸製作所
車両用赤外線センサ内蔵灯具
7日前
個人
室外機器
4か月前
個人
照明システム
4か月前
個人
消火器設置表示装置
10日前
個人
車載機器の通気構造
1か月前
個人
気泡を用いた遊具。
6か月前
株式会社遠藤照明
照明器具
5か月前
株式会社遠藤照明
照明装置
1か月前
株式会社小糸製作所
車両用灯具
1か月前
株式会社小糸製作所
車両用灯具
1か月前
デンカ株式会社
照明装置
4か月前
続きを見る
他の特許を見る