TOP
|
特許
|
意匠
|
商標
特許ウォッチ
Twitter
他の特許を見る
10個以上の画像は省略されています。
公開番号
2025154877
公報種別
公開特許公報(A)
公開日
2025-10-10
出願番号
2024058125
出願日
2024-03-29
発明の名称
照明装置
出願人
日本防災スキーム株式会社
代理人
個人
主分類
F21S
9/02 20060101AFI20251002BHJP(照明)
要約
【課題】ランプ本体に対する保護機能を満たしつつ、停電が発生した場合や他の場所を照らすために移動が必要な場合でも、点灯状態を維持したまま背負って両手が空いた状態で移動できる照明装置を提供する。
【解決手段】LEDライト2は、ランプユニット4と、ランプユニット4の一端から延びる第1電気コード6の先端に設けられた差込プラグ8と、ランプユニット4の他端から延びる第2電気コード10の先端に設けられた連結用コンセント12と、を備えている。ランプユニット4は、LED基板やバッテリを内蔵した直管型のランプ本体と、このランプ本体を略密閉状態に覆う円筒状のカバー部材とを備えている。差込プラグ8を連結用コンセント12に連結するとバッテリを電源としてLED素子が点灯し、連結された第1電気コード6と第2電気コード10がショルダーベルトとなって背負って移動することができる。
【選択図】図1
特許請求の範囲
【請求項1】
直管型のランプ本体と、
透光性の材料で形成され、前記ランプ本体を略密閉状態に覆う筒状のカバー部材と、
前記ランプ本体の一端に電気的に接続されて前記カバー部材の一端から延びる第1電気コードの先端に設けられた差込プラグと、
前記ランプ本体の他端に電気的に接続されて前記カバー部材の他端側から延びる第2電気コードの先端に設けられ、前記差込プラグを差し込み可能な連結用コンセントと、
前記ランプ本体の内部に設けられ、複数のLED素子が前記ランプ本体の長手方向に配設されたLED基板と、
前記ランプ本体の内部に設けられ、前記LED素子を駆動する駆動手段と、
前記ランプ本体の内部に設けられたバッテリと、を備え、
前記差込プラグを商用電源コンセントに差し込むことにより、商用電源を電源として前記LED素子を点灯させることが可能であり、
前記差込プラグを前記連結用コンセントに差し込むことにより、前記バッテリを電源として前記LED素子を点灯させることが可能である
ことを特徴とする照明装置。
続きを表示(約 1,200 文字)
【請求項2】
前記差込プラグを前記連結用コンセントに差し込む向きに応じて、前記バッテリを電源とする前記LED素子の点灯・消灯が切り替わるように構成した
ことを特徴とする請求項1に記載の照明装置。
【請求項3】
前記差込プラグを前記連結用コンセントに差し込む向きを切り替えることで、L側とN側の電源ライン間が接続されたON状態と切断されたOFF状態とを切り替え可能であり、
L-N接続のON/OFFを検出するL-N接続検出部と、
前記バッテリから前記LED素子への電源の供給の有無を制御するバッテリ電源制御部と、を備え、
前記L-N接続検出部は、前記商用電源の電源断が検出された場合、前記L-N接続がON状態であるかOFF状態であるかを検出し、L-N接続ON/OFF信号を前記バッテリ電源制御部へ出力する
ことを特徴とする請求項1に記載の照明装置。
【請求項4】
前記バッテリ電源制御部は、
前記L-N接続検出部からのL-N接続ON信号を入力した場合、前記バッテリから前記LED素子への電源の供給を行い、
前記L-N接続検出部からのL-N接続OFF信号を入力した場合、前記バッテリから前記LED素子への電源の供給を行わない
ことを特徴とする請求項3に記載の照明装置。
【請求項5】
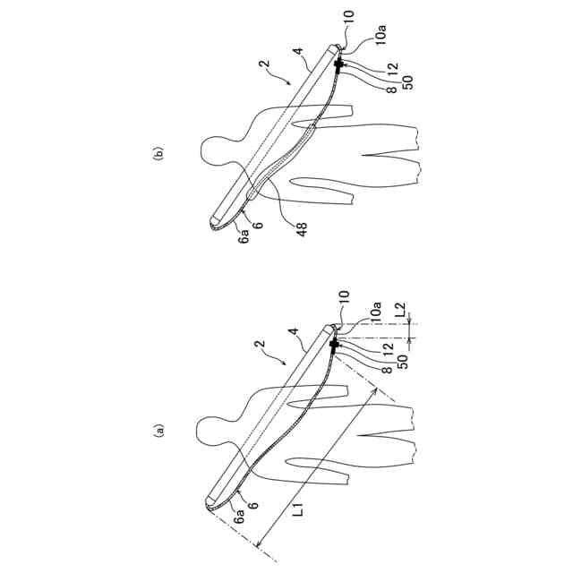
前記差込プラグを前記連結用コンセントに差し込んだ状態で、ループ状に連結された前記第1電気コード及び前記第2電気コードによって、前記ランプ本体及び前記カバー部材を背負うためのショルダーベルトが構成される
ことを特徴とする請求項1に記載の照明装置。
【請求項6】
前記第1電気コード及び前記第2電気コードは、所定の引張荷重に対する耐性を有する被覆材で被覆された構成である
ことを特徴とする請求項5に記載の照明装置。
【請求項7】
前記差込プラグを前記連結用コンセントに差し込んだ状態でそれらを連結可能な連結具を備え、
前記連結具は、前記差込プラグと前記連結用コンセントとの連結状態でのロック及びその解除が可能な構成である
ことを特徴とする請求項5又は6に記載の照明装置。
【請求項8】
前記第1電気コード及び前記第2電気コードを前記ショルダーベルトとして使用する際に、それらの少なくとも肩に当たる部分が柔軟な帯状部材で覆われている
ことを特徴とする請求項7に記載の照明装置。
【請求項9】
前記バッテリが前記商用電源により充放電可能に設けられていることを特徴とする請求項1に記載の照明装置。
【請求項10】
前記バッテリから前記LED素子への電源の供給をオンオフするスイッチを有し、
前記スイッチは、前記カバー部材の外面に露出して設けられている
ことを特徴とする請求項1に記載の照明装置。
発明の詳細な説明
【技術分野】
【0001】
本発明は、照明装置に関し、特に、パイプライト型のLEDライトに関する。
続きを表示(約 2,100 文字)
【背景技術】
【0002】
特許文献1には、照明器具にセットして商用電源からの電力供給で複数のLEDチップを点灯させ、停電時には自動的に内蔵のバッテリ(蓄電池)に電源を切り替ることができるように構成することで、停電後にも点灯状態を維持できる無停電直管型LEDランプが開示されている。また、特許文献1には、停電時に自動点灯した状態のLEDランプを照明器具から分離して手に取って移動することができる旨、記載されている。
【先行技術文献】
【特許文献】
【0003】
特開2015-220222号公報
【発明の概要】
【発明が解決しようとする課題】
【0004】
特許文献1に記載の無停電直管型LEDランプによれば、災害時等の夜間に停電が発生してもある程度の時間点灯状態を維持することができ、必要があれば、LEDランプを照明器具から取り外して周囲を照らしながら移動することができる。
【0005】
ところで、屋外の工事現場等では、照明装置や電動工具等を使用するための商用電源のコンセントが用意されている場合があるが、両端に電源入力端子を有する直管型LEDランプをセットするための照明器具は用意されていない場合が多い。また、工事現場等では物が当たったりするので、LEDランプの防護機能(耐衝撃性)が必要であるとともに、雨天時等に対する防水性等の耐候性も必要となる。この点、特許文献1に記載の無停電直管型LEDランプは、特に非常時等に照明器具から取り外した状態のLEDランプは裸電球に等しい状態となるため、防護機能や耐候性が不十分であり、また、持ち運びにもあまり適したものでは無く、それらの点で改善の余地がある。
【0006】
特に、LEDランプ付きの照明装置では、屋外使用における耐衝撃性や耐候性を考慮した仕様とするとその分、重量やサイズが増大することが想定されるため、非常時等に点灯状態のまま手で持って移動することは困難となるばかりでなく、手が塞がって災害時等における行動が制限されることを否めない。
【0007】
本発明は上述の点に鑑みてなされたものであり、その目的は、LEDランプのランプ本体に対する保護機能を満たしつつ、屋外の工事現場等において商用電源コンセントだけでも点灯させることができるとともに、停電が生じた場合や他の場所を照らすために移動が必要な場合でも、点灯状態を維持したまま背負うことができ、両手が空いた状態での移動が可能となる照明装置を提供することにある。
【課題を解決するための手段】
【0008】
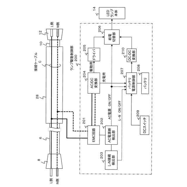
上記目的を達成するために、本発明の照明装置は、直管型のランプ本体(14)と、透光性の材料で形成され、前記ランプ本体(14)を略密閉状態に覆う筒状のカバー部材(16)と、前記ランプ本体(14)の一端に電気的に接続されて前記カバー部材(16)の一端から延びる第1電気コード(6)の先端に設けられた差込プラグ(8)と、前記ランプ本体(14)の他端に電気的に接続されて前記カバー部材(16)の他端側から延びる第2電気コード(10)の先端に設けられ、前記差込プラグ(8)を差し込み可能な連結用コンセント(12)と、前記ランプ本体(14)の内部に設けられ、複数のLED素子(18)が前記ランプ本体(14)の長手方向に配設されたLED基板(20)と、前記ランプ本体(14)の内部に設けられ、前記LED素子(18)を駆動する駆動手段(200)と、前記ランプ本体(14)の内部に設けられたバッテリ(208)と、を備え、前記差込プラグ(8)を商用電源コンセント(26)に差し込むことにより、前記商用電源で前記LED素子(18)を点灯させることが可能であり、前記差込プラグ(8)を前記連結用コンセント(12)に差し込むことにより、前記バッテリ(208)で前記LED素子(18)を点灯させることが可能であることを特徴とする。
【0009】
そして、本発明に係る照明装置では、前記差込プラグ(8)を前記連結用コンセント(12)に差し込む向きに応じて、前記バッテリ(208)を電源とする前記LED素子(18)の点灯・消灯が切り替わるように構成することが望ましい。
【0010】
この場合の具体的な一態様として、前記差込プラグ(8)を前記連結用コンセント(12)に差し込む向きを切り替えることで、L側とN側の電源ライン間が接続されたON状態と切断されたOFF状態を切り替え可能(L-N接続のON/OFFを切り替え可能)であり、L-N接続のON/OFFを検出するL-N接続検出部(203)と、前記バッテリ(208)から前記LED素子(18)への電源の供給の有無を制御するバッテリ電源制御部(207)と、を備え、前記L-N接続検出部(203)は、前記商用電源の電源断が検出された場合、L-N接続がON状態であるかOFF状態であるかを検出し、L-N接続ON/OFF信号を前記バッテリ電源制御部(207)へ出力するようにしてよい。
(【0011】以降は省略されています)
この特許をJ-PlatPat(特許庁公式サイト)で参照する
関連特許
個人
照明装置
1か月前
個人
照明システム
5か月前
個人
車載機器の通気構造
3か月前
個人
消火器設置表示装置
1か月前
株式会社遠藤照明
照明器具
今日
株式会社遠藤照明
照明装置
2か月前
能美防災株式会社
表示灯
3か月前
個人
LEDライト
5か月前
株式会社小糸製作所
車両用灯具
2か月前
日亜化学工業株式会社
面状光源
14日前
株式会社小糸製作所
車両用灯具
2か月前
フルトラム株式会社
光学機器
2か月前
株式会社小糸製作所
投光装置
3か月前
アクア株式会社
冷蔵庫
4か月前
株式会社小糸製作所
投光装置
3か月前
株式会社小糸製作所
誘導装置
2か月前
スタンレー電気株式会社
照射用光源
2か月前
株式会社小糸製作所
車両用灯具
1か月前
株式会社小糸製作所
車両用灯具
6日前
株式会社小糸製作所
車両用灯具
1か月前
株式会社小糸製作所
車両用灯具
1か月前
株式会社小糸製作所
車両用灯具
5か月前
株式会社小糸製作所
表示用灯具
2か月前
株式会社小糸製作所
車両用灯具
5か月前
株式会社小糸製作所
車両用灯具
1か月前
株式会社小糸製作所
車両用灯具
5か月前
株式会社小糸製作所
表示用灯具
2か月前
株式会社小糸製作所
車両用灯具
1か月前
東芝ライテック株式会社
照明装置
4か月前
日東電工株式会社
照明装置
2か月前
日本精機株式会社
照明装置及び表示装置
13日前
三協立山株式会社
照明付きポール
4か月前
スタンレー電気株式会社
照明装置
2か月前
株式会社北井地所
照明装置
2か月前
株式会社小糸製作所
車両用前照灯
2か月前
シャープ株式会社
照明装置
6日前
続きを見る
他の特許を見る