TOP
|
特許
|
意匠
|
商標
特許ウォッチ
Twitter
他の特許を見る
10個以上の画像は省略されています。
公開番号
2025132284
公報種別
公開特許公報(A)
公開日
2025-09-10
出願番号
2024029722
出願日
2024-02-29
発明の名称
投光装置
出願人
株式会社小糸製作所
代理人
個人
主分類
F21S
2/00 20160101AFI20250903BHJP(照明)
要約
【課題】可視光照射と赤外光照射とを行い得るように構成された投光装置において、コンパクトな装置構成で、複数の可視光発光素子から出射光による投光対象物の視認性を高める。
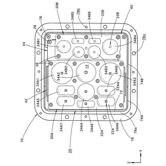
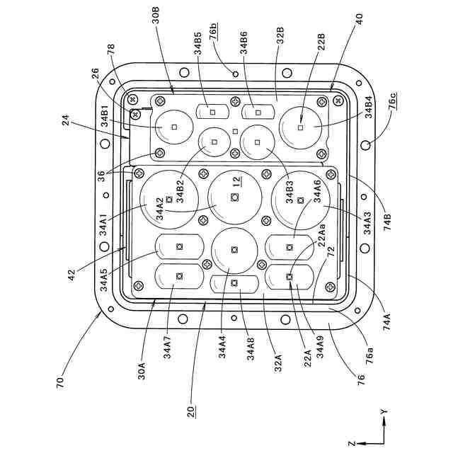
【解決手段】9個の可視光発光素子22Aからの出射光を透光制御する第1透光部材30Aと、6個の複数の赤外光発光素子22Bからの出射光を透光制御する第2透光部材30Bとを備えた構成とする。第1透光部材30Aとして、4個の可視光発光素子22Aからの出射光を収束光として出射させる4個の集光用レンズ部34A1~34A4と、5個の可視光発光素子22Aからの出射光を上下方向に拡散する拡散光として出射させる5個の拡散用レンズ部34A5~34A9とを備えた構成とした上で、4個の集光用レンズ部34A1~34A4を5個の拡散用レンズ部34A5~34A9よりも第2透光部材30B寄りの位置に配置する。これにより第1透光部材30Aの占有空間を小さくする。
【選択図】図7
特許請求の範囲
【請求項1】
複数の発光素子からの出射光を、透光部材を介して装置前方へ向けて照射するように構成された投光装置において、
上記複数の発光素子として、複数の可視光発光素子と複数の赤外光発光素子とを備えており、かつ、上記複数の可視光発光素子と上記複数の赤外光発光素子とが所要方向に関して領域分けされた状態で配置されており、
上記透光部材として、上記複数の可視光発光素子からの出射光を透光制御するための複数の第1レンズ部が形成された第1透光部材と、上記複数の赤外光発光素子からの出射光を透光制御するための複数の第2レンズ部が形成された第2透光部材とを備えており、
上記第1透光部材は、上記複数の第1レンズ部として、上記複数の可視光発光素子からの出射光を収束光として出射させる複数の集光用レンズ部と、上記複数の可視光発光素子からの出射光を上記所要方向と直交する方向に拡散する拡散光として出射させる複数の拡散用レンズ部とを備えており、
上記複数の集光用レンズ部は、上記複数の拡散用レンズ部よりも上記第2透光部材寄りの位置に配置されている、ことを特徴とする投光装置。
続きを表示(約 650 文字)
【請求項2】
上記複数の集光用レンズ部の各々は、ドーム状の表面形状を有しており、
上記複数の拡散用レンズ部の各々は、ドーム形状における上記所要方向の両側部分が切除された表面形状を有している、ことを特徴とする請求項1記載の投光装置。
【請求項3】
上記複数の可視光発光素子が搭載された基板と、上記基板および上記第1透光部材を支持する支持部材とを備えており、
上記支持部材は、上記基板に当接するように形成された複数の基板用台座部と、上記第1透光部材に当接するように形成された複数の透光部材用台座部とを備えており、
上記基板に、上記複数の透光部材用台座部を挿通させるための複数の挿通孔が形成されている、ことを特徴とする請求項1または2記載の投光装置。
【請求項4】
上記基板は、上記複数の基板用台座部において上記支持部材にネジ締め固定されており、
上記第1透光部材は、上記複数の透光部材用台座部において上記支持部材にネジ締め固定されている、ことを特徴とする請求項3記載の投光装置。
【請求項5】
上記第2透光部材は、上記複数の第2レンズ部として、上記複数の赤外光発光素子からの出射光を収束光として出射させる複数の集光用レンズ部と、上記複数の赤外光発光素子からの出射光を上記所要方向と直交する方向に拡散する拡散光として出射させる複数の拡散用レンズ部とを備えている、ことを特徴とする請求項1または2記載の投光装置。
発明の詳細な説明
【技術分野】
【0001】
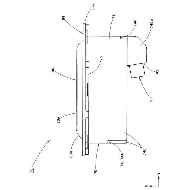
本願発明は、航空機やヘリコプター等に装着される投光装置に関するものである。
続きを表示(約 1,400 文字)
【背景技術】
【0002】
一般に、航空機やヘリコプター等には、夜間の前方視界や下方視界を確保するための投光装置が装着されている。
【0003】
「特許文献1」には、ヘリコプターの下部に装着された投光装置として、斜め下方へ向けて可視光照射と赤外光照射とを行い得るように構成されたものが記載されている。
【0004】
この「特許文献1」に記載された投光装置は、複数の可視光発光素子からの出射光を透光制御するための複数の第1レンズ部が形成された第1透光部材と、複数の赤外光発光素子からの出射光を透光制御するための複数の第2レンズ部が形成された第2透光部材とを備えており、かつ、これらが上下方向に領域分けされた状態で配置された構成となっている。
【先行技術文献】
【特許文献】
【0005】
特開2023-149316号公報
【発明の概要】
【発明が解決しようとする課題】
【0006】
このような投光装置においては、第1透光部材を介して照射される可視光により形成される可視光配光パターンとして、その中心領域の明るさを十分に確保した上でその両側への拡がりがある横長の配光パターンとすることが、複数の可視光発光素子からの出射光による投光対象物の視認性を高める上で望ましい。
【0007】
しかしながら、投光装置の限られたスペースにおいて、これを実現し得る構成とすることは容易でない。
【0008】
本願発明は、このような事情に鑑みてなされたものであって、可視光照射と赤外光照射とを行い得るように構成された投光装置において、コンパクトな装置構成で、複数の可視光発光素子から出射光による投光対象物の視認性を高めることができる投光装置を提供することを目的とするものである。
【課題を解決するための手段】
【0009】
本願発明は、複数の第1レンズ部の配置およびその各々の構成に工夫を施すことにより、上記目的達成を図るようにしたものである。
【0010】
すなわち、本願発明に係る投光装置は、
複数の発光素子からの出射光を、透光部材を介して装置前方へ向けて照射するように構成された投光装置において、
上記複数の発光素子として、複数の可視光発光素子と複数の赤外光発光素子とを備えており、かつ、上記複数の可視光発光素子と上記複数の赤外光発光素子とが所要方向に関して領域分けされた状態で配置されており、
上記透光部材として、上記複数の可視光発光素子からの出射光を透光制御するための複数の第1レンズ部が形成された第1透光部材と、上記複数の赤外光発光素子からの出射光を透光制御するための複数の第2レンズ部が形成された第2透光部材とを備えており、
上記第1透光部材は、上記複数の第1レンズ部として、上記複数の可視光発光素子からの出射光を収束光として出射させる複数の集光用レンズ部と、上記複数の可視光発光素子からの出射光を上記所要方向と直交する方向に拡散する拡散光として出射させる複数の拡散用レンズ部とを備えており、
上記複数の集光用レンズ部は、上記複数の拡散用レンズ部よりも上記第2透光部材寄りの位置に配置されている、ことを特徴とするものである。
(【0011】以降は省略されています)
この特許をJ-PlatPat(特許庁公式サイト)で参照する
関連特許
株式会社小糸製作所
車両用灯具
6日前
株式会社小糸製作所
表示用灯具
12日前
株式会社小糸製作所
車両用灯具
5日前
株式会社小糸製作所
車両用灯具
8日前
株式会社小糸製作所
車両用灯具
8日前
株式会社小糸製作所
車両用灯具
5日前
株式会社小糸製作所
表示システム
7日前
株式会社小糸製作所
照明表示装置
5日前
株式会社小糸製作所
虚像表示装置
7日前
株式会社小糸製作所
表示制御装置及び表示装置
7日前
株式会社小糸製作所
電子ユニット及び車両用灯具
5日前
株式会社小糸製作所
レンズに付着する雪を融かす融雪機構
1日前
株式会社小糸製作所
車両用灯具及び車両用灯具の製造方法
5日前
株式会社小糸製作所
画像投影ユニットおよび画像投影装置
1日前
株式会社小糸製作所
開閉機構、車両用灯具及び車両用前照灯
5日前
株式会社小糸製作所
車両用灯具、ハウジング及びハウジングの製造方法
5日前
株式会社小糸製作所
光源ユニット、光源ユニットの製造方法、および車両用灯具
6日前
株式会社小糸製作所
配光制御装置、配光制御プログラムおよび車両用前照灯システム
5日前
株式会社小糸製作所
車両用センサ装置
8日前
株式会社小糸製作所
調整装置、調整システム、制御方法、制御プログラム、および記録媒体
12日前
個人
室外機器
3か月前
個人
照明システム
3か月前
個人
気泡を用いた遊具。
5か月前
個人
車載機器の通気構造
1か月前
株式会社遠藤照明
照明装置
26日前
株式会社遠藤照明
照明器具
4か月前
能美防災株式会社
表示灯
1か月前
個人
LEDライト
3か月前
株式会社小糸製作所
車両用灯具
8日前
デンカ株式会社
照明装置
4か月前
株式会社小糸製作所
車両用灯具
8日前
デンカ株式会社
道路用照明
4か月前
アクア株式会社
冷蔵庫
2か月前
スタンレー電気株式会社
照射用光源
12日前
株式会社小糸製作所
誘導装置
19日前
フルトラム株式会社
光学機器
7日前
続きを見る
他の特許を見る