TOP
|
特許
|
意匠
|
商標
特許ウォッチ
Twitter
他の特許を見る
公開番号
2025139290
公報種別
公開特許公報(A)
公開日
2025-09-26
出願番号
2024038136
出願日
2024-03-12
発明の名称
照明装置
出願人
株式会社北井地所
,
個人
代理人
個人
主分類
F21S
9/03 20060101AFI20250918BHJP(照明)
要約
【課題】照明光及び太陽電池による発電のための光として、光源からの光をより効率よく利用可能な照明装置を提供する。
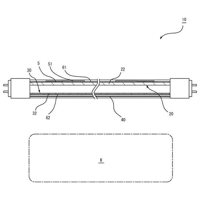
【解決手段】照明装置1は、光源2と、光透過性を有し、光源2を収容する直管型のカバー部材6と、光反射性を有し、カバー部材6の内周面6sに向くようにカバー部材6の内部に設けられた反射部材4と、カバー部材6の内部に収容され、照射される光によって発電可能な太陽電池3と、光源2及び太陽電池3のそれぞれに電気的に接続され、太陽電池3からの電力を蓄電するとともに蓄電した電力を光源2に供給する蓄電池5と、を備える。内周面6sのうち少なくとも光源2から照射された直接光L1が照射される範囲には、直接光L1を拡散反射させる拡散面6tが設けられている。
【選択図】図1
特許請求の範囲
【請求項1】
光源と、
光透過性を有し、前記光源を収容する直管型のカバー部材と、
光反射性を有し、前記カバー部材の内周面に向くように前記カバー部材の内部に設けられた反射部材と、
前記カバー部材の内部に収容され、照射される光によって発電可能な太陽電池と、
前記光源及び前記太陽電池のそれぞれに電気的に接続され、前記太陽電池からの電力を蓄電するとともに蓄電した電力を前記光源に供給する蓄電池と、を備え、
前記内周面のうち少なくとも前記光源から照射された直接光が照射される範囲には、前記直接光を拡散反射させる拡散面が設けられている、照明装置。
続きを表示(約 610 文字)
【請求項2】
前記光源は、所定の照明対象領域と前記太陽電池との間に配置され、前記内周面の全周に向けて発光する発光素子を含み、
前記反射部材は、前記照明対象領域から見て前記発光素子の反対側に前記太陽電池と並んで配置され、前記直接光及び前記拡散面から照射された拡散光のうち少なくとも一方を反射させた反射光を前記太陽電池に照射する、請求項1に記載の照明装置。
【請求項3】
前記光源は、前記発光素子としての冷陰極ランプを含む、請求項2に記載の照明装置。
【請求項4】
前記光源は、所定の照明対象領域に向けて発光する発光ダイオード素子を含み、
前記太陽電池は、前記光源と対向するように前記照明対象領域と前記光源との間に配置され、
前記反射部材は、前記照明対象領域と前記太陽電池との間に配置され、前記拡散面から照射された拡散光を反射させて、前記照明対象領域のうち前記直接光が照射されない領域に反射光を照射する、請求項1に記載の照明装置。
【請求項5】
前記反射部材は、前記カバー部材の長手方向に直交する断面において、前記照明対象領域に向かって突出するV字状に形成されている、請求項2から4のいずれか1項に記載の照明装置。
【請求項6】
前記拡散面は、前記内周面の全体に設けられた微細な凹凸構造によって形成されている、請求項1に記載の照明装置。
発明の詳細な説明
【技術分野】
【0001】
本発明は、照明装置に関する。
続きを表示(約 1,400 文字)
【背景技術】
【0002】
太陽電池で発電した電力を利用する照明装置が知られている。例えば特許文献1に記載された照明装置は、照明灯光源と、太陽光及び照明灯光源からの光を受けて発電する太陽電池と、太陽電池が発電した電力を蓄電し、照明灯光源に供給する蓄電池と、を備えている。
【0003】
特許文献1に記載された照明装置において、太陽電池は、太陽光のない夜間等でも照明灯光源から照射された光によって発電が可能である。このため、太陽光のみで発電した電力を利用する照明装置と比べて電力不足が生じにくい。
【先行技術文献】
【特許文献】
【0004】
特開2013-229298号公報
【発明の概要】
【発明が解決しようとする課題】
【0005】
上記の照明装置においては、光源であるLED照明灯を覆うカバー部材の外部に太陽電池が設置されているので、光源から太陽電池までの間の距離が大きくなりやすい。この距離が大きくなると、太陽電池が効率よく光を受けられず、十分な発電量が得られない場合がある。一方で、光源から太陽電池までの間の距離が小さくなるように設置すると、光源からの光の一部が太陽電池によって遮られ、照明光が不足してしまう場合がある。したがって、照明光及び太陽電池による発電のための光として、光源からの光をより効率よく利用することが求められる。
【0006】
本発明は、照明光及び太陽電池による発電のための光として、光源からの光をより効率よく利用可能な照明装置を提供することを目的とする。
【課題を解決するための手段】
【0007】
本発明に係る照明装置は、光源と、光透過性を有し、前記光源を収容する直管型のカバー部材と、光反射性を有し、前記カバー部材の内周面に向くように前記カバー部材の内部に設けられた反射部材と、前記カバー部材の内部に収容され、照射される光によって発電可能な太陽電池と、前記光源及び前記太陽電池のそれぞれに電気的に接続され、前記太陽電池からの電力を蓄電するとともに蓄電した電力を前記光源に供給する蓄電池と、を備え、前記内周面のうち少なくとも前記光源から照射された直接光が照射される範囲には、前記直接光を拡散反射させる拡散面が設けられている。
【発明の効果】
【0008】
本発明によれば、照明光及び太陽電池による発電のための光として、光源からの光をより効率よく利用可能な照明装置を提供することができる。
【図面の簡単な説明】
【0009】
図1は、第1実施形態に係る照明装置を概略的に示す断面図である。
図2は、第2実施形態に係る照明装置を概略的に示す断面図である。
図3は、図2に示すIII-III線に沿った断面図である。
【発明を実施するための形態】
【0010】
以下、本発明の実施形態について、図面を参照して詳細に説明する。説明において、同一の要素又は相当する要素には同一の符号を用い、重複する説明を省略する場合がある。また、説明の便宜上、照明装置の設置状態を基準として、鉛直方向上側を示す「上」、鉛直方向下側を示す「下」の用語を用いる。
(【0011】以降は省略されています)
この特許をJ-PlatPat(特許庁公式サイト)で参照する
関連特許
株式会社北井地所
照明装置
1か月前
個人
室外機器
5か月前
個人
照明装置
13日前
個人
照明システム
4か月前
個人
車載機器の通気構造
2か月前
個人
消火器設置表示装置
24日前
個人
気泡を用いた遊具。
7か月前
株式会社遠藤照明
照明器具
6か月前
株式会社遠藤照明
照明装置
2か月前
個人
LEDライト
4か月前
デンカ株式会社
照明装置
5か月前
能美防災株式会社
表示灯
2か月前
株式会社小糸製作所
車両用灯具
1か月前
株式会社小糸製作所
車両用灯具
1か月前
デンカ株式会社
道路用照明
5か月前
スタンレー電気株式会社
照射用光源
1か月前
アクア株式会社
冷蔵庫
3か月前
株式会社小糸製作所
誘導装置
1か月前
フルトラム株式会社
光学機器
1か月前
瀧住電機工業株式会社
ダクトレール
8か月前
株式会社小糸製作所
投光装置
2か月前
株式会社小糸製作所
投光装置
2か月前
株式会社小糸製作所
車両用灯具
5か月前
株式会社小糸製作所
表示用灯具
1か月前
株式会社小糸製作所
車両用灯具
5か月前
株式会社小糸製作所
車両用灯具
4か月前
株式会社小糸製作所
車両用灯具
1か月前
株式会社小糸製作所
車両用灯具
28日前
株式会社小糸製作所
車両用灯具
5か月前
株式会社小糸製作所
車両用灯具
27日前
株式会社小糸製作所
車両用灯具
27日前
株式会社小糸製作所
車両用灯具
5か月前
株式会社小糸製作所
車両用灯具
9か月前
株式会社オカムラ
間仕切り装置
8か月前
株式会社小糸製作所
車両用灯具
8か月前
株式会社小糸製作所
車両用灯具
4か月前
続きを見る
他の特許を見る