TOP
|
特許
|
意匠
|
商標
特許ウォッチ
Twitter
他の特許を見る
10個以上の画像は省略されています。
公開番号
2025161432
公報種別
公開特許公報(A)
公開日
2025-10-24
出願番号
2024064606
出願日
2024-04-12
発明の名称
車両用灯具
出願人
株式会社小糸製作所
代理人
個人
主分類
F21S
43/241 20180101AFI20251017BHJP(照明)
要約
【課題】 導光板における光を出射する範囲を広げ得る車両用灯具を提供する。
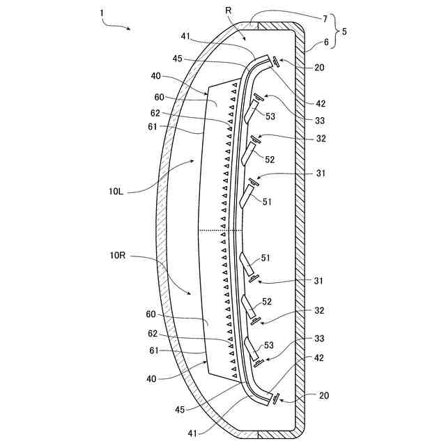
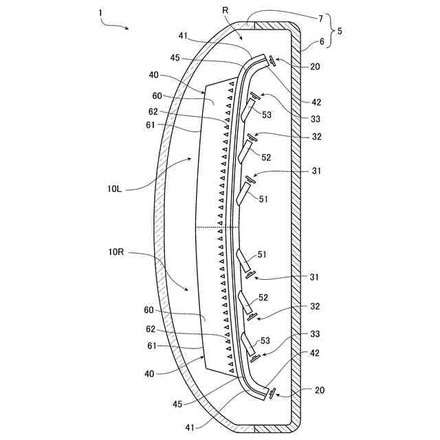
【解決手段】 車両用灯具1は、光源20と、導光体ユニット40と、を含む灯具ユニット10R,10Lを備える。導光体ユニット40は、光源20からの光を導光すると共に径方向で光学的に接続するように互いに並列される一対の柱状導光体41,42、及び、柱状導光体41の外周面に接続されて当該柱状導光体41を伝搬する光を出射する導光板60を含む。
【選択図】 図1
特許請求の範囲
【請求項1】
光源と、前記光源からの光を導光すると共に径方向で光学的に接続するように互いに並列される一対の柱状導光体、及び、一方の前記柱状導光体の外周面に接続されて当該一方の柱状導光体を伝搬する光を出射する導光板を含む導光体ユニットと、を含む灯具ユニットを備える
ことを特徴とする車両用灯具。
続きを表示(約 780 文字)
【請求項2】
前記導光体ユニットは、前記一対の柱状導光体の外周面のそれぞれに接続される接続導光板を更に含む
ことを特徴とする請求項1に記載の車両用灯具。
【請求項3】
前記一方の柱状導光体の長手方向と垂直な断面において、前記導光板の前記一方の柱状導光体との接続部での厚みは、前記接続導光板の前記一方の柱状導光体との接続部での厚み以下である
ことを特徴とする請求項2に記載の車両用灯具。
【請求項4】
前記接続導光板の厚みは、前記光源側ほど小さい
ことを特徴とする請求項2に記載の車両用灯具。
【請求項5】
前記一対の柱状導光体の間隔は、前記光源側ほど広い
ことを特徴とする請求項2に記載の車両用灯具。
【請求項6】
前記一対の柱状導光体の前記光源側と反対側における外周面は、互いに接続されている
ことを特徴とする請求項5に記載の車両用灯具。
【請求項7】
前記一対の柱状導光体は、当該一対の柱状導光体の外周面が互いに接続されることで光学的に接続される
ことを特徴とする請求項1に記載の車両用灯具。
【請求項8】
他方の前記柱状導光体に入射される前記光源からの光量は、一方の前記柱状導光体に入射される前記光源からの光量より多い
ことを特徴とする請求項1に記載の車両用灯具。
【請求項9】
他方の前記柱状導光体は、前記一方の柱状導光体より太い
ことを特徴とする請求項1に記載の車両用灯具。
【請求項10】
前記一対の柱状導光体の少なくとも一方は、前記光源側と反対側ほど細い
ことを特徴とする請求項1に記載の車両用灯具。
(【請求項11】以降は省略されています)
発明の詳細な説明
【技術分野】
【0001】
本発明は、車両用灯具に関する。
続きを表示(約 1,200 文字)
【背景技術】
【0002】
車両用灯具として、光源と、光源からの光を導光する導光体ユニットと、を備えるものがあり、下記特許文献1には、このような車両用灯具が開示されている。
【0003】
下記特許文献1の車両用灯具では、導光体ユニットは、1つの柱状導光体と、柱状導光体の外周面に接続される導光板と、から成る。この柱状導光体は、長手方向の一端側から他端側に光源からの光を導光する。柱状導光体を伝搬する光が導光板に導光され、導光板は、柱状導光体から導光される光を出射する。
【先行技術文献】
【特許文献】
【0004】
国際公開第2023/157585号
【発明の概要】
【発明が解決しようとする課題】
【0005】
このような導光体ユニットでは、柱状導光体を伝搬する光の量は、他端側に行くほど少なくなる傾向にあり、柱状導光体を長くすると、光を遠くまで伝搬させ難くなる場合がある。このため、光をより遠くまで伝搬させて、導光板における光を出射する範囲を広げたいとの要望がある。
【0006】
そこで本発明は、導光板における光を出射する範囲を広げ得る車両用灯具を提供することを目的とする。
【課題を解決するための手段】
【0007】
上記目的の達成のため、本発明の車両用灯具は、光源と、前記光源からの光を導光すると共に径方向で光学的に接続するように互いに並列される一対の柱状導光体、及び、一方の前記柱状導光体の外周面に接続されて当該一方の柱状導光体を伝搬する光を出射する導光板を含む導光体ユニットと、を含む灯具ユニットを備えることを特徴とするものである。
【0008】
この車両用灯具の導光体ユニットでは、径方向で光学的に接続するように並列される一対の柱状導光体の一方の柱状導光体の外周面に導光板が接続される。このため、導光板が接続されてない他方の柱状導光体を伝搬する光は、導光板が接続された一方の柱状導光体に伝搬してから導光板に伝搬する。このため、この車両用灯具によれば、導光体ユニットが1つの柱状導光体と当該柱状導光体の外周面に接続される導光板とから成る場合と比べて、光源からの光が一対の柱状導光体に残り易くし得、光源から離れた位置においても一方の柱状導光体から導光板に光が伝搬するようにし得る。従って、この車両用灯具によれば、上記の場合と比べて、柱状導光体において光をより遠くまで伝搬し得、導光板における光を出射する範囲を広げ得る。
【0009】
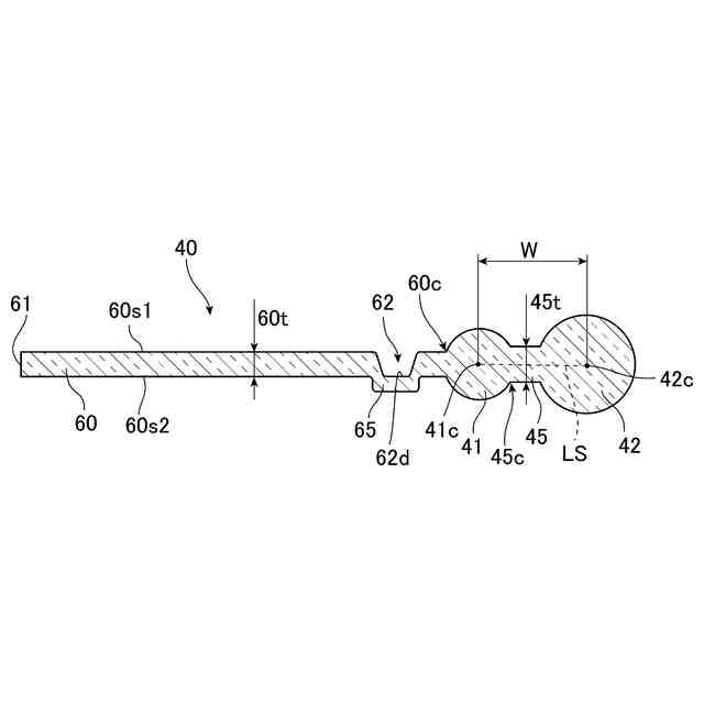
前記導光体ユニットは、前記一対の柱状導光体の外周面のそれぞれに接続される接続導光板を更に含んでもよい。
【0010】
前記一方の柱状導光体の長手方向と垂直な断面において、前記導光板の前記一方の柱状導光体との接続部での厚みは、前記接続導光板の前記一方の柱状導光体との接続部での厚み以下であってもよい。
(【0011】以降は省略されています)
この特許をJ-PlatPat(特許庁公式サイト)で参照する
関連特許
株式会社小糸製作所
車両用灯具
3日前
株式会社小糸製作所
車両用灯具
1か月前
株式会社小糸製作所
車両用灯具
1か月前
株式会社小糸製作所
車両用灯具
1か月前
株式会社小糸製作所
車両用灯具
1か月前
株式会社小糸製作所
車両用灯具
1か月前
株式会社小糸製作所
車両用灯具
1か月前
株式会社小糸製作所
車両用灯具
1か月前
株式会社小糸製作所
車両用灯具
1か月前
株式会社小糸製作所
車両用灯具
1か月前
株式会社小糸製作所
スクリュー
4日前
株式会社小糸製作所
車輌用灯具
1か月前
株式会社小糸製作所
車両用灯具
10日前
株式会社小糸製作所
車両用灯具
10日前
株式会社小糸製作所
照明表示装置
1か月前
株式会社小糸製作所
虚像表示装置
12日前
株式会社小糸製作所
画像生成装置
26日前
株式会社小糸製作所
画像投影装置
18日前
株式会社小糸製作所
画像投影装置
1か月前
株式会社小糸製作所
画像表示装置
1か月前
株式会社小糸製作所
画像生成装置
12日前
株式会社小糸製作所
画像表示装置
26日前
株式会社小糸製作所
固定構造及び固定方法
1か月前
株式会社小糸製作所
道路冠水通知システム
1か月前
株式会社小糸製作所
ヘッドアップディスプレイ
26日前
株式会社小糸製作所
電子ユニット及び車両用灯具
1か月前
株式会社小糸製作所
波長変換部材および白色発光素子
11日前
株式会社小糸製作所
画像投影ユニットおよび画像投影装置
1か月前
株式会社小糸製作所
レンズに付着する雪を融かす融雪機構
1か月前
株式会社小糸製作所
車両用灯具及び車両用灯具の製造方法
1か月前
株式会社小糸製作所
車両用灯具および車両用灯具の製造方法
12日前
株式会社小糸製作所
開閉機構、車両用灯具及び車両用前照灯
1か月前
株式会社小糸製作所
半導体発光素子および半導体発光素子の製造方法
10日前
株式会社小糸製作所
画像照射装置、画像投影装置、および画像照射方法
1か月前
株式会社小糸製作所
車両用灯具、ハウジング及びハウジングの製造方法
1か月前
株式会社小糸製作所
半導体成長用基板、半導体発光素子および半導体発光素子の製造方法
10日前
続きを見る
他の特許を見る