TOP
|
特許
|
意匠
|
商標
特許ウォッチ
Twitter
他の特許を見る
10個以上の画像は省略されています。
公開番号
2025160541
公報種別
公開特許公報(A)
公開日
2025-10-23
出願番号
2024063094
出願日
2024-04-10
発明の名称
車両用灯具
出願人
株式会社小糸製作所
代理人
個人
主分類
F21S
43/236 20180101AFI20251016BHJP(照明)
要約
【課題】灯具に用いられる板状導光体の板厚を増大することなく、灯具の点灯時における視認性を高め、かつ意匠的な効果を高めた車両用灯具を提供する。
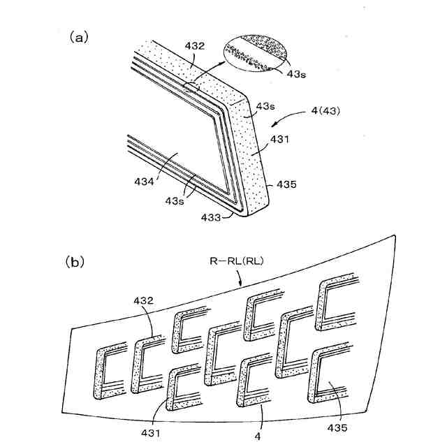
【解決手段】光源3と、灯具の前後方向に沿って配設され、光源3の光を導光して出射する板状導光体4を備える。板状導光体4は、光源3の光が入射される光入射部41と、入射された光を内面反射して導光する光の光分布を制御する光制御部42と、灯具の前方に向けられた部位に設けられて光制御部42で制御された光を灯具の前方ないし側方に向けて出射する光出射部43を備える。光出射部43は、板状導光体4の端面431と、板状導光体4の板厚方向の側面434,435のそれぞれに、導光してきた光を拡散状態に透過若しくは反射して出射する光拡散素子43sを備える。
【選択図】 図4
特許請求の範囲
【請求項1】
光源と、灯具の前後方向に沿って配設され、前記光源の光を導光して出射する板状導光体を備える車両用灯具であって、前記板状導光体は、前記光源の光が入射される光入射部と、入射された光を内面反射して導光する光の光分布を制御する光制御部と、前記灯具の前方に向けられた部位に設けられて前記光制御部で制御された光を灯具の前方ないし側方に向けて出射する光出射部を備え、前記光出射部は、前記板状導光体の端面と、前記板状導光体の板厚方向の側面のそれぞれに、導光してきた光を拡散状態に透過若しくは反射して出射する光拡散素子を備えることを特徴とする車両用灯具。
続きを表示(約 1,000 文字)
【請求項2】
前記光拡散素子は、前記板状導光体の少なくとも前端面と、前記板状導光体の板厚方向の両側面のうちの一方の側面に備えられ、前記導光してきた光を少なくとも前記前端面と前記両側面から出射する請求項1に記載の車両用灯具。
【請求項3】
前記板状導光体の側面に備えられた前記光拡散素子は、所要のパターン形状に形成され、当該パターン形状に対応した光パターンを形成する請求項2に記載の車両用灯具。
【請求項4】
前記光拡散素子は、光を拡散状態で透過及び反射する均一サイズまたは異なるサイズの多数の凹凸ステップで構成される請求項3に記載の車両用灯具。
【請求項5】
前記光拡散素子は面密度が均一または位置に応じて面密度が異なる多数の凹凸ステップで構成される請求項3に記載の車両用灯具。
【請求項6】
前記光入射部は、入射された光を前記板状導光体の板厚方向に収束して平行光束とする透光面部を備える請求項1に記載の車両用灯具。
【請求項7】
前記光制御部は、導光する光を前記板状導光体の板幅方向に発散状態に内面反射する第1光反射面部と、導光する光を前記板状導光体の板厚方向に収束させる第2光反射面部と、導光する光を前記板状導光体の板幅方向及び板厚方向に発散させる第3光反射面部を備える請求項1に記載の車両用灯具。
【請求項8】
前記光源と、前記板状導光体と、前記板状導光体をランプの前後方向に挿通支持する縦スリットを有し、前記光源と前記板状導光体を支持するエクステンションとでランプユニットが構成され、前記板状導光体の光出射部が前記エクステンションの前面側に露呈されている請求項1に記載の車両用灯具。
【請求項9】
前記ランプユニットは前面に透光カバーを有するランプハウジングに内装され、前記板状導光体の光出射部は前記透光カバーに対向配置され、当該光出射部から出射した光を、前記透光カバーを透過して出射する請求項8に記載の車両用灯具。
【請求項10】
自動車のテールランプ、ストップランプ、バックアップランプ、ターンシグナルランプを含むリアランプ、あるいはクリアランスランプ、デイタイムランニングランプを含むフロントランプの一つとして構成される請求項1ないし9のいずれかに記載の車両用灯具。
発明の詳細な説明
【技術分野】
【0001】
本発明は自動車等の車両に用いて好適な灯具に関し、特に板状導光体で構成されたインナーレンズを備える車両用灯具(以下、ランプとも称する)に関する。
続きを表示(約 2,100 文字)
【背景技術】
【0002】
自動車用灯具の一つとして、複数の板状導光体を用いたランプが提案されている。特許文献1には、複数の板状導光体が板厚方向に所要の間隔をおいて並列配置されており、各板状導光体の一端面が光入射面として構成され、他端面が光出射面として構成されたランプが提案されている。板状導光体の光出射面がランプの発光面の面方向に沿って配列されることにより、ランプの点灯時に各板状導光体の光出射面がライン状に発光された発光パターンになり、意匠性の高いランプとして構成される。
【先行技術文献】
【特許文献】
【0003】
特開2020-187936号公報
【発明の概要】
【発明が解決しようとする課題】
【0004】
特許文献1のランプは、板状導光体の端面が光出射面として構成されているので、当該端面に対応したライン状の発光パターンとなる。そのため、板厚の薄い板状導光体では発光パターンが細目のラインで構成されることになり、ランプを観察したときの視認性が低く、また意匠性を高めることが難しい。板状導光体の板厚を厚くすることにより、点灯時における発光パターンを太目のラインで構成し、ランプの視認性と意匠性を高めることが考えられるが、複数の板状導光体を合わせたときの質量(重量、体積)が増大することになり、ランプの重量の増加やコスト高の要因になる等の課題が生じることになる。
【0005】
本発明の目的は、板状導光体の板厚を増大することなく、灯具の点灯時における視認性を高め、かつ意匠的な効果を高めることができる車両用灯具を提供する。
【課題を解決するための手段】
【0006】
本発明は、光源と、灯具の前後方向に沿って配設され、光源の光を導光して出射する板状導光体を備える車両用灯具であり、板状導光体は、光源の光が入射される光入射部と、入射された光を内面反射して導光する光の光分布を制御する光制御部と、灯具の前方側に向けられた部位に設けられて光制御部で制御された光を灯具の前方ないし側方に向けて出射する光出射部を備える。その上で、光出射部は、板状導光体の端面と、板状導光体の板厚方向の側面のそれぞれに、導光してきた光を拡散状態に透過若しくは反射して出射する光拡散素子を備える。
【0007】
ここで、光拡散素子は、板状導光体の少なくとも前端面と、板状導光体の板厚方向の両側面のうちの一方の側面に備えられ、導光してきた光を少なくとも前端面と両側面から出射する構成される。また、板状導光体の側面に備えられた光拡散素子は、所要のパターン形状に形成され、当該パターン形状に対応した光パターンを形成する構成であることが好ましい。その上で、光拡散素子は、光を拡散状態で透過及び反射する均一サイズまたは異なるサイズの多数の凹凸ステップで構成される。あるいは、光拡散素子は面密度が均一または位置に応じて面密度が異なる多数の凹凸ステップで構成される。
【0008】
本発明の車両用灯具は、例えば、光源と、板状導光体と、板状導光体をランプの前後方向に挿通支持する縦スリットを有して光源と板状導光体を支持するエクステンションとでランプユニットが構成され、板状導光体の光出射部がエクステンションの前面側に露呈される構成とされる。そして、ランプユニットは前面に透光カバーを有するランプハウジングに内装され、板状導光体の光出射部は透光カバーに対向配置され、光出射部から出射した光を、透光カバーを透過して出射する構成とされる。
【発明の効果】
【0009】
本発明によれば、灯具の点灯時には、板状導光体の光出射部の端面から出射される光による発光パターンに加えて、板状導光体の側面から出射される光による発光パターンでの発光が行われる。これにより、道具の点灯時における発光パターンは、板状導光体の端面での発光パターンに限定されることなく発光パターンの領域が拡大され、灯具の視認性が高められるとともに、灯具の意匠効果を高めることができる。また、板状導光体の板厚を増大する必要がなく、板状導光体のサイズや重量が増大されることがなく、灯具の軽量化と低コスト化が可能になる。
【図面の簡単な説明】
【0010】
本発明をリアランプに適用した自動車の概略斜視図と右リアランプの正面図。
右リアランプの一部を破断した概略斜視図。
右リアランプの要部の分解斜視図。
ランプユニットの一部の分解斜視図。
図1のV-V線に沿った拡大断面図。
図5の水平方向の断面図。
光入射部と光制御部の一部の拡大斜視図。
(a)は実施形態の光出射部の一部の拡大図、(b)は点灯時の外観の模式図。
(a)は変形例の光出射部の一部の拡大図、(b)は点灯時の外観の模式図。
インナーレンズの変形例の概略斜視図。
【発明を実施するための形態】
(【0011】以降は省略されています)
この特許をJ-PlatPat(特許庁公式サイト)で参照する
関連特許
株式会社小糸製作所
車両用灯具
1か月前
株式会社小糸製作所
車両用灯具
21日前
株式会社小糸製作所
車両用灯具
1か月前
株式会社小糸製作所
車両用灯具
1か月前
株式会社小糸製作所
車両用灯具
28日前
株式会社小糸製作所
車両用灯具
28日前
株式会社小糸製作所
車両用灯具
24日前
株式会社小糸製作所
車両用灯具
22日前
株式会社小糸製作所
車両用灯具
28日前
株式会社小糸製作所
車両用灯具
21日前
株式会社小糸製作所
車輌用灯具
21日前
株式会社小糸製作所
車両用灯具
10日前
株式会社小糸製作所
画像生成装置
2日前
株式会社小糸製作所
画像表示装置
15日前
株式会社小糸製作所
画像表示装置
2日前
株式会社小糸製作所
照明表示装置
1か月前
株式会社小糸製作所
画像投影装置
28日前
株式会社小糸製作所
道路冠水通知システム
22日前
株式会社小糸製作所
固定構造及び固定方法
8日前
株式会社小糸製作所
ヘッドアップディスプレイ
2日前
株式会社小糸製作所
電子ユニット及び車両用灯具
1か月前
株式会社小糸製作所
車両用灯具及び車両用灯具の製造方法
1か月前
株式会社小糸製作所
レンズに付着する雪を融かす融雪機構
1か月前
株式会社小糸製作所
画像投影ユニットおよび画像投影装置
1か月前
株式会社小糸製作所
開閉機構、車両用灯具及び車両用前照灯
1か月前
株式会社小糸製作所
車両用灯具、ハウジング及びハウジングの製造方法
1か月前
株式会社小糸製作所
画像照射装置、画像投影装置、および画像照射方法
22日前
株式会社小糸製作所
配光制御装置、配光制御プログラムおよび車両用前照灯システム
1か月前
株式会社小糸製作所
車両用赤外線センサ内蔵灯具
15日前
個人
室外機器
4か月前
個人
照明装置
7日前
個人
照明システム
4か月前
個人
LED光源基盤
9か月前
個人
車載機器の通気構造
2か月前
個人
消火器設置表示装置
18日前
個人
気泡を用いた遊具。
6か月前
続きを見る
他の特許を見る