TOP
|
特許
|
意匠
|
商標
特許ウォッチ
Twitter
他の特許を見る
公開番号
2025161465
公報種別
公開特許公報(A)
公開日
2025-10-24
出願番号
2024064665
出願日
2024-04-12
発明の名称
車輌用灯具
出願人
株式会社小糸製作所
代理人
弁理士法人テクノピア国際特許事務所
主分類
F21S
43/40 20180101AFI20251017BHJP(照明)
要約
【課題】 高い意匠性を確保した上で形状に応じた光の適正な照射状態を確保する。
【解決手段】 光源から出射された光を反射する複数のリフレクターと、入射面と出射面を有し入射面にリフレクターで反射された光を制御する複数の集光ステップが形成され出射面に複数の光透過部と光透過部より光の透過率が低い非透過部とが形成されたインナーレンズと
を備え
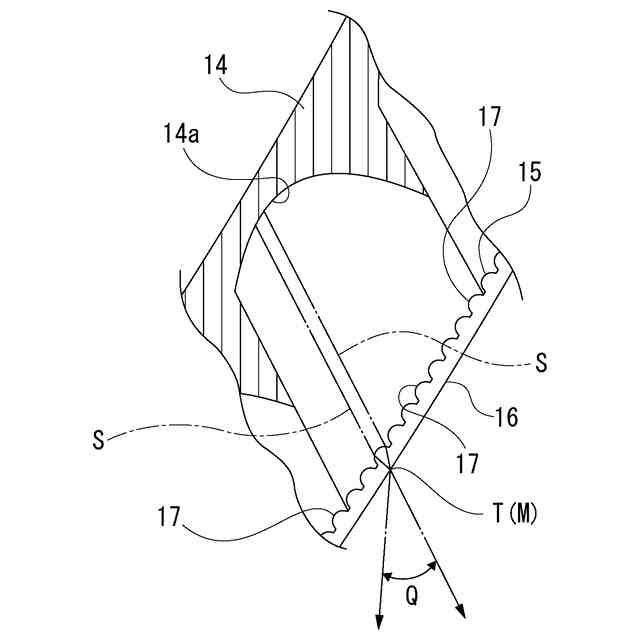
、リフレクターで反射された光が複数の集光ステップに入射され、インナーレンズが左右方向において車輌の外方へ行くに従って出射面が側方を向くように湾曲され、複数のリフレクターが入射面に対向する位置において並んで配置され、リフレクターで反射され集光ステップに入射される反射光の進行方向が前後方向に対して左右方向に傾斜する方向にされ、反射光における進行方向の前後方向に対する傾斜角が左右方向において車輌の外方に位置されたリフレクター程大きくされた。
【選択図】図5
特許請求の範囲
【請求項1】
光源から出射された光を反射する複数のリフレクターと、
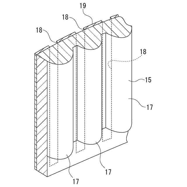
入射面と出射面を有し前記入射面に前記リフレクターで反射された光を制御する複数の集光ステップが形成され前記出射面に複数の光透過部と前記光透過部より光の透過率が低い非透過部とが形成されたインナーレンズと、
前記リフレクターで反射された光が複数の前記集光ステップに入射され、
前記インナーレンズが左右方向において車輌の外方へ行くに従って前記出射面が側方を向くように湾曲され、
複数の前記リフレクターが前記入射面に対向する位置において並んで配置され、
前記リフレクターで反射され前記集光ステップに入射される反射光の進行方向が前後方向に対して左右方向に傾斜する方向にされ、
前記反射光における進行方向の前後方向に対する傾斜角が左右方向において車輌の外方に位置された前記リフレクター程大きくされた
車輌用灯具。
続きを表示(約 490 文字)
【請求項2】
前記集光ステップとして魚眼ステップが形成され、
複数の前記光透過部が格子状に配列され、
一つの前記集光ステップによって制御された光が一つの前記光透過部を透過される
請求項1に記載の車輌用灯具。
【請求項3】
前記集光ステップとしてシリンドリカルステップが形成され、
複数の前記光透過部がストライプ状に並んで配列され、
一つの前記集光ステップによって制御された光が一つの前記光透過部を透過される
請求項1に記載の車輌用灯具。
【請求項4】
前記集光ステップによって制御された光の集光点が前記光透過部の中央点に一致された
請求項1、請求項2又は請求項3に記載の車輌用灯具。
【請求項5】
前記非透過部が光を遮蔽する遮光部として形成された
請求項1、請求項2又は請求項3に記載の車輌用灯具。
【請求項6】
複数の前記リフレクターが一体に形成され反射体として構成された
請求項1、請求項2又は請求項3に記載の車輌用灯具。
発明の詳細な説明
【技術分野】
【0001】
本発明は光源から出射された光がインナーレンズによって制御されて照射される車輌用灯具についての技術分野に関する。
続きを表示(約 1,300 文字)
【背景技術】
【0002】
車輌用灯具には、カバーとランプハウジングによって構成された灯具外筐の内部に光を出射する光源が配置され、光源から出射された光が光制御部材によって制御され外部へ向けて照射される構成にされたものがある(例えば、特許文献1参照)。
【0003】
特許文献1に記載された車輌用灯具においては、光制御部材としてカバーが用いられ、カバーの内面の一部に偏光を行う光学フィルムが貼り付けられている。
【0004】
このような光学フィルムを有する構成にされることにより、光学フィルムによって光源から出射された光の進行方向が変化され、光の入射角度の変化や外部から車輌用灯具を視認した観察者の目視角度の変化に応じて様々な外観が視認され意匠性の向上が図られる。また、光源の非点灯時に奥行き感が強調され非点灯時における意匠性の向上を図ることも可能にされている。
【先行技術文献】
【特許文献】
【0005】
特開2003-151311号公報
【発明の概要】
【発明が解決しようとする課題】
【0006】
ところで、近年、車輌用灯具においては、車体の形状の多様化や高い意匠性を確保する観点等から全体が湾曲された形状に形成されることも多く、形状に応じた光の適正な照射状態を確保する必要がある。
【0007】
従って、上記のような意匠性の向上が図られた車輌用灯具においても、高い意匠性を確保した上で形状に応じた光の適正な照射状態が確保されることが望ましい。
【0008】
そこで、本発明車輌用灯具は、高い意匠性を確保した上で形状に応じた光の適正な照射状態を確保することを目的とする。
【課題を解決するための手段】
【0009】
本発明に係る車輌用灯具は、光源から出射された光を反射する複数のリフレクターと、入射面と出射面を有し前記入射面に前記リフレクターで反射された光を制御する複数の集光ステップが形成され前記出射面に複数の光透過部と前記光透過部より光の透過率が低い非透過部とが形成されたインナーレンズと、前記リフレクターで反射された光が複数の前記集光ステップに入射され、前記インナーレンズが左右方向において車輌の外方へ行くに従って前記出射面が側方を向くように湾曲され、複数の前記リフレクターが前記入射面に対向する位置において並んで配置され、前記リフレクターで反射され前記集光ステップに入射される反射光の進行方向が前後方向に対して左右方向に傾斜する方向にされ、前記反射光における進行方向の前後方向に対する傾斜角が左右方向において車輌の外方に位置された前記リフレクター程大きくされたものである。
【0010】
これにより、左右方向において車輌の外方に位置されたリフレクター程大きくされた傾斜角でそれぞれの反射光が進行されると共に左右方向において車輌の外方へ行くに従って出射面が側方を向くように湾曲されたインナーレンズの集光ステップにそれぞれ反射光が入射されて光透過部を透過される。
【発明の効果】
(【0011】以降は省略されています)
この特許をJ-PlatPat(特許庁公式サイト)で参照する
関連特許
個人
室外機器
5か月前
個人
照明装置
1か月前
個人
照明システム
5か月前
個人
消火器設置表示装置
1か月前
個人
車載機器の通気構造
2か月前
株式会社遠藤照明
照明装置
2か月前
日亜化学工業株式会社
面状光源
10日前
能美防災株式会社
表示灯
2か月前
個人
LEDライト
5か月前
株式会社小糸製作所
車両用灯具
2か月前
株式会社小糸製作所
車両用灯具
2か月前
デンカ株式会社
照明装置
5か月前
デンカ株式会社
道路用照明
5か月前
スタンレー電気株式会社
照射用光源
2か月前
アクア株式会社
冷蔵庫
4か月前
フルトラム株式会社
光学機器
2か月前
株式会社小糸製作所
投光装置
2か月前
株式会社小糸製作所
投光装置
2か月前
株式会社小糸製作所
誘導装置
2か月前
株式会社小糸製作所
車両用灯具
1か月前
株式会社小糸製作所
車両用灯具
1か月前
株式会社小糸製作所
車両用灯具
5か月前
株式会社小糸製作所
車両用灯具
1か月前
株式会社小糸製作所
車両用灯具
1か月前
株式会社小糸製作所
表示用灯具
2か月前
株式会社小糸製作所
車両用灯具
5か月前
株式会社小糸製作所
表示用灯具
2か月前
株式会社小糸製作所
車両用灯具
5か月前
株式会社小糸製作所
車両用灯具
6か月前
株式会社小糸製作所
車両用灯具
1か月前
株式会社小糸製作所
車両用灯具
2日前
株式会社小糸製作所
車両用灯具
5か月前
株式会社小糸製作所
車両用灯具
5か月前
株式会社パクマケ
スポットライト
5か月前
株式会社ユーシン
表示・照明装置
2か月前
オムロン株式会社
発光エンブレム
1か月前
続きを見る
他の特許を見る