TOP
|
特許
|
意匠
|
商標
特許ウォッチ
Twitter
他の特許を見る
10個以上の画像は省略されています。
公開番号
2025176758
公報種別
公開特許公報(A)
公開日
2025-12-05
出願番号
2024083037
出願日
2024-05-22
発明の名称
車両用灯具
出願人
株式会社小糸製作所
代理人
個人
主分類
F21S
41/25 20180101AFI20251128BHJP(照明)
要約
【課題】照明する領域のうち周辺領域における照度の低下を抑制した投影光学系を備えた車両用灯具を提供する。
【解決手段】所要の光パターンを形成する光源(マイクロLEDアレイ)12と、光源12の光パターンを配光パターンとして投影する第1レンズ21を含んで構成された投影光学系2を備える。投影光学系2は第1レンズ21と光源12との間に、第1レンズ21の光軸を外れた光源12の端部位置から光軸方向に出射された光を第1レンズ21の光入射面の光軸位置に向けて偏向する第2レンズ22を備える。第1レンズ21の光入射面と、第2レンズ22の光出射面の光軸上でのレンズ間距離dは、第2レンズ22の曲率半径r、光源12の端部の光軸からの距離x、第2レンズ22の屈折率nに基づいて設定される。
【選択図】 図7
特許請求の範囲
【請求項1】
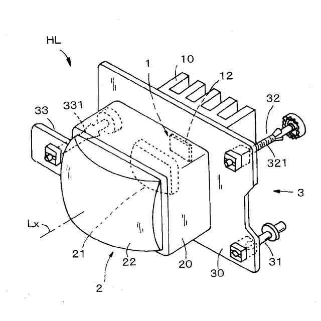
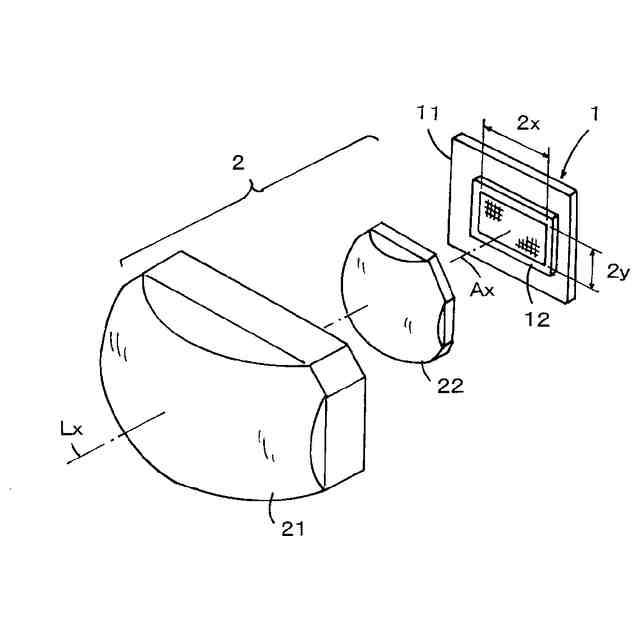
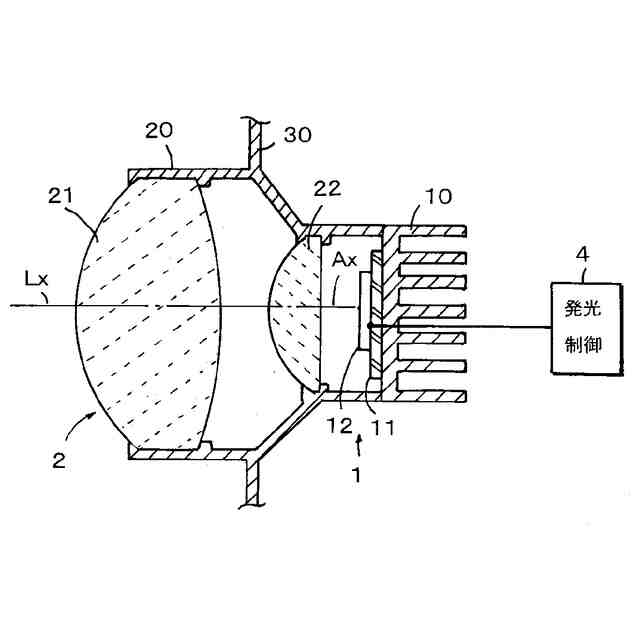
所要の光パターンを形成することが可能な光源と、前記光源に形成された光パターンを配光パターンとして投影する第1レンズを含んで構成された投影光学系を備えた車両用灯具であって、前記投影光学系は前記第1レンズと前記光源との間に、前記第1レンズの光軸を外れた光源の端部位置から光軸方向に出射された光を当該第1レンズの光入射面の光軸位置に向けて偏向する第2レンズを備えることを特徴とする車両用灯具。
続きを表示(約 670 文字)
【請求項2】
前記第2レンズは正の屈折力を有するレンズで構成される請求項1に記載の車両用灯具。
【請求項3】
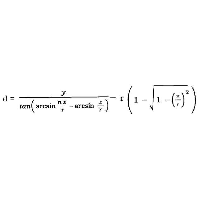
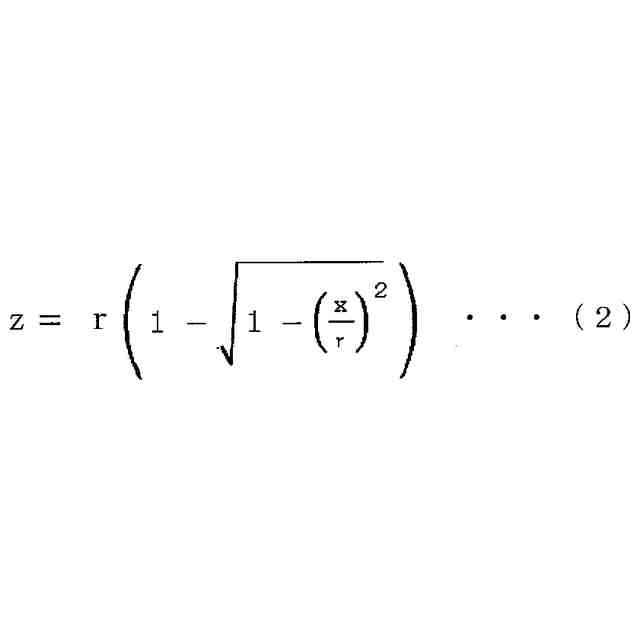
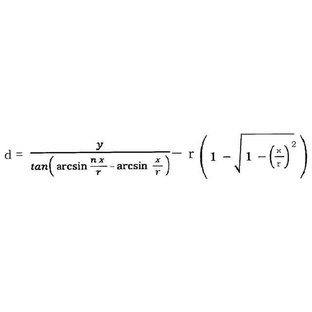
前記第1レンズの光入射面と、前記第2レンズの光出射面の前記光軸上でのレンズ間距離dが次の関係式を満たす請求項2に記載の車両用灯具。
TIFF
2025176758000005.tif
29
155
ただし、rは第2レンズの曲率半径、xは光源の端部の光軸からの距離、nは第2レンズの屈折率。
【請求項4】
前記第2レンズは光出射面が前記第1レンズに向けられた球面で構成されたガラス製の平凸レンズで構成される請求項2に記載の車両用灯具。
【請求項5】
前記第2レンズは前記第1レンズと光軸が一致されている請求項2に記載の車両用灯具。
【請求項6】
前記第2レンズは前記光源の虚像を前記第1レンズの焦点位置またはその近傍に形成する請求項2に記載の車両用灯具。
【請求項7】
前記光源は複数のマイクロLEDまたはLEDがマトリクス配列されたLEDアレイで構成される請求項1に記載の車両用灯具。
【請求項8】
前記LEDアレイを構成するマイクロLEDまたはLEDを選択的に発光制御する発光制御装置を備え、投影する配光パターンをADB配光制御する請求項7に記載の車両用灯具。
【請求項9】
自動車のヘッドランプとして構成される請求項1ないし8のいずれかに記載の車両用灯具。
発明の詳細な説明
【技術分野】
【0001】
本発明は自動車等の車両に用いられる灯具に関し、特に光源の光を投影光学系により所要の配光パターンで投影するプロジェクタ型前照灯(ヘッドランプ)に適用して好適な車両用灯具に関する。
続きを表示(約 1,700 文字)
【背景技術】
【0002】
自動車のヘッドランプとして、光源で形成される所要の発光パターンを投影光学系で自車両の前方領域に投影するプロジェクタ型ヘッドランプが提案されている。この種のヘッドランプは、前方領域に存在する車両や歩行者等の対象物に対する眩惑を防止する配光を得ることが可能なADB(Adaptive Driving Beam)配光制御を行うヘッドランプに適用されている。ADB配光制御では、位置検出装置によって対象物を検出し、検出した対象物が存在する領域の光量を低減し、あるいは消灯し、それ以外の広い領域を明るく照明する制御が行われる。
【0003】
特許文献1には、微小な発光面積を有する多数のマイクロLED(発光ダイオード)をマトリクス配列したマイクロLEDアレイを光源としてADB配光制御を行うヘッドランプが提案されている。このヘッドランプでは、マイクロLEDアレイを構成している多数のマイクロLEDの発光を選択的に制御して所要の発光パターンを形成し、この発光パターンを投影光学系により自動車の前方領域に投影してADB配光制御された配光パターンでの照明を行っている。
【先行技術文献】
【特許文献】
【0004】
特開2023-168131号公報
【発明の概要】
【発明が解決しようとする課題】
【0005】
近年、ADB配光制御を行う投影光学系として、樹脂成形により形成された自由曲面型の投影レンズが提供されている。また、ADB配光制御を高精細に行う要求から、光源としてマイクロLEDの数を増大した縦横寸法のより大きな大型サイズのマイクロLEDアレイが提供されている。このように、マイクロLEDアレイのサイズが大きくなると、マイクロLEDアレイの周辺部のマイクロLEDから出射された光は投影レンズの周辺部に入射されることになる。通常、投影光学系として1つの投影レンズを用いたランプでは、当該投影レンズのレンズ収差等の影響により、光軸を含む中央領域よりも周辺領域の明るさが低くなる傾向がある。そのため、マイクロLEDアレイの周辺部のマイクロLEDから出射された光が照明する領域、すなわち投影レンズの周辺領域から出射された光による配光パターンの周辺領域の照度が低下され、好適な配光制御を行うことが難しくなる。
【0006】
このような周辺領域の照度の低下を防止するためには、投影レンズの径寸法を大きくし、投影レンズの中心部を利用して配光パターンの投影を行うことが考えられるが、これでは投影レンズが大径になり、またこれに伴って投影レンズのレンズ厚も大きくなり、投影光学系が大型かつ高重量なものになるという課題が生じる。
【0007】
本発明の目的は、照明する領域のうち周辺領域における照度の低下を抑制した投影光学系を備えた車両用灯具を提供する。
【課題を解決するための手段】
【0008】
本発明の車両用灯具は、所要の光パターンを形成することが可能な光源と、光源に形成された光パターンを配光パターンとして投影する第1レンズを含んで構成された投影光学系を備えており、投影光学系は第1レンズと光源との間に、第1レンズの光軸を外れた光源の端部位置から光軸方向に出射された光を第1レンズの光入射面の光軸位置に向けて偏向する第2レンズを備えている。
【0009】
本発明において、第1レンズの光入射面と、第2レンズの光出射面の光軸上でのレンズ間距離は、第2レンズの曲率半径、光源の端部の光軸からの距離、第2レンズの屈折率に基づいて設定される。この場合において、第2レンズは光出射面が第1レンズに向けられた球面で構成されたガラス製の平凸レンズで構成されることが好ましい。また、本発明における光源は複数のマイクロLEDまたはLEDがマトリクス配列されたLEDアレイで構成されることが好ましい。
【発明の効果】
【0010】
本発明によれば、配光パターンの周辺領域の照度の低下を防止した小型かつ軽量な車両用灯具が得られる。
【図面の簡単な説明】
(【0011】以降は省略されています)
この特許をJ-PlatPat(特許庁公式サイト)で参照する
関連特許
株式会社小糸製作所
車両用灯具
今日
株式会社小糸製作所
スクリュー
1日前
株式会社小糸製作所
車両用灯具
7日前
株式会社小糸製作所
車両用灯具
7日前
株式会社小糸製作所
虚像表示装置
9日前
株式会社小糸製作所
画像生成装置
9日前
株式会社小糸製作所
画像投影装置
15日前
株式会社小糸製作所
画像表示装置
23日前
株式会社小糸製作所
画像生成装置
23日前
株式会社小糸製作所
固定構造及び固定方法
29日前
株式会社小糸製作所
ヘッドアップディスプレイ
23日前
株式会社小糸製作所
波長変換部材および白色発光素子
8日前
株式会社小糸製作所
車両用灯具および車両用灯具の製造方法
9日前
株式会社小糸製作所
半導体発光素子および半導体発光素子の製造方法
7日前
株式会社小糸製作所
半導体成長用基板、半導体発光素子および半導体発光素子の製造方法
7日前
株式会社小糸製作所
車両用灯具システム、配光制御装置および配光制御方法
15日前
個人
照明装置
28日前
個人
室外機器
5か月前
個人
照明システム
5か月前
個人
消火器設置表示装置
1か月前
個人
車載機器の通気構造
2か月前
個人
気泡を用いた遊具。
7か月前
株式会社遠藤照明
照明器具
6か月前
株式会社遠藤照明
照明装置
2か月前
デンカ株式会社
照明装置
5か月前
日亜化学工業株式会社
面状光源
8日前
株式会社小糸製作所
車両用灯具
1か月前
株式会社小糸製作所
車両用灯具
1か月前
能美防災株式会社
表示灯
2か月前
個人
LEDライト
5か月前
デンカ株式会社
道路用照明
5か月前
株式会社小糸製作所
誘導装置
2か月前
フルトラム株式会社
光学機器
1か月前
スタンレー電気株式会社
照射用光源
2か月前
アクア株式会社
冷蔵庫
4か月前
株式会社小糸製作所
投光装置
2か月前
続きを見る
他の特許を見る