TOP
|
特許
|
意匠
|
商標
特許ウォッチ
Twitter
他の特許を見る
公開番号
2025176244
公報種別
公開特許公報(A)
公開日
2025-12-04
出願番号
2024082258
出願日
2024-05-21
発明の名称
スクリュー
出願人
株式会社小糸製作所
代理人
個人
主分類
F16B
35/00 20060101AFI20251127BHJP(機械要素または単位;機械または装置の効果的機能を生じ維持するための一般的手段)
要約
【課題】スクリューとナットとの間に進入した異物による回転トルクの増大を抑制し、安定な回転を可能にしたスクリューを提供する。
【解決手段】雄ネジ部54を備えるスクリュー51であり、スクリュー51の雄ネジ部54にナット52が螺合され、スクリュー51が軸転されたときにナット52がスクリュー51の軸方向に移動されるスクリューである。スクリュー51の雄ネジ部54には軸方向に延びる所要長さの凹溝542が形成される。凹溝542は、雄ネジ部54の軸方向に隣接するネジ谷を連通され、雄ネジ部54のネジ山の軸回り方向の一部を切除した構成とされ、少なくともナット52の軸方向の寸法よりも長く形成される。
【選択図】 図4
特許請求の範囲
【請求項1】
雄ネジ部を備えるスクリューであり、この雄ネジ部にナットが螺合され、当該スクリューが軸転されたときに前記ナットがスクリューの軸方向に移動されるスクリューであって、前記スクリューの雄ネジ部には軸方向に延びる所要長さの凹溝が形成されていることを特徴とするスクリュー。
続きを表示(約 370 文字)
【請求項2】
前記凹溝は、前記雄ネジ部の軸方向に隣接するネジ谷を連通する請求項1に記載のスクリュー。
【請求項3】
前記凹溝は、前記雄ネジ部のネジ山の軸回り方向の一部を切除した構成である請求項2に記載のスクリュー。
【請求項4】
前記凹溝は、少なくとも前記ナットの軸方向の寸法よりも長い請求項1に記載のスクリュー。
【請求項5】
前記スクリューは基端部に操作部を備えており、この操作部において軸転操作される請求項1に記載のスクリュー。
【請求項6】
前記スクリューは車両用灯具のエイミング機構を構成するエイミングスクリューであり、前記ナットは前記エイミングスクリューに螺合されて前記車両用灯具を傾動するエイミングナットである請求項1ないし5のいずれかに記載のスクリュー。
発明の詳細な説明
【技術分野】
【0001】
本発明はナットが螺合されるスクリュー(雄ネジ)に関し、例えば、車両用ランプの光軸方向を調整するためのエイミング装置に用いて好適なスクリューに関する。
続きを表示(約 2,100 文字)
【背景技術】
【0002】
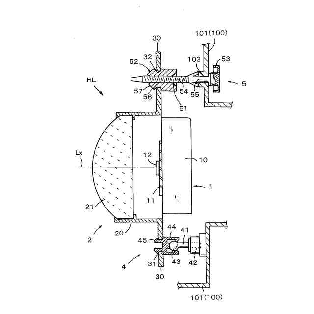
自動車等の車両用ランプには、点灯時における光の出射方向を調整するためのエイミング装置を備えたものがあり、このエイミング装置にスクリューが用いられたものがある。例えば、特許文献1のランプは、ランプハウジング内にランプユニットのリフレクタが傾動可能に支持されており、ランプハウジングには軸転操作が可能なエイミングスクリューが設けられ、リフレクタにはエイミングスクリューに螺合したエイミングナット(プッシュオンフィックス)が設けられている。このエイミング装置によれば、エイミングスクリューを軸転操作することによりエイミングナットがエイミングスクリューの軸方向に移動され、エイミングナットと共にリフレクタの一部が移動される。これにより、リフレクタは支持されている支点を中心に傾動され、ランプユニットのエイミング調整が可能となる。
【先行技術文献】
【特許文献】
【0003】
特開2022-42043号公報
【発明の概要】
【発明が解決しようとする課題】
【0004】
特許文献1の技術において、エイミングスクリューはランプハウジング内に配置されているが、ランプハウジング内での空気の移動等により微小な異物が雄ネジ部の表面に付着することがある。あるいは、エイミングスクリューを軸転したときに、螺合されているナットとの接触面において摩耗粉等の異物が発生することがある。そのため、エイミングスクリューを軸転するときに、異物によって雄ネジ部と雌ネジ部の接触面における円滑な動作が阻害されることがある。このような状況になると、エイミングスクリューを軸転操作する際の回転トルクが増大し、安定したエイミングスクリューの回転が損なわれ、エイミング装置の信頼性が低下されることがある。
【0005】
本発明の目的はスクリューとナットとの間に進入した異物による回転トルクの増大を抑制し、安定したスクリューの回転を可能にしたスクリューを提供する。
【課題を解決するための手段】
【0006】
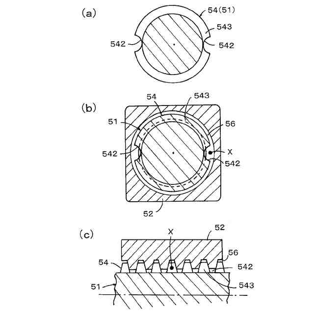
本発明は、雄ネジ部を備えるスクリューであり、この雄ネジ部に雌ネジ部を有するナットが螺合され、スクリューが軸転されたときに当該ナットがスクリューの軸方向に移動されるスクリューであって、スクリューの雄ネジ部には軸方向に延びる所要長さの凹溝が形成されている。この凹溝は、雄ネジ部の軸方向に隣接するネジ谷を連通する構成とされることが好ましい。例えば、凹溝は、雄ネジ部のネジ山の軸回り方向の一部を切除した構成とされる。また、凹溝は、少なくともナットの軸方向の寸法よりも長く形成される。
【発明の効果】
【0007】
本発明によれば、雄ネジ部に螺合されているナットとの接触面に生じた異物をスクリューの軸転に伴って凹溝にまで移動させ、接触面から除去できる。さらには、凹溝を通して異物をスクリューから外部に排除することができる。これにより、スクリューを軸転したときに、異物によって雄ネジ部と雌ネジ部の接触面における円滑な動作が阻害されることが防止でき、スクリューを軸転操作する際の回転トルクの増大が防止され、スクリューを安定した状態で軸転操作することが可能になる。
【図面の簡単な説明】
【0008】
本発明を適用した自動車のヘッドランプの縦断面図 。
ヘッドランプの概略斜視図。
エイミング装置の拡大縦断面図。
エイミングスクリューとエイミングナットの拡大斜視図。
エイミングスクリューとエイミングナットの螺合状態を示す断面図。
エイミングスクリューの変形例の斜視図。
【発明を実施するための形態】
【0009】
次に、本発明の実施の形態について図面を参照して説明する。図1は本発明のスクリューを備えた車両用灯具を装備した自動車CARの概略斜視図である。自動車CARの車体前部の左右にフロントランプFLが装備されている。図1には、左側のフロントランプFLの一部を破断斜視図が示されており、右側のフロントランプFLは左右対称の構成である。フロントランプFLは、前方が開口されたランプボディ101と、このランプボディ101の開口に取り付けられた透光カバー102とで構成されたランプハウジング100内に2つのランプユニットCL,HLが内装されている。
【0010】
上側のランプユニットCLは、導光体を用いたクリアランスランプ、ターンシグナルランプ、DRL(Daytime Running Lamp:デイタイムランニングランプ)のいずれか、あるいはこれらを兼用したランプとして構成されている。下側のランプユニットHLは本発明が適用されたヘッドランプとして構成されている。なお、以降において前後方向はヘッドランプHLの前方から後方に沿った方向であり、左右方向はヘッドランプHLを正面から見て左右に沿った方向である。
(【0011】以降は省略されています)
この特許をJ-PlatPat(特許庁公式サイト)で参照する
関連特許
個人
留め具
1か月前
個人
鍋虫ねじ
3か月前
個人
紛体用仕切弁
3か月前
個人
回転伝達機構
4か月前
個人
ホース保持具
7か月前
個人
差動歯車用歯形
5か月前
個人
ジョイント
2か月前
個人
給排気装置
1か月前
個人
ナット
29日前
株式会社不二工機
電磁弁
5か月前
個人
ナット
2か月前
個人
地震の揺れ回避装置
4か月前
株式会社不二工機
電磁弁
6か月前
個人
吐出量監視装置
3か月前
個人
ゲート弁バルブ
14日前
兼工業株式会社
バルブ
1か月前
カヤバ株式会社
ダンパ
5か月前
カヤバ株式会社
ダンパ
5か月前
カヤバ株式会社
緩衝器
5か月前
柿沼金属精機株式会社
分岐管
3か月前
カヤバ株式会社
緩衝器
5か月前
カヤバ株式会社
緩衝器
1か月前
株式会社ニフコ
クリップ
2か月前
株式会社ノーリツ
分配弁
7か月前
アズビル株式会社
回転弁
2か月前
株式会社三五
ドライブシャフト
1か月前
株式会社ノーリツ
分配弁
7か月前
株式会社不二工機
電磁弁
3か月前
個人
固着具と固着具の固定方法
6か月前
株式会社ノーリツ
分配弁
2か月前
株式会社奥村組
制振機構
2か月前
株式会社奥村組
制振機構
2か月前
株式会社タカギ
水栓装置
3か月前
株式会社ノーリツ
分配弁
7か月前
個人
固着具と固着具の固定方法
8か月前
個人
固着具と固着具の固定方法
6か月前
続きを見る
他の特許を見る