TOP
|
特許
|
意匠
|
商標
特許ウォッチ
Twitter
他の特許を見る
公開番号
2025171384
公報種別
公開特許公報(A)
公開日
2025-11-20
出願番号
2024076666
出願日
2024-05-09
発明の名称
ゲート弁バルブ
出願人
個人
代理人
個人
主分類
F16K
51/00 20060101AFI20251113BHJP(機械要素または単位;機械または装置の効果的機能を生じ維持するための一般的手段)
要約
【課題】 汚泥を含む汚濁水を流す排水管に使用しても、弁体や弁箱内に付着した固形物を除去可能なゲート弁バルブを提供することである。
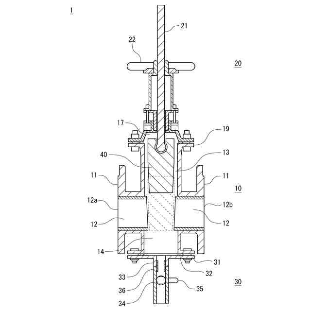
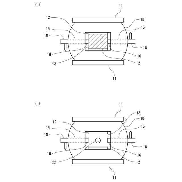
【解決手段】 弁箱10の供給口と排出口とを結ぶ流水路12に直交して移動し、当該流水路12を開閉する弁体40と、その弁体40が流水路12を開放する位置から閉鎖する位置まで摺動可能にする一対の対向位置にあるガイドレール16と、当該両ガイドレール16の長手方向の上方から摺動面に垂直に弁箱10内へ洗浄水を放出する放水口15と、弁体40の直下の前記弁箱内に設けた下溝14と、当該下溝14の最下部に設けた排水口33とを備えることにより、弁体40がガイドレール16に垂直に放出される洗浄水により洗浄されるとともに、ガイドレール16周辺にも洗浄水が当たるので、弁体40や弁箱10に付着した固形物が洗い流され、弁体40を流水路12の閉鎖位置まで降下させることができる。
【選択図】図2
特許請求の範囲
【請求項1】
弁箱の供給口と排出口とを結ぶ流水路に直交して移動し、当該流水路を開閉する弁体と、
当該弁体が前記流水路を開放する位置から閉鎖する位置まで摺動可能にする一対の対向位置にあるガイドレールと、
当該両ガイドレールの長手方向の上方から摺動面に垂直に弁箱内へ洗浄水を放出する放水口と、
前記弁体の直下の前記弁箱内に設けた下溝と、
当該下溝の最下部に設けた排水口と
を備えたゲート弁バルブ。
続きを表示(約 190 文字)
【請求項2】
前記排水口はボールバルブを備え、
前記弁体や前記弁箱の清掃時に当該ボールバルブを開放して排水可能とする
ことを特徴とする請求項1に記載のゲート弁バルブ。
【請求項3】
前記下溝の下方は開放されており、当該下溝を塞ぐ底面と前記排水口とを形成する部材は前記弁箱に着脱可能である
ことを特徴とする請求項2に記載のゲート弁バルブ。
発明の詳細な説明
【技術分野】
【0001】
本発明はゲート弁バルブに関し、特に、汚泥を含む排水管に使用するゲート弁バルブに関する。
続きを表示(約 1,200 文字)
【背景技術】
【0002】
従来より、このゲート弁バルブとしては、例えば、特許文献1に記載されているような地熱蒸気用開閉弁があった。図4と図5は、特許文献1に記載された従来の地熱蒸気用開閉弁を示すものである。
【0003】
図4と図5において、弁箱501の一端部に地熱蒸気供給口502を開口し、他端部に地熱蒸気排出口503を開口し、地熱蒸気供給口502と地熱蒸気排出口503とを連通する流水路を開閉する弁体505が弁箱501の内部を昇降した。そして、弁箱501の上部蓋504に洗浄用圧力水注水口506を設け、下部には洗浄水排出口507と開閉弁508を設けていた。これにより、地熱蒸気に含まれる硫黄、硫化水素、シリカなどの種々の成分の弁体505への付着を防止していた。
【0004】
また、従来の仕切弁としては、特許文献2に記載されているようなものもあった。図6は、特許文献2に記載された従来の仕切弁を示すものである。
【0005】
図6において、仕切弁体701の直下に弁箱内底部に凹溝702を備え、その側壁部に凹溝と通じる送水管703および排水管704を取り付けるとともに、これらの送水管703および排水管704を介して洗いだし水を凹溝内に送り込みかつ通過させて、凹溝702内に溜まった土、砂、ゴミなどを洗いだし水とともに弁箱705外へ排出できるようにしていた。
【先行技術文献】
【特許文献】
【0006】
特開昭57-94172号公報
特開平4-145272号公報
【発明の概要】
【発明が解決しようとする課題】
【0007】
しかしながら、上記従来例の特許文献1に記載の構成では、弁体の上方から斜め下方に向けて洗浄水を噴射して弁体に付着した地熱蒸気に含まれる種々の成分からなる固形物を洗浄するものであったので、汚泥を含む排水管に接続されたゲート弁バルブのように弁体や弁箱内面に長期間に渡って付着した固形物を除去することは困難であった。
【0008】
また、洗浄用圧力水注水口506を上部蓋504に一カ所設けている構造では、洗浄用圧力水注水口506の周辺に付着した固形物を除去することができず、注水口が塞がってしまうおそれもあった。
【0009】
このため、弁体や弁箱内面に付着した固形物を洗い落とすことができず、排水管に接続するゲート弁バルブを閉じようとしても弁体が流水路まで下がらず流水路を閉鎖できないという課題を有していた。
【0010】
さらにまた、上記従来の特許文献2に記載の構成では、弁体直下の凹溝内に排水管を水平に設けているため、送水管と排水管とを共に設ける構造でないと凹溝の清掃が十分にできなかった。
(【0011】以降は省略されています)
この特許をJ-PlatPat(特許庁公式サイト)で参照する
関連特許
個人
留め具
1か月前
個人
鍋虫ねじ
2か月前
個人
回転伝達機構
3か月前
個人
ホース保持具
7か月前
個人
紛体用仕切弁
2か月前
個人
差動歯車用歯形
4か月前
個人
トーションバー
7か月前
個人
給排気装置
1か月前
個人
ジョイント
2か月前
株式会社不二工機
電磁弁
6か月前
個人
ナット
15日前
個人
地震の揺れ回避装置
3か月前
個人
ナット
2か月前
株式会社不二工機
電磁弁
4か月前
個人
ゲート弁バルブ
今日
個人
吐出量監視装置
2か月前
カヤバ株式会社
ダンパ
4か月前
カヤバ株式会社
緩衝器
1か月前
株式会社三協丸筒
枠体
7か月前
カヤバ株式会社
ダンパ
4か月前
カヤバ株式会社
緩衝器
4か月前
兼工業株式会社
バルブ
16日前
柿沼金属精機株式会社
分岐管
3か月前
カヤバ株式会社
緩衝器
4か月前
株式会社不二工機
電磁弁
2か月前
日東電工株式会社
断熱材
7か月前
株式会社ノーリツ
分配弁
6か月前
株式会社ノーリツ
分配弁
6か月前
株式会社奥村組
制振機構
1か月前
株式会社三五
ドライブシャフト
29日前
株式会社ノーリツ
分配弁
6か月前
個人
固着具と固着具の固定方法
6か月前
個人
固着具と固着具の固定方法
6か月前
個人
固着具と固着具の固定方法
7か月前
株式会社不二工機
電動弁
7か月前
個人
固着具と固着具の固定方法
6か月前
続きを見る
他の特許を見る