TOP
|
特許
|
意匠
|
商標
特許ウォッチ
Twitter
他の特許を見る
公開番号
2025181562
公報種別
公開特許公報(A)
公開日
2025-12-11
出願番号
2024098360
出願日
2024-05-31
発明の名称
波動歯車装置
出願人
個人
代理人
主分類
F16H
1/32 20060101AFI20251204BHJP(機械要素または単位;機械または装置の効果的機能を生じ維持するための一般的手段)
要約
【課題】可撓性外歯車の外歯の強度を増大すると共に外歯の歯底のリム厚を一定にしてリムの寿命を長くできる波動歯車装置を提供する。
【解決手段】波動歯車装置1は、円環状の剛性内歯車2と、剛性内歯車2の内側に同軸状に配置され且つ剛性内歯車2の内歯21より歯数の少ない外歯31が設けられた可撓性外歯車3と、可撓性外歯車3の内側に嵌められた波動発生器4と、内歯21と噛み合わない可撓性外歯車3の円筒部32の前部33に外歯31を円環状に接続する接続部5が設けられ且つ可撓性外歯車3の歯底リム厚tが一定になるように構成されている。
【選択図】図1
特許請求の範囲
【請求項1】
円環状の剛性内歯車と、前記剛性内歯車の内側に同軸状に配置され且つ前記剛性内歯車の内歯より歯数の少ない外歯が設けられた可撓性外歯車と、前記可撓性外歯車の内側に嵌められた波動発生器とを備え、前記可撓性外歯車は前記内歯と噛み合わない前記外歯の前部又は後部の少なくても一部分の前記外歯を円環状に接続する接続部が設けられ且つ前記外歯の歯底リム厚が一定に構成された波動歯車装置。
続きを表示(約 68 文字)
【請求項2】
前記接続部の内径は前記外歯から離れるに従って徐々に増加するように構成された請求項1に記載の波動歯車装置。
発明の詳細な説明
【技術分野】
【0001】
本発明は、波動歯車装置に関する。
続きを表示(約 1,400 文字)
【背景技術】
【0002】
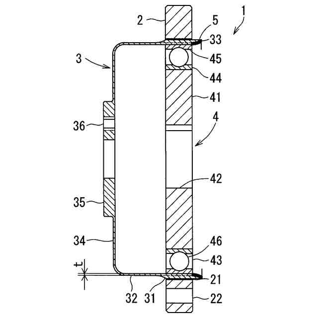
従来、例えば特許文献1に開示された波動歯車装置が知られている。特許文献1に開示された波動歯車装置は、円環状の剛性内歯車と、剛性内歯車の内側に同軸状に配置され且つ剛性内歯車の内歯より歯数の少ない外歯が設けられた可撓性外歯車と、可撓性外歯車の内側に嵌められた波動発生器とを備え、可撓性外歯車は可撓性外歯車の円筒部の前端が楕円状に撓められた後の歯底リムの厚さ方向の中央を通る曲線の長軸方向の撓み量と可撓性外歯車の歯底リム厚の積が一定のテーパ型に構成されている。
【先行技術文献】
【特許文献】
【0003】
特開2012-251588号公報
【発明の概要】
【発明が解決しようとする課題】
【0004】
特許文献1に開示された波動歯車装置は、可撓性外歯車の前端と反対側の外歯近傍の歯底のリム厚が厚くなるため、リムに発生する応力が大きくなり、リムの寿命が短くなるという課題がある。
【0005】
本発明は前述の課題を解決するため、可撓性外歯車の外歯の強度を増大すると共に可撓性外歯車の外歯の歯底のリム厚を薄く且つ一定にして、リムの寿命を長くできる波動歯車装置を提供することを目的とする。
【課題を解決するための手段】
【0006】
本発明は前述の課題を解決するため、請求項1に記載の波動歯車装置は、円環状の剛性内歯車と、前記剛性内歯車の内側に同軸状に配置され且つ前記剛性内歯車の内歯より歯数の少ない外歯が設けられた可撓性外歯車と、前記可撓性外歯車の内側に嵌められた波動発生器とを備え、前記可撓性外歯車は前記内歯と噛み合わない前記外歯の前部又は後部の少なくても一部分の前記外歯を円環状に接続する接続部が設けられ且つ前記外歯の歯底リム厚が一定に構成されている。
【0007】
また、請求項2に記載の前記接続部の内径は前記外歯から離れるに従って徐々に増加するように構成されている。
【発明の効果】
【0008】
本発明によれば、請求項1に記載の波動歯車装置は、剛性内歯車の内歯と噛み合わない可撓性外歯車の外歯の前部又は後部に外歯を円環状に接続する接続部が設けられているため、可撓性外歯車の強度を増大することができる。また、可撓性外歯車の外歯の歯底のリム厚が可撓性外歯車の円筒部と同じように薄く且つ一定のため、リムに発生する応力が小さくなり、リムの寿命を長くすることもできる。
【0009】
また、請求項2に記載の波動歯車装置は、前記接続部の内径の変化が少ないためリムに過大な応力が発生しないようにすることもできる。
【図面の簡単な説明】
【0010】
本発明の第1実施形態に係る波動歯車装置の構成を示す部分断面正面図である。
図1の可撓性外歯車の外歯の拡大断面正面図である。
図2のA-A矢印の部分断面側面図である。
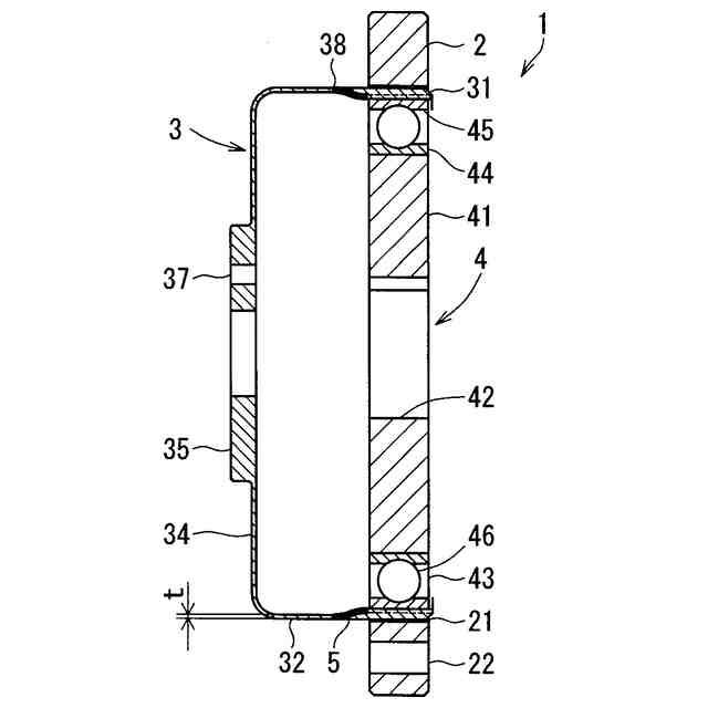
本発明の第2実施形態に係る波動歯車装置の構成を示す部分断面正面図である。
図4の可撓性外歯車の外歯の拡大断面正面図である。
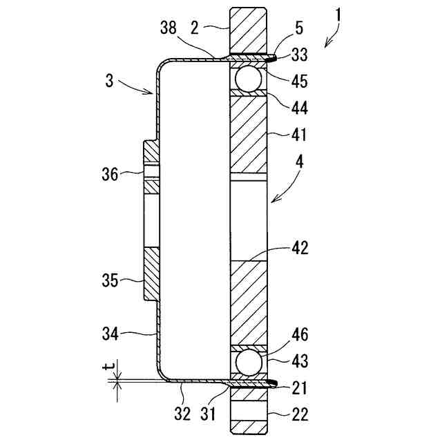
本発明の第3実施形態に係る波動歯車装置の構成を示す部分断面正面図である。
【発明を実施するための形態】
(【0011】以降は省略されています)
この特許をJ-PlatPat(特許庁公式サイト)で参照する
関連特許
個人
留め具
1か月前
個人
鍋虫ねじ
3か月前
個人
波動歯車装置
今日
個人
回転伝達機構
4か月前
個人
紛体用仕切弁
3か月前
個人
ジョイント
2か月前
個人
給排気装置
2か月前
個人
ナット
1か月前
個人
地震の揺れ回避装置
4か月前
株式会社不二工機
電磁弁
5か月前
個人
ナット
2か月前
個人
ゲート弁バルブ
21日前
個人
吐出量監視装置
3か月前
兼工業株式会社
バルブ
1か月前
カヤバ株式会社
緩衝器
5か月前
柿沼金属精機株式会社
分岐管
3か月前
カヤバ株式会社
緩衝器
2か月前
カヤバ株式会社
緩衝器
5か月前
株式会社ニフコ
クリップ
21日前
アズビル株式会社
回転弁
2か月前
株式会社タカギ
水栓装置
4か月前
株式会社ニフコ
クリップ
2か月前
株式会社ノーリツ
分配弁
2か月前
株式会社不二工機
電磁弁
3か月前
株式会社不二工機
電動弁
2か月前
株式会社奥村組
制振機構
2か月前
竹内工業株式会社
ラッチ
6日前
株式会社三五
ドライブシャフト
1か月前
株式会社奥村組
制振機構
2か月前
株式会社ノナガセ
免震装置
1か月前
個人
誘導電流活用式差動制限装置
2か月前
アズビル株式会社
連結装置
2日前
アズビル株式会社
連結装置
2日前
株式会社不二越
転がり軸受
3か月前
アマテイ株式会社
釘
1か月前
個人
ワンウェイベアリング
5か月前
続きを見る
他の特許を見る