TOP
|
特許
|
意匠
|
商標
特許ウォッチ
Twitter
他の特許を見る
公開番号
2025178822
公報種別
公開特許公報(A)
公開日
2025-12-09
出願番号
2024085650
出願日
2024-05-27
発明の名称
連結装置
出願人
アズビル株式会社
代理人
個人
主分類
F16B
7/04 20060101AFI20251202BHJP(機械要素または単位;機械または装置の効果的機能を生じ維持するための一般的手段)
要約
【課題】2つの軸の相対回転のジョイントへの伝達ロスを低減する。
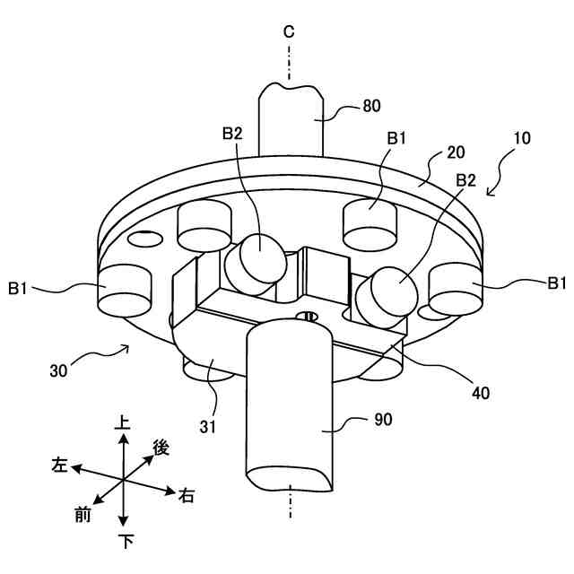
【解決手段】連結装置10では、板状部材20が、駆動軸80の下端部に回転不能に固定されている。駆動軸80の下端部は、板状部材20の中央に固定される。さらに、ジョイント30が、板状部31とブロック32とを備え、板状部31は、板状部材20に固定され、かつ、その固定箇所が、板状部31の外周縁部となっている。さらに、ブロック32は、板状部31の中央部に固定され、かつ、弁軸90の上端部91を受け入れる断面V字状の溝32Aを有する。クランプ部材40は、弁軸90の上端部91を受け入れる断面V字状の溝41を備え、ブロック32に締め付け固定されることで溝32Aの内面と溝41の内面とで上端部91を4方向からクランプする。歪みゲージ70は、板状部31に固定され、駆動軸80と弁軸90との相対回転により板状部31に生じる歪みを検出する。
【選択図】図3
特許請求の範囲
【請求項1】
第1軸の第1端部に、前記第1軸の回転軸に直交する向きで前記第1端部に対して回転不能に固定される板状部材であり前記第1端部の固定箇所が前記板状部材の中央である板状部材と、
前記回転軸に直交する向きで前記板状部材に固定される板状部であり固定箇所が前記板状部の外周縁部及び中央部のうちの一方である板状部、及び、前記板状部の前記外周縁部及び中央部のうちの他方に固定されるブロックであり前記第1軸と同軸の第2軸の四角柱形状の第2端部を受け入れる断面V字状の第1溝を有するブロックを備えるジョイントと、
前記第2端部を受け入れる断面V字状の第2溝を備え、前記ブロックに締め付け固定されることで前記第1溝の内面と前記第2溝の内面とで前記第2端部を4方向からクランプするクランプ部材と、
前記外周縁部と前記中央部との間の位置で前記板状部に固定され、前記第1軸と前記第2軸との相対回転により前記板状部に生じる歪みを検出する1又は複数の歪みゲージと、
を備える連結装置。
続きを表示(約 360 文字)
【請求項2】
前記板状部は、前記中央部に位置する島と、前記外周縁部に配置された環状部と、前記島から放射状に延びて前記環状部に達する複数の梁と、からなる骨組みを含み、
前記1又は複数の歪みゲージは、前記複数の梁のうちの1又は複数の梁にそれぞれ固定されている、
請求項1に記載の連結装置。
【請求項3】
前記第1溝と前記第2溝とのうちの少なくとも一方の溝の開き角が、前記第2端部の断面の2つの辺がなす角度未満であり、クランプされた前記第1端部により広がる、
請求項1に記載の連結装置。
【請求項4】
前記第1軸は、アクチュエータにより回転駆動される駆動軸であり、
前記第2軸は、弁体に繋がった弁軸である、
請求項1~3のいずれか1項に記載の連結装置。
発明の詳細な説明
【技術分野】
【0001】
本発明は、2つの軸を連結する連結装置に関する。
続きを表示(約 1,300 文字)
【背景技術】
【0002】
特許文献1には、アクチュエータの回転軸及び弁体などが接続された弁軸などの2つの軸を連結するジョイント(カップリング)と、2つの軸の相対回転を検出するためにジョイントに設けられた歪みゲージと、を備える連結装置が開示されている。
【先行技術文献】
【特許文献】
【0003】
特開2022-96285号公報
【発明の概要】
【発明が解決しようとする課題】
【0004】
特許文献1は、連結装置の連結態様の詳細を開示しておらず、連結態様によっては、例えば軸とジョイントとの間でガタツキが生じ、2つの軸の相対回転のジョイントへの伝達にロスが生じる。これにより、例えば、歪みゲージの検出値にヒステリシスが生じる。
【0005】
本発明は、2つの軸の相対回転のジョイントへの伝達ロスを低減することを課題とする。
【課題を解決するための手段】
【0006】
本発明に係る連結装置は、第1軸の第1端部に、前記第1軸の回転軸に直交する向きで前記第1端部に対して回転不能に固定される板状部材であり前記第1端部の固定箇所が前記板状部材の中央である板状部材と、前記回転軸に直交する向きで前記板状部材に固定される板状部であり固定箇所が前記板状部の外周縁部及び中央部のうちの一方である板状部、及び、前記板状部の前記外周縁部及び中央部のうちの他方に固定されるブロックであり前記第1軸と同軸の第2軸の四角柱形状の第2端部を受け入れる断面V字状の第1溝を有するブロックを備えるジョイントと、前記第2端部を受け入れる断面V字状の第2溝を備え、前記ブロックに締め付け固定されることで前記第1溝の内面と前記第2溝の内面とで前記第2端部を4方向からクランプするクランプ部材と、前記外周縁部と前記中央部との間の位置で前記板状部に固定され、前記第1軸と前記第2軸との相対回転により前記板状部に生じる歪みを検出する1又は複数の歪みゲージと、を備える。
【発明の効果】
【0007】
本発明によれば、2つの軸の相対回転のジョイントへの伝達ロスが低減される。
【図面の簡単な説明】
【0008】
図1は、本発明の実施形態に係る連結装置の斜視図である。
図2は、図1の連結装置の分解斜視図である。
図3は、図1の連結装置の分解斜視図である。
図4は、図1の連結装置の分解斜視図である。
【発明を実施するための形態】
【0009】
以下、本発明の一実施形態に係る連結装置を図面を参照して説明する。図面では、複数の要素の一部に対してのみ符号を付している場合がある。
【0010】
図1~図4に示すように、本発明の一実施形態に係る連結装置10は、アクチュエータ(図示略)により回転駆動される駆動軸80と、弁体(図示略)に繋がっている弁軸90と、を同軸に連結するように構成されている。連結装置10は、駆動軸80の回転を弁軸90に伝達することで、駆動軸80及び弁軸90を一体回転させる。
(【0011】以降は省略されています)
この特許をJ-PlatPat(特許庁公式サイト)で参照する
関連特許
アズビル株式会社
回転弁
2か月前
アズビル株式会社
連結装置
1日前
アズビル株式会社
連結装置
1日前
アズビル株式会社
電磁流量計
1か月前
アズビル株式会社
圧力センサ
2か月前
アズビル株式会社
ケージ調整弁
1日前
アズビル株式会社
無線式開度計
2か月前
アズビル株式会社
間欠動作制御回路
1か月前
アズビル株式会社
動粘度測定システム
2か月前
アズビル株式会社
電磁流量計の励磁回路
今日
アズビル株式会社
制御装置および制御方法
1か月前
アズビル株式会社
タービン式流量制御装置
今日
アズビル株式会社
位置計測装置および方法
1か月前
アズビル株式会社
熱式流量計および補正方法
2か月前
アズビル株式会社
制御装置、および、制御方法
5日前
アズビル株式会社
情報処理システムおよび方法
2か月前
アズビル株式会社
処理装置及び物理量検出装置
2か月前
アズビル株式会社
情報処理装置及び情報処理方法
1日前
アズビル株式会社
換気制御装置及び換気制御方法
2か月前
アズビル株式会社
流量演算装置及び超音波流量計
3か月前
アズビル株式会社
情報処理装置及び情報処理方法
今日
アズビル株式会社
空調制御装置及び空調制御方法
1か月前
アズビル株式会社
パイロットリレー及びポジショナ
3か月前
アズビル株式会社
ビル管理装置、及び、プログラム
1か月前
アズビル株式会社
情報処理装置および情報処理方法
12日前
アズビル株式会社
移動体制御装置及び移動体制御方法
1日前
アズビル株式会社
ディスパッチ計画作成装置および方法
1か月前
アズビル株式会社
連結装置、及び、連結装置の製造方法
1日前
アズビル株式会社
制御装置、制御方法及び制御システム
12日前
アズビル株式会社
移動速度演算装置及び移動速度演算方法
1日前
アズビル株式会社
処理装置、処理方法、及び、プログラム
2か月前
アズビル株式会社
超音波トランスデューサ及び超音波流量計
1日前
アズビル株式会社
検索装置、検索方法、および検索プログラム
2か月前
アズビル株式会社
分割装置、分割方法、および分割プログラム
2か月前
アズビル株式会社
管理装置、管理方法、および管理プログラム
2か月前
アズビル株式会社
超音波流量計及び超音波流量計の取り付け方法
1か月前
続きを見る
他の特許を見る