TOP
|
特許
|
意匠
|
商標
特許ウォッチ
Twitter
他の特許を見る
公開番号
2025178570
公報種別
公開特許公報(A)
公開日
2025-12-09
出願番号
2024085236
出願日
2024-05-27
発明の名称
超音波トランスデューサ及び超音波流量計
出願人
アズビル株式会社
代理人
弁理士法人山王内外特許事務所
主分類
H04R
17/00 20060101AFI20251202BHJP(電気通信技術)
要約
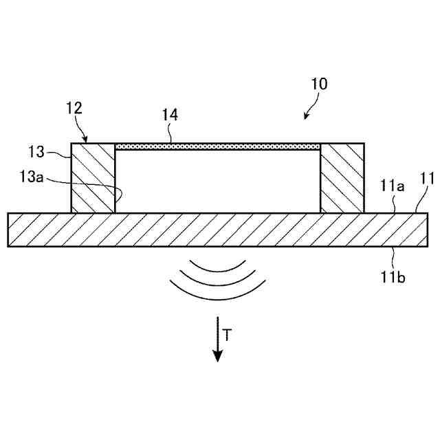
【課題】圧電素子を被計測流体に晒すことなく、超音波の送受信を行うことができる超音波トランスデューサ10を提供する。
【解決手段】超音波トランスデューサ10は、被計測流体に晒される裏面11bと、裏面11bとは反対側に位置する表面11aとを有する基板11と、表面11aに実装され、裏面11bを介して超音波を送受信する圧電素子12とを備える。
【選択図】図1
特許請求の範囲
【請求項1】
被計測流体に晒される一方の面と、前記一方の面とは反対側に位置する他方の面とを有する基板と、
前記他方の面に実装され、前記一方の面を介して超音波を送受信する圧電素子とを備える
ことを特徴とする超音波トランスデューサ。
続きを表示(約 780 文字)
【請求項2】
前記圧電素子は、
基端が前記他方の面に実装され、その内部に空洞部を有する基体と、
前記基体の先端に設けられ、前記空洞部と接する振動膜とを有する
ことを特徴とする請求項1記載の超音波トランスデューサ。
【請求項3】
前記振動膜は、圧電材料から形成される圧電薄膜である
ことを特徴とする請求項2記載の超音波トランスデューサ。
【請求項4】
前記一方の面に設けられる音響整合層を備える
ことを特徴とする請求項1から請求項3のうちのいずれか1項記載の超音波トランスデューサ。
【請求項5】
前記音響整合層は、熱硬化性樹脂及びガラスビーズを含む
ことを特徴とする請求項4記載の超音波トランスデューサ。
【請求項6】
前記音響整合層における前記一方の面への取付面積は、前記圧電素子における前記他方の面への取付面積よりも広く、
前記他方の面に取り付けられる前記圧電素子は、前記一方の面に取り付けられる前記音響整合層の内側に配置される
ことを特徴とする請求項4記載の超音波トランスデューサ。
【請求項7】
2つの超音波トランスデューサ間において超音波を送受信することにより、被計測流体の流体計測を行う超音波流量計であって、
前記2つの超音波トランスデューサのうちの少なくともいずれか一方の超音波トランスデューサは、
他方の超音波トランスデューサと対向する一方の面と、前記一方の面の反対側に位置する他方の面とを有する基板と、
前記他方の面に実装され、前記他方の超音波トランスデューサとの間で前記一方の面を介して超音波を送受信する圧電素子とを備える
ことを特徴とする超音波流量計。
発明の詳細な説明
【技術分野】
【0001】
本開示は、超音波トランスデューサ及び超音波流量計に関する。
続きを表示(約 1,000 文字)
【背景技術】
【0002】
特許文献1には、超音波の送受信を可能とする超音波トランスデューサが開示されている。
【先行技術文献】
【特許文献】
【0003】
特開2019-16934号公報
【発明の概要】
【発明が解決しようとする課題】
【0004】
特許文献1に開示された超音波トランスデューサは、圧電素子を備えている。圧電素子は、電圧が印加されることによって、その振動面が振動することにより、超音波の送受信を行う。即ち、特許文献1に開示された超音波トランスデューサにおいては、振動面が、使用環境下において、常に測定雰囲気に晒されている。
【0005】
そこで、特許文献1に開示された超音波トランスデューサを用いて、被計測流体の流量又は流速を計測(以下、「流体計測」と称す)しようとする場合においても、圧電素子の振動面は、被計測流体に常に晒されることになる。このため、圧電素子の振動面には、塵又は埃等の異物が付着する、又は、傷が付き易くなる。この結果、特許文献1に開示された超音波トランスデューサは、送受信精度、即ち、計測精度が低下するおそれがある。
【0006】
本開示は、上記のような課題を解決するためになされたもので、圧電素子を被計測流体に晒すことなく、超音波の送受信を行うことができる超音波トランスデューサを提供することを目的とする。
【課題を解決するための手段】
【0007】
本開示に係る超音波トランスデューサは、被計測流体に晒される一方の面と、一方の面とは反対側に位置する他方の面とを有する基板と、他方の面に実装され、一方の面を介して超音波を送受信する圧電素子とを備えるものである。
【発明の効果】
【0008】
本開示によれば、圧電素子を被計測流体に晒すことなく、超音波の送受信を行うことができる。
【図面の簡単な説明】
【0009】
実施の形態1に係る超音波トランスデューサの縦断面図である。
実施の形態2に係る超音波トランスデューサの縦断面図である。
【発明を実施するための形態】
【0010】
以下、本開示の実施の形態について図面を参照しながら詳細に説明する。
(【0011】以降は省略されています)
この特許をJ-PlatPat(特許庁公式サイト)で参照する
関連特許
アズビル株式会社
回転弁
2か月前
アズビル株式会社
連結装置
1日前
アズビル株式会社
連結装置
1日前
アズビル株式会社
圧力センサ
2か月前
アズビル株式会社
電磁流量計
1か月前
アズビル株式会社
無線式開度計
2か月前
アズビル株式会社
ケージ調整弁
1日前
アズビル株式会社
間欠動作制御回路
1か月前
アズビル株式会社
動粘度測定システム
2か月前
アズビル株式会社
電磁流量計の励磁回路
今日
アズビル株式会社
制御装置および制御方法
1か月前
アズビル株式会社
タービン式流量制御装置
今日
アズビル株式会社
位置計測装置および方法
1か月前
アズビル株式会社
熱式流量計および補正方法
2か月前
アズビル株式会社
制御装置、および、制御方法
5日前
アズビル株式会社
情報処理システムおよび方法
2か月前
アズビル株式会社
処理装置及び物理量検出装置
2か月前
アズビル株式会社
換気制御装置及び換気制御方法
2か月前
アズビル株式会社
流量演算装置及び超音波流量計
3か月前
アズビル株式会社
情報処理装置及び情報処理方法
今日
アズビル株式会社
空調制御装置及び空調制御方法
1か月前
アズビル株式会社
情報処理装置及び情報処理方法
1日前
アズビル株式会社
情報処理装置および情報処理方法
12日前
アズビル株式会社
パイロットリレー及びポジショナ
3か月前
アズビル株式会社
ビル管理装置、及び、プログラム
1か月前
アズビル株式会社
移動体制御装置及び移動体制御方法
1日前
アズビル株式会社
ディスパッチ計画作成装置および方法
1か月前
アズビル株式会社
制御装置、制御方法及び制御システム
12日前
アズビル株式会社
連結装置、及び、連結装置の製造方法
1日前
アズビル株式会社
移動速度演算装置及び移動速度演算方法
1日前
アズビル株式会社
処理装置、処理方法、及び、プログラム
2か月前
アズビル株式会社
データダイオードおよびパルス制御方法
3か月前
アズビル株式会社
超音波トランスデューサ及び超音波流量計
1日前
アズビル株式会社
検索装置、検索方法、および検索プログラム
2か月前
アズビル株式会社
分割装置、分割方法、および分割プログラム
2か月前
アズビル株式会社
管理装置、管理方法、および管理プログラム
2か月前
続きを見る
他の特許を見る