TOP
|
特許
|
意匠
|
商標
特許ウォッチ
Twitter
他の特許を見る
10個以上の画像は省略されています。
公開番号
2025159899
公報種別
公開特許公報(A)
公開日
2025-10-22
出願番号
2024062748
出願日
2024-04-09
発明の名称
ディスパッチ計画作成装置および方法
出願人
アズビル株式会社
代理人
個人
主分類
G06Q
50/06 20240101AFI20251015BHJP(計算;計数)
要約
【課題】優先エネルギーリソースを優先して発動し、予備エネルギーリソースを発動させないようにする。
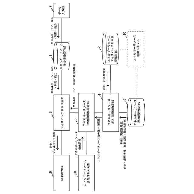
【解決手段】ディスパッチ計画作成装置は、過去の実績発電量と計画発電量の差に基づいてエネルギーリソースの過去のディスパッチ計画に対する遵守率の指標を算出して基本指標値とするエネルギーリソース基本指標値決定部4と、基本指標値とエネルギーリソースの優先情報に基づいて効用指標値を決定するエネルギーリソース効用指標値決定部5と、電気事業者からの指令値と計画発電量の合計を一致させる制約式を設定し、効用指標値に、発動状態を示す状態変数と計画発電量を乗算して全てのエネルギーリソースについて合計するという目的関数を設定して、ディスパッチ計画の最適化問題を定式化し、制約式の下で目的関数値が最小となる状態値と計画発電量を解として求めるディスパッチ計画作成部6を備える。
【選択図】 図1
特許請求の範囲
【請求項1】
エネルギーリソースの発動の優先度合いに対するアグリゲーターの意図を表す優先情報を入力可能なように構成された優先情報入力部と、
過去の実績発電量と計画発電量との差に基づいてエネルギーリソースの過去のディスパッチ計画に対する遵守率の指標を算出して基本指標値とするか、または前記遵守率の代理指標を前記基本指標値とするように構成された基本指標値決定部と、
前記基本指標値と前記優先情報とに基づいてエネルギーリソースの発動に対する効用指標値を決定するように構成された効用指標値決定部と、
電気事業者からの指令値と計画発電量の合計を一致させる制約式を少なくとも設定し、前記エネルギーリソース毎の効用指標値に、エネルギーリソース個々の発動状態を示す状態変数と作成するディスパッチ計画のエネルギーリソース毎の計画発電量とを乗算して全てのエネルギーリソースについて合計するという目的関数を設定して、ディスパッチ計画の最適化問題を定式化するように構成された最適化問題定式化部と、
前記制約式の下で、前記目的関数値が最小となる、エネルギーリソース毎の状態変数の値である状態値と計画発電量とをディスパッチ計画の最適化問題の解として求めるように構成された求解部とを備えることを特徴とするディスパッチ計画作成装置。
続きを表示(約 2,500 文字)
【請求項2】
請求項1記載のディスパッチ計画作成装置において、
作成するディスパッチ計画のエネルギーリソース毎の計画発電量の上下限値を、エネルギーリソースの運用上の制約とエネルギーリソースの発電能力の上下限値とに基づいて設定するように構成された計画発電量上下限値設定部をさらに備え、
前記最適化問題定式化部は、前記指令値と前記エネルギーリソースの発電能力の上下限値と前記計画発電量上下限値設定部によって設定された計画発電量の上下限値とに基づいてディスパッチ計画の最適化問題の制約式を設定することを特徴とするディスパッチ計画作成装置。
【請求項3】
請求項1または2記載のディスパッチ計画作成装置において、
前記基本指標値決定部は、エネルギーリソースが過去に発動したときの実績発電量と計画発電量との差の分布のばらつきを表すエネルギーリソース毎の統計量を、エネルギーリソースの過去のディスパッチ計画に対する遵守率の指標として、この遵守率の指標を前記基本指標値とすることを特徴とするディスパッチ計画作成装置。
【請求項4】
請求項3記載のディスパッチ計画作成装置において、
前記基本指標値決定部は、エネルギーリソースに対して過去にディマンドリスポンス指令が発動されたときの実績発電量と計画発電量との差の分布の分散をエネルギーリソース毎に算出して、エネルギーリソースの過去のディスパッチ計画に対する遵守率の指標とすることを特徴とするディスパッチ計画作成装置。
【請求項5】
請求項3記載のディスパッチ計画作成装置において、
前記基本指標値決定部は、エネルギーリソースに対して過去にディマンドリスポンス指令が発動されたときの実績発電量と計画発電量との差の絶対値をエネルギーリソース毎に算出し、差の絶対値のうちの最大値をエネルギーリソース毎に求めて、エネルギーリソースの過去のディスパッチ計画に対する遵守率の指標とすることを特徴とするディスパッチ計画作成装置。
【請求項6】
請求項1または2記載のディスパッチ計画作成装置において、
前記基本指標値決定部は、エネルギーリソースに対して過去にディマンドリスポンス指令が発動されたときの実績発電量と計画発電量との差の絶対値を時間区間毎およびエネルギーリソース毎に算出し、前記差の絶対値がこの絶対値の算出対象となった時間区間における計画発電量の所定割合を上回った第1の回数をエネルギーリソース毎に算出し、前記第1の回数をエネルギーリソースに対してディマンドリスポンス指令が発動された第2の回数で除算した結果をエネルギーリソース毎に算出して、エネルギーリソースの過去のディスパッチ計画に対する遵守率の指標とすることを特徴とするディスパッチ計画作成装置。
【請求項7】
請求項1または2記載のディスパッチ計画作成装置において、
エネルギーリソースの過去の環境データと、作成するディスパッチ計画を実施する計画区間における前記環境データの値とを取得するように構成された環境データ取得部をさらに備え、
前記基本指標値決定部は、エネルギーリソースに対して過去にディマンドリスポンス指令が発動されたときの実績発電量と計画発電量との差のデータと、前記差のデータの算出対象となった環境データとを学習データとして、前記差のデータと前記環境データとの関係式に前記学習データを代入して関係式のモデルパラメータ値を算出し、前記関係式に、前記関係式のモデルパラメータ値と前記環境データの値とを代入して計画区間における実績発電量と計画発電量との差の推定値を算出して、エネルギーリソースの過去のディスパッチ計画に対する遵守率の指標とすることを特徴とするディスパッチ計画作成装置。
【請求項8】
請求項1記載のディスパッチ計画作成装置において、
前記最適化問題定式化部は、前記効用指標値に乗算する計画発電量を絶対値とすることを特徴とするディスパッチ計画作成装置。
【請求項9】
請求項1記載のディスパッチ計画作成装置において、
前記効用指標値決定部は、アグリゲーターが優先して発動したい優先エネルギーリソースについては、この優先エネルギーリソースの前記効用指標値を0とし、アグリゲーターがなるべく発動させたくない予備エネルギーリソースについては、全てのエネルギーリソースの前記基本指標値のうちの最大値に1加えた値を、前記予備エネルギーリソースの前記効用指標値とし、前記優先エネルギーリソースでも前記予備エネルギーリソースでもないエネルギーリソースについては、このエネルギーリソースの前記基本指標値を前記効用指標値とすることを特徴とするディスパッチ計画作成装置。
【請求項10】
エネルギーリソースの発動の優先度合いに対するアグリゲーターの意図を表す優先情報を受け取る第1のステップと、
過去の実績発電量と計画発電量との差に基づいてエネルギーリソースの過去のディスパッチ計画に対する遵守率の指標を算出して基本指標値とするか、または前記遵守率の代理指標を前記基本指標値とする第2のステップと、
前記基本指標値と前記優先情報とに基づいてエネルギーリソースの発動に対する効用指標値を決定する第3のステップと、
電気事業者からの指令値と計画発電量の合計を一致させる制約式を少なくとも設定し、前記エネルギーリソース毎の効用指標値に、エネルギーリソース個々の発動状態を示す状態変数と作成するディスパッチ計画のエネルギーリソース毎の計画発電量とを乗算して全てのエネルギーリソースについて合計するという目的関数を設定して、ディスパッチ計画の最適化問題を定式化する第4のステップと、
前記制約式の下で、前記目的関数値が最小となる、エネルギーリソース毎の状態変数の値である状態値と計画発電量とをディスパッチ計画の最適化問題の解として求める第5のステップとを含むことを特徴とするディスパッチ計画作成方法。
発明の詳細な説明
【技術分野】
【0001】
本発明は、エネルギーリソースの運転計画であるディスパッチ計画を作成するディスパッチ計画作成装置および方法に関するものである。
続きを表示(約 2,400 文字)
【背景技術】
【0002】
日本政府は、第5次エネルギー基本計画(2018年7月閣議決定)において、将来的に再生可能エネルギーを主力電源化するとした上で、既に自由化されたエネルギー市場における競争促進、安定供給の確保、再生可能エネルギーの推進を含む環境適合、および需要家間の公平性確保など公益的課題に対応できる市場環境整備に取り組むと定めた。この取り組みの一環として、今後は、自然状況により出力が大きく変動する太陽光発電や風力発電などの増加に伴い、電力の需給バランスを保ち停電等を防ぐための調整力が必要となるため、従来型の大規模発電所による調整力に加えて、電力需要を増加または減少させるディマンドリスポンス(DR)を活用して調整力を確保するとした。
【0003】
また、第6次エネルギー基本計画(2021年10月閣議決定)においても引き続き、将来的に再生可能エネルギーを主力電源化するとし、調整力としてDRを活用するとされている。このように、再生可能エネルギーの推進に伴い必要とされているという経緯から、DRは持続可能な社会の実現に貢献する取り組みとして注目されている。
【0004】
DRとは、需要家が電力料金の設定やインセンティブの支払いに応じる形で、需要家側の発電設備、蓄電設備、電力消費設備(以後、これらをまとめてエネルギーリソースと呼ぶ)を制御して電力需要を変化させることである。DRの役割としては、電力供給を維持する電力容量確保のため(容量確保)に電力需要のピーク時に需要家側が電力使用を抑制することと、安定した電力供給にかかせないリアルタイムでの電力需給を調整するため(調整力)に需要家側の電力使用のパターンを変更すること、の2つが代表例として挙げられる。
【0005】
調整力として用いられる場合のDRでは、送配電網の系統安定化を行う義務を負う電気事業者がDRを行う事業者等に目標消費電力量や目標発電量、目標節電量等を指令し、指令を受けた事業者等はその目標を達成するようにエネルギーリソースを制御する。このため、電気事業者の指令を受けてDRを行う事業者は、電気事業者から指令された目標消費電力量や目標発電量、目標節電量等に沿うように設備を制御する必要がある。従来型の大規模発電所ではない、需要家側の設備については、消費電力量や目標発電量、目標節電量等に沿うような制御が困難な設備が存在する。しかし、そのような設備であっても、複数集めて制御する事によって調整力として活用できると期待されている。そして、電気事業者の指令を受け、複数のエネルギーリソースを統合制御してDRを実現する主体はリソースアグリゲーターと呼ばれている。
【0006】
リソースアグリゲーターがDRを行う場合、リソースアグリゲーターには、電気事業者が指令する目標発電量、目標節電量等(以後これらを指令値と呼ぶ)を達成するようにエネルギーリソースを制御する事が求められる。そのため、リソースアグリゲーターが指令値を達成するように複数のエネルギーリソースを統合制御するにあたり、少なくとも統合制御を開始する直前までに、ディスパッチ計画を作成するという方法が採られている。
【0007】
ディスパッチ計画とは、エネルギーリソースを起動するのか停止するのか、エネルギーリソースの制御設定をどのようにするのかということを、全てのエネルギーリソースに対して決めた運転計画である。リソースアグリゲーターは、電気事業者との間で、指令値を達成できなかった場合にリソースアグリゲーターにペナルティ料金などの不利益が生じるような契約を交わすことが一般的である。よって、リソースアグリゲーターがディスパッチ計画を策定する際は、ペナルティ料金などの不利益を生じさせないために、指令値をできるだけ達成できるような計画を策定することが望ましい。発明者は、このようなディスパッチ計画を作成する方法を提案した(特許文献1)。
【0008】
特許文献1に開示された方法では、エネルギーリソース個々の過去の計画発電量と実績発電量の差のばらつきを遵守率の指標と考えて、ディスパッチ計画の計画発電量と実績発電量の差のばらつきの推定値が最小となり、かつ指令値を達成することができるディスパッチ計画を作成する。
【0009】
特許文献1に開示された方法を用いてエネルギーリソースを運用する時、遵守率の大小とは異なる理由でアグリゲーターが特定のエネルギーリソースを優先してDRを発動したい場合がある(アグリゲーターが優先したいエネルギーリソースを以後、優先エネルギーリソースと呼ぶ)。例えば、アグリゲーターがDRの発動時の振る舞いを確認・検証するために実績データが欲しいためにエネルギーリソースを優先して発動させたい時や、アグリゲーターが需要家との契約上の努力義務を果たす目的や需要家の要望に応える等の目的で年間ガス最低使用量という契約基準を満たすためにコージェネレーションを積極的に使用したい場合がある。しかしながら、特許文献1に開示された方法では、特定のエネルギーリソースを優先して発動させるようにディスパッチ計画を作成する機能は実現できていなかった。
【0010】
また、特許文献1に開示された方法を用いてエネルギーリソースを運用する時、遵守率の大小とは異なる理由でアグリゲーターが特定のエネルギーリソースをなるべく発動させたくない場合がある(発動させたくないエネルギーリソースを以後、予備エネルギーリソースと呼ぶ)。しかしながら、特許文献1に開示された方法では、予備エネルギーリソースをなるべく発動させないようディスパッチ計画を作成する機能は実現できていなかった。
(【0011】以降は省略されています)
この特許をJ-PlatPat(特許庁公式サイト)で参照する
関連特許
アズビル株式会社
電磁流量計
25日前
アズビル株式会社
圧力センサ
1か月前
アズビル株式会社
間欠動作制御回路
16日前
アズビル株式会社
動粘度測定システム
1か月前
アズビル株式会社
制御装置および制御方法
23日前
アズビル株式会社
位置計測装置および方法
23日前
アズビル株式会社
熱式流量計および補正方法
1か月前
アズビル株式会社
情報処理システムおよび方法
1か月前
アズビル株式会社
換気制御装置及び換気制御方法
1か月前
アズビル株式会社
空調制御装置及び空調制御方法
18日前
アズビル株式会社
ビル管理装置、及び、プログラム
17日前
アズビル株式会社
ディスパッチ計画作成装置および方法
24日前
アズビル株式会社
処理装置、処理方法、及び、プログラム
1か月前
アズビル株式会社
検索装置、検索方法、および検索プログラム
1か月前
アズビル株式会社
分割装置、分割方法、および分割プログラム
1か月前
アズビル株式会社
超音波流量計及び超音波流量計の取り付け方法
22日前
アズビル株式会社
情報処理装置、情報処理方法及び情報処理プログラム
9日前
アズビル株式会社
電極材料選定装置および方法ならびに電極選定支援装置
1か月前
アズビル株式会社
情報処理装置、情報処理方法および情報処理プログラム
1か月前
アズビル株式会社
通信システム、受信装置、送信装置及び電波環境改善方法
1か月前
アズビル株式会社
情報処理装置、情報処理システム、情報処理方法および情報処理プログラム
1か月前
アズビル株式会社
生産スケジューリング装置、生産スケジューリング方法および生産スケジューリングプログラム
8日前
個人
詐欺保険
1か月前
個人
縁伊達ポイン
1か月前
個人
職業自動販売機
1日前
個人
RFタグシート
19日前
個人
5掛けポイント
8日前
個人
ペルソナ認証方式
16日前
個人
QRコードの彩色
1か月前
個人
地球保全システム
1か月前
個人
情報処理装置
11日前
個人
自動調理装置
18日前
個人
為替ポイント伊達夢貯
2か月前
個人
冷凍食品輸出支援構造
2か月前
個人
農作物用途分配システム
1か月前
個人
表変換編集支援システム
2か月前
続きを見る
他の特許を見る