TOP
|
特許
|
意匠
|
商標
特許ウォッチ
Twitter
他の特許を見る
10個以上の画像は省略されています。
公開番号
2025174316
公報種別
公開特許公報(A)
公開日
2025-11-28
出願番号
2024080565
出願日
2024-05-17
発明の名称
制御装置、制御方法及び制御システム
出願人
アズビル株式会社
代理人
弁理士法人山王内外特許事務所
主分類
H02H
3/05 20060101AFI20251120BHJP(電力の発電,変換,配電)
要約
【課題】電源接続部に故障が発生したとき、又は、電力監視部に故障が発生したときに、直流電源と負荷との間を遮断することができるようにする。
【解決手段】直流電力の供給を指示する駆動信号が与えられれば、直流電源1と負荷4とを接続し、駆動信号が与えられなければ、直流電源1と負荷4とを切り離す電源接続部11と、直流電源1から負荷4に直流電力が供給されているときには、周期信号を出力し、自己が故障しているときには、自己が故障している旨を示す信号を出力する電力監視部12とを備えるように、制御装置3を構成した。また、制御装置3は、駆動信号が電源接続部11に与えられているときに、電力監視部12から周期信号が出力されたときは、直流電源1と負荷4との間の接続を維持する一方、駆動信号が電源接続部11に与えられていないときに、電力監視部12から周期信号が出力されたとき、又は、電力監視部12から自己が故障している旨を示す信号が出力されたときは、直流電源1と負荷4との間を遮断する遮断部13を備えている。
【選択図】図1
特許請求の範囲
【請求項1】
直流電力の供給を指示する駆動信号が与えられれば、直流電源と負荷とを接続し、前記駆動信号が与えられなければ、前記直流電源と前記負荷とを切り離す電源接続部と、
前記直流電源から前記負荷に前記直流電力が供給されているときには、周期信号を出力し、自己が故障しているときには、自己が故障している旨を示す信号を出力する電力監視部と、
前記駆動信号が前記電源接続部に与えられているときに、前記電力監視部から周期信号が出力されたときは、前記直流電源と前記負荷との間の接続を維持する一方、前記駆動信号が前記電源接続部に与えられていないときに、前記電力監視部から周期信号が出力されたとき、又は、前記電力監視部から自己が故障している旨を示す信号が出力されたときは、前記直流電源と前記負荷との間を遮断する遮断部と
を備えた制御装置。
続きを表示(約 1,000 文字)
【請求項2】
前記遮断部は、
前記駆動信号が前記電源接続部に与えられているときに、前記電力監視部から周期信号が出力されないときには、前記直流電源と前記負荷との間を遮断することを特徴とする請求項1記載の制御装置。
【請求項3】
前記電力監視部は、
前記直流電源から前記負荷に前記直流電力が供給されているか否かを監視するための経路を複数有し、前記複数の経路に基づく監視によって、前記直流電力が供給されているか否かを判定することを特徴とする請求項1記載の制御装置。
【請求項4】
電源接続部が、直流電力の供給を指示する駆動信号が与えられれば、直流電源と負荷とを接続し、前記駆動信号が与えられなければ、前記直流電源と前記負荷とを切り離し、
電力監視部が、前記直流電源から前記負荷に前記直流電力が供給されているときには、周期信号を出力し、自己が故障しているときには、自己が故障している旨を示す信号を出力し、
遮断部が、前記駆動信号が前記電源接続部に与えられているときに、前記電力監視部から周期信号が出力されたときは、前記直流電源と前記負荷との間の接続を維持する一方、前記駆動信号が前記電源接続部に与えられていないときに、前記電力監視部から周期信号が出力されたとき、又は、前記電力監視部から自己が故障している旨を示す信号が出力されたときは、前記直流電源と前記負荷との間を遮断する
制御方法。
【請求項5】
直流電力を出力する直流電源と、
前記直流電力の供給を指示する駆動信号を出力する駆動信号出力部と、
前記駆動信号出力部から前記駆動信号が与えられれば、前記直流電源と負荷とを接続し、前記駆動信号が与えられなければ、前記直流電源と前記負荷とを切り離す電源接続部と、
前記直流電源から前記負荷に前記直流電力が供給されているときには、周期信号を出力し、自己が故障しているときには、自己が故障している旨を示す信号を出力する電力監視部と、
前記駆動信号が前記電源接続部に与えられているときに、前記電力監視部から周期信号が出力されたときは、前記直流電源と前記負荷との間の接続を維持する一方、前記駆動信号が前記電源接続部に与えられていないときに、前記電力監視部から周期信号が出力されたとき、又は、前記電力監視部から自己が故障している旨を示す信号が出力されたときは、前記直流電源と前記負荷との間を遮断する遮断部と
を備えた制御システム。
発明の詳細な説明
【技術分野】
【0001】
本開示は、制御装置、制御方法及び制御システムに関するものである。
続きを表示(約 2,200 文字)
【背景技術】
【0002】
負荷に対する電力の供給を制御する制御システムがある。
このような制御システムとして、例えば、特許文献1には、交流電源と負荷との間に接続されているリレー接点がオフになるように制御しているときに、交流電源から負荷に交流電力が供給されていれば、リレー接点がオン故障であることを検知する検出部を備える制御システムが開示されている。オン故障は、リレー接点が常時オン状態に固定されて、オフ状態に切り替わらない故障である。
【先行技術文献】
【特許文献】
【0003】
特開2011-208922号公報
【発明の概要】
【発明が解決しようとする課題】
【0004】
特許文献1に開示されている制御システムでは、交流電源の代わりに、直流電源が用いられた場合でも、リレー接点がオフになるように制御しているときに、直流電源から負荷に直流電力が供給されていていれば、検出部が、リレー接点がオン故障であることを検知することができる。
しかしながら、リレー接点がオンになるように制御されているときに、検出部から出力される信号が、直流電源から負荷に直流電力が供給されている旨を示すオン信号に固定されてしまうという検出部の故障が生じている場合、直流電源から負荷に直流電力が供給されているか否かにかかわらず、検出部から出力される信号がオン信号に固定される。特許文献1に開示されている制御システムは、上記のような検出部の故障が生じているときに、検出部の故障を検知するための技術を備えていないという課題があった。その結果、検出部に故障が発生したときに、直流電源と負荷との間を遮断することができないため、システムの健全性を確保することができない。
【0005】
本開示は、上記のような課題を解決するためになされたもので、電源接続部に故障が発生したとき、又は、電力監視部に故障が発生したときに、直流電源と負荷との間を遮断することができる制御装置を得ることを目的とする。
【課題を解決するための手段】
【0006】
本開示に係る制御装置は、直流電力の供給を指示する駆動信号が与えられれば、直流電源と負荷とを接続し、駆動信号が与えられなければ、直流電源と負荷とを切り離す電源接続部と、直流電源から負荷に直流電力が供給されているときには、周期信号を出力し、自己が故障しているときには、自己が故障している旨を示す信号を出力する電力監視部とを備えている。また、制御装置は、駆動信号が電源接続部に与えられているときに、電力監視部から周期信号が出力されたときは、直流電源と負荷との間の接続を維持する一方、駆動信号が電源接続部に与えられていないときに、電力監視部から周期信号が出力されたとき、又は、電力監視部から自己が故障している旨を示す信号が出力されたときは、直流電源と負荷との間を遮断する遮断部を備えている。
【発明の効果】
【0007】
本開示によれば、電源接続部に故障が発生したとき、又は、電力監視部に故障が発生したときに、直流電源と負荷との間を遮断することができる。
【図面の簡単な説明】
【0008】
実施の形態1に係る制御装置3を含む制御システムを示す構成図である。
実施の形態1に係る制御装置3のハードウェアを示すハードウェア構成図である。
制御装置3が、ソフトウェア又はファームウェア等によって実現される場合のコンピュータのハードウェア構成図である。
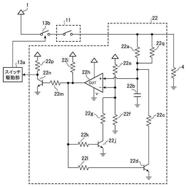
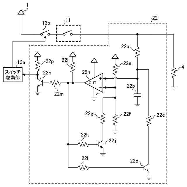
図2に示す電力監視回路22の回路例を示す回路図である。
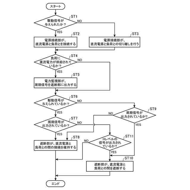
制御装置3の処理手順である制御方法を示すフローチャートである。
負荷4に印加される直流電圧、オペアンプ22hのプラス側入力端子に印加される電圧及び電力監視部12から出力される周期信号のそれぞれを示す説明図である。
遮断部13の判定結果と遮断部13の動作とを示す説明図である。
実施の形態2に係る制御システムの制御装置3に含まれる電力監視回路22の回路例を示す回路図である。
遮断部13が電力監視部12を内蔵している場合の制御システムを示す構成図である。
電力監視部12を内蔵している遮断部13が多重化されている場合の制御システムを示す構成図である。
【発明を実施するための形態】
【0009】
以下、本開示をより詳細に説明するために、本開示を実施するための形態について、添付の図面に従って説明する。
【0010】
実施の形態1.
図1は、実施の形態1に係る制御装置3を含む制御システムを示す構成図である。
図2は、実施の形態1に係る制御装置3のハードウェアを示すハードウェア構成図である。
図1に示す制御システムは、直流電源1、駆動信号出力部2、制御装置3及び負荷4を備えている。
直流電源1は、直流電力を負荷4に出力するための電源である。
駆動信号出力部2は、直流電力の供給を指示する駆動信号を制御装置3に出力する。
(【0011】以降は省略されています)
この特許をJ-PlatPat(特許庁公式サイト)で参照する
関連特許
アズビル株式会社
回転弁
2か月前
アズビル株式会社
電磁流量計
1か月前
アズビル株式会社
圧力センサ
1か月前
アズビル株式会社
無線式開度計
2か月前
アズビル株式会社
間欠動作制御回路
1か月前
アズビル株式会社
動粘度測定システム
1か月前
アズビル株式会社
位置計測装置および方法
1か月前
アズビル株式会社
制御装置および制御方法
1か月前
アズビル株式会社
熱式流量計および補正方法
1か月前
アズビル株式会社
処理装置及び物理量検出装置
2か月前
アズビル株式会社
情報処理システムおよび方法
1か月前
アズビル株式会社
流量演算装置及び超音波流量計
2か月前
アズビル株式会社
換気制御装置及び換気制御方法
1か月前
アズビル株式会社
空調制御装置及び空調制御方法
1か月前
アズビル株式会社
情報処理装置および情報処理方法
1日前
アズビル株式会社
ビル管理装置、及び、プログラム
1か月前
アズビル株式会社
ディスパッチ計画作成装置および方法
1か月前
アズビル株式会社
制御装置、制御方法及び制御システム
1日前
アズビル株式会社
処理装置、処理方法、及び、プログラム
1か月前
アズビル株式会社
分割装置、分割方法、および分割プログラム
1か月前
アズビル株式会社
管理装置、管理方法、および管理プログラム
2か月前
アズビル株式会社
検索装置、検索方法、および検索プログラム
1か月前
アズビル株式会社
超音波流量計及び超音波流量計の取り付け方法
1か月前
アズビル株式会社
情報処理装置、情報処理方法及び情報処理プログラム
23日前
アズビル株式会社
情報処理装置、情報処理方法および情報処理プログラム
1か月前
アズビル株式会社
電極材料選定装置および方法ならびに電極選定支援装置
1か月前
アズビル株式会社
通信システム、受信装置、送信装置及び電波環境改善方法
2か月前
アズビル株式会社
直線変位検知システム、バルブポジショナ、バルブ開度計
3日前
アズビル株式会社
情報処理装置、情報処理システム、情報処理方法および情報処理プログラム
2か月前
アズビル株式会社
生産スケジューリング装置、生産スケジューリング方法および生産スケジューリングプログラム
22日前
個人
高圧電気機器の開閉器
10日前
個人
電気を重力で発電装置
23日前
キヤノン電子株式会社
モータ
22日前
キヤノン電子株式会社
モータ
1か月前
コーセル株式会社
電源装置
1か月前
日星電気株式会社
ケーブル組立体
1か月前
続きを見る
他の特許を見る