TOP
|
特許
|
意匠
|
商標
特許ウォッチ
Twitter
他の特許を見る
公開番号
2025178813
公報種別
公開特許公報(A)
公開日
2025-12-09
出願番号
2024085638
出願日
2024-05-27
発明の名称
ケージ調整弁
出願人
アズビル株式会社
代理人
個人
主分類
F16K
3/24 20060101AFI20251202BHJP(機械要素または単位;機械または装置の効果的機能を生じ維持するための一般的手段)
要約
【課題】ケージ調節弁でのキャビテーションを低減する。
【解決手段】ケージ調節弁10は、液体が流れる流路Rが形成された弁箱11と、流路Rの途中に設けられた筒形状のケージ12であり、断面円形で径方向に延びた複数の貫通孔12Aを有するケージ12と、を備える。また、ケージ12の中心軸方向に沿って移動可能に構成されたプラグ15が設けられる。このプラグ15は、その位置に応じて複数の貫通孔12Aそれぞれの開度を変化させることで液体の流量を調節する。複数の貫通孔12Aのそれぞれは、液体が流入する第1端と液体が流出する第2端を含み、第1端から第2端に向かって徐々に先細りとなるテーパ孔である。
【選択図】図1
特許請求の範囲
【請求項1】
液体が流れる流路が形成された弁箱と、
前記流路の途中に設けられた筒形状のケージであり、断面円形で径方向に延びた複数の貫通孔を有するケージと、
前記ケージの中心軸方向に沿って移動可能に構成されたプラグであって、当該プラグの位置に応じて前記複数の貫通孔それぞれの開度を変化させることで前記液体の流量を調節するプラグと、を備え、
前記複数の貫通孔のそれぞれは、前記液体が流入する第1端と前記液体が流出する第2端を含み、前記第1端から前記第2端に向かって徐々に先細りとなるテーパ孔である、
ケージ調節弁。
続きを表示(約 290 文字)
【請求項2】
前記第1端は、前記ケージの外周側の開口であり、
前記第2端は、前記ケージの内周側の開口である、
請求項1に記載のケージ調節弁。
【請求項3】
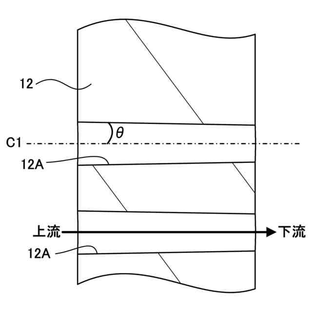
前記複数の貫通孔のテーパ角は、0.8度~3度の範囲内の角度である、
請求項1に記載のケージ調節弁。
【請求項4】
前記複数の貫通孔のテーパ角は、0.8度~2度の範囲内の角度である、
請求項1に記載のケージ調節弁。
【請求項5】
前記複数の貫通孔のテーパ角は、1度~1.5度の範囲内の角度である、
請求項1に記載のケージ調節弁。
発明の詳細な説明
【技術分野】
【0001】
本発明は、ケージ調整弁に関する。
続きを表示(約 1,800 文字)
【背景技術】
【0002】
特許文献1には、液体が流れる流路が形成された弁箱と、前記流路の途中に設けられた筒形状のケージであり、断面円形で径方向に延びた複数の貫通孔を有するケージと、前記ケージの中心軸方向に沿って移動可能に構成されたプラグであって、当該プラグの位置に応じて前記複数の貫通孔それぞれの開度を変化させることで前記液体の流量を調節するプラグと、を備えるケージ調節弁が開示されている。
【先行技術文献】
【特許文献】
【0003】
特開2017-020580号公報
【発明の概要】
【発明が解決しようとする課題】
【0004】
特許文献1のケージ調節弁では、キャビテーションが発生しやすい不都合がある。キャビテーションの発生は、液体圧力回復係数F
L
の低下及びエロ-ジョンにつながるので、キャビテーションは低減した方が好ましい。
【0005】
本発明は、ケージ調節弁でのキャビテーションを低減することを課題とする。
【課題を解決するための手段】
【0006】
本発明に係るケージ調節弁は、液体が流れる流路が形成された弁箱と、前記流路の途中に設けられた筒形状のケージであり、断面円形で径方向に延びた複数の貫通孔を有するケージと、前記ケージの中心軸方向に沿って移動可能に構成されたプラグであって、当該プラグの位置に応じて前記複数の貫通孔それぞれの開度を変化させることで前記液体の流量を調節するプラグと、を備え、前記複数の貫通孔のそれぞれは、前記液体が流入する第1端と前記液体が流出する第2端を含み、前記第1端から前記第2端に向かって徐々に先細りとなるテーパ孔である。
【発明の効果】
【0007】
本発明によれば、ケージ調節弁でのキャビテーションが低減される。
【図面の簡単な説明】
【0008】
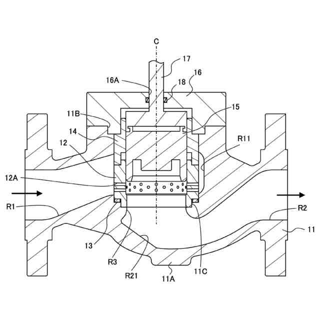
図1は、本発明の実施形態に係るケージ調節弁の断面図である。
図2は、図1のケージ調節弁の要部の断面斜視図である。
図3は、図1のケージ調節弁のケージの要部断面図である。
図4は、ケージの貫通孔の数を固定としてテーパ角θを変化させたときのテーパ角θとケージ調節弁の容量係数C
V
との関係を示すグラフである。
図5は、ケージの貫通孔の数を固定としてテーパ角θを変化させたときのテーパ角θとケージ調節弁の液体圧力回復係数F
L
との関係を示すグラフである。
図6は、ケージの間の最低限の間隔を設定して貫通孔の数を可変としてテーパ角θを変化させたときのテーパ角θとケージ調節弁の容量係数C
V
との関係を示すグラフである。
図7は、CFD解析によるケージ周辺のエロージョン分布の可視化図である。
図8は、テーパ角θと、CFD解析によるエロージョン指標が1.0×10
7
を超えたメッシュ数との関係を示す図である。
【発明を実施するための形態】
【0009】
以下、本発明の一実施形態に係るケージ調節弁について図面を参照して説明する。図面では、複数の要素の一部に対してのみ符号を付している場合がある。
【0010】
図1に示すように、本発明の一実施形態に係るケージ調節弁10は、弁箱11、ケージ12(図2も参照)、ガスケット13(図2も参照)、ガイド部材14(図2も参照)、プラグ15(図2も参照)、上蓋16、ステム17、及び、シール部材18を備える。ケージ調節弁10は、冷水、温水などの液体の流量を調節するように構成されている。なお、以下の説明では、弁箱11の弁底11A側を下側、プラグ15を移動させるステム17又はステム17を上下動させるアクチュエータ(不図示)の側を上側として説明する。この上下方向は、ケージ調節弁10の設置態様によっては、天地方向と一致しないことがある。また、ケージ12、ガスケット13、ガイド部材14、連通路R3、プラグ15、ステム17の各中心軸は共通で上下方向に沿った中心軸Cとなっている。
(【0011】以降は省略されています)
この特許をJ-PlatPat(特許庁公式サイト)で参照する
関連特許
アズビル株式会社
連結装置
1日前
アズビル株式会社
連結装置
1日前
アズビル株式会社
電磁流量計
1か月前
アズビル株式会社
ケージ調整弁
1日前
アズビル株式会社
間欠動作制御回路
1か月前
アズビル株式会社
電磁流量計の励磁回路
今日
アズビル株式会社
制御装置および制御方法
1か月前
アズビル株式会社
位置計測装置および方法
1か月前
アズビル株式会社
タービン式流量制御装置
今日
アズビル株式会社
制御装置、および、制御方法
5日前
アズビル株式会社
空調制御装置及び空調制御方法
1か月前
アズビル株式会社
換気制御装置及び換気制御方法
2か月前
アズビル株式会社
情報処理装置及び情報処理方法
1日前
アズビル株式会社
情報処理装置及び情報処理方法
今日
アズビル株式会社
ビル管理装置、及び、プログラム
1か月前
アズビル株式会社
情報処理装置および情報処理方法
12日前
アズビル株式会社
移動体制御装置及び移動体制御方法
1日前
アズビル株式会社
連結装置、及び、連結装置の製造方法
1日前
アズビル株式会社
ディスパッチ計画作成装置および方法
1か月前
アズビル株式会社
制御装置、制御方法及び制御システム
12日前
アズビル株式会社
移動速度演算装置及び移動速度演算方法
1日前
アズビル株式会社
超音波トランスデューサ及び超音波流量計
1日前
アズビル株式会社
検索装置、検索方法、および検索プログラム
2か月前
アズビル株式会社
分割装置、分割方法、および分割プログラム
2か月前
アズビル株式会社
モータ駆動制御装置及びモータの駆動制御方法
5日前
アズビル株式会社
超音波流量計及び超音波流量計の取り付け方法
1か月前
アズビル株式会社
情報処理装置、情報処理方法及び情報処理プログラム
1か月前
アズビル株式会社
直線変位検知システム、バルブポジショナ、バルブ開度計
14日前
アズビル株式会社
直線変位検知システム、バルブポジショナ、バルブ開度計
1日前
アズビル株式会社
生産スケジューリング装置、生産スケジューリング方法および生産スケジューリングプログラム
1か月前
個人
留め具
1か月前
個人
鍋虫ねじ
3か月前
個人
回転伝達機構
4か月前
個人
ホース保持具
7か月前
個人
紛体用仕切弁
3か月前
個人
トーションバー
8か月前
続きを見る
他の特許を見る