TOP
|
特許
|
意匠
|
商標
特許ウォッチ
Twitter
他の特許を見る
公開番号
2025178819
公報種別
公開特許公報(A)
公開日
2025-12-09
出願番号
2024085644
出願日
2024-05-27
発明の名称
連結装置、及び、連結装置の製造方法
出願人
アズビル株式会社
代理人
個人
主分類
F16D
1/05 20060101AFI20251202BHJP(機械要素または単位;機械または装置の効果的機能を生じ維持するための一般的手段)
要約
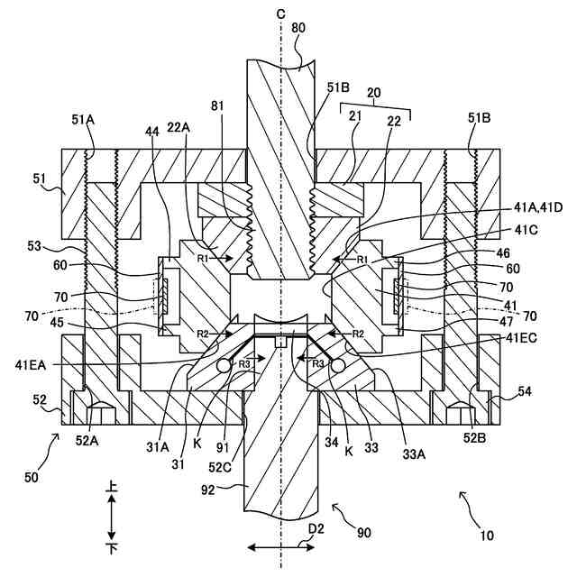
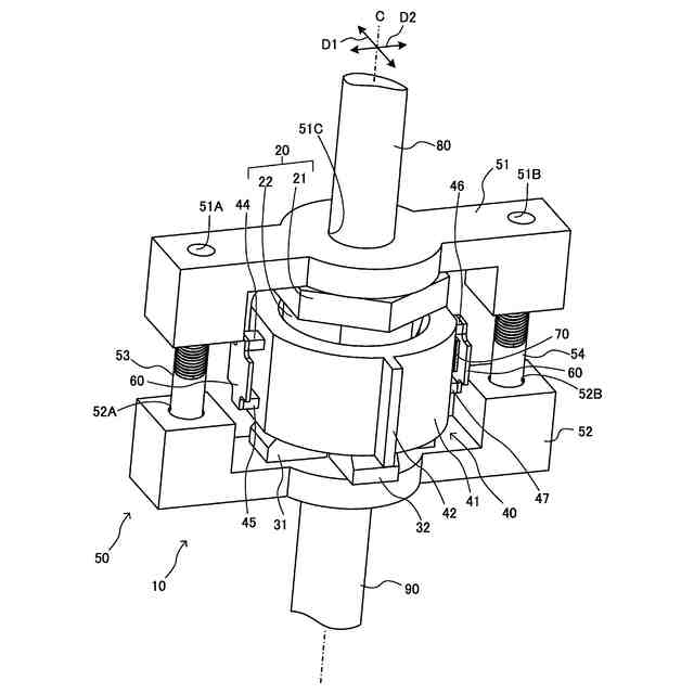
【課題】2つの軸の相対回転のジョイントへの伝達ロスを低減する。
【解決手段】駆動軸80と弁軸90とを連結する連結装置10は、ジョイント40が、駆動軸80に固定された固定部材20の下部が上方から挿入されている凹部41Aと、弁軸90に固定された固定部材30の上部が下方から挿入される凹部41Bと、凹部41Aと凹部41Bと連通する貫通孔41Cとを備える。さらに、クランプ部材50の第1部材51及び第2部52が、固定部材20と固定部材30とを上下方向から挟み込んで固定部材20と固定部材30とをジョイント40に押し付け、駆動軸80と弁軸90との相対回転が生じたときにジョイント40を捻じれさせる。さらに、歪みゲージ70がジョイント40に固定され、ジョイント40の捻じれを検出するように構成される。
【選択図】図2
特許請求の範囲
【請求項1】
回転軸方向を上下方向とした場合に第1軸の下端に固定される第1固定部材と、
前記第1軸の下方に前記第1軸と同軸で配置される第2軸の上端に固定される第2固定部材と、
上方から前記第1固定部材の下部が挿入された第1凹部と、下方から前記第2固定部材の上部が挿入された第2凹部とを備えるジョイントと、
前記第1固定部材と前記第2固定部材とを上下方向から挟み込んで前記第1固定部材と前記第2固定部材とを前記ジョイントに押し付け、前記第1軸と前記第2軸との相対回転が生じたときに前記ジョイントを捻じれさせるクランプ部材と、
前記ジョイントに固定され、前記ジョイントの捻じれを検出する歪みゲージと、
を備える連結装置。
続きを表示(約 1,500 文字)
【請求項2】
前記ジョイントは、前記第1凹部を形成する第1テーパ面を有し、
前記第1テーパ面は、
前記回転軸を中心軸とし下方に向かって先細りの形状であり、
前記クランプ部材により前記第1固定部材が前記ジョイントに押し付けられたときに前記第1固定部材を前記中心軸の方向に押圧することで前記第1固定部材を縮径するように形成されている、
請求項1に記載の連結装置。
【請求項3】
前記ジョイントは、前記第2凹部を形成する第2テーパ面を有し、
前記第2テーパ面は、
前記回転軸を中心軸とし上方に向かって先細りの形状であり、
前記クランプ部材により前記第2固定部材が前記ジョイントに押し付けられたときに前記第2固定部材を前記中心軸の方向に押圧することで前記第1固定部材を縮径するように形成されている、
請求項2に記載の連結装置。
【請求項4】
前記第1固定部材は、前記第1軸が中央を通るリング形状であり、その下端に前記回転軸を中心軸とし下方に向かって先細りで前記第1テーパ面と係合する第1テーパ部を備え、
前記第1テーパ面は、前記第1テーパ部を押圧する、
請求項2又は3に記載の連結装置。
【請求項5】
前記第2固定部材は、その上端に前記回転軸を中心軸とし上方に向かって先細りの第2テーパ部を備え、
前記第2テーパ部は、複数の平坦面を備え、
前記第2テーパ面は、前記複数の平坦面をそれぞれ押圧する複数の平坦面を備える、
請求項2又は3に記載の連結装置。
【請求項6】
前記ジョイントは、前記第1凹部及び前記第2凹部を備えるジョイント本体と、当該ジョイント本体から第1径方向に沿って突出し、かつ、上下方向に延びた板状で前記ジョイントを補強する補強部を備え、
前記歪みゲージは、上下方向からみたときに前記ジョイント本体の前記補強部から回転角90度の位置に配置され、かつ、前記第1径方向に平行な方向及び上下方向を面内方向とする板状に構成されている、
請求項1に記載の連結装置。
【請求項7】
前記クランプ部材は、前記第1固定部材及び前記第2固定部材を上下方向から挟み込む第1部材及び第2部材と、前記第1部材及び前記第2部材の一方を貫通し、他方に螺合することで前記第1部材と前記第2部材との間の距離を調整する2つのボルトとを備え、
前記2つのボルトは、前記第1部材及び前記第2部材の前記第1径方向に直交する第2径方向の両端で前記他方に螺合する、
請求項6に記載の連結装置。
【請求項8】
前記第1軸と前記第2軸とのうちの一方は、アクチュエータにより回転駆動される駆動軸であり、他方は、弁体に繋がった弁軸である、
請求項1に記載の連結装置。
【請求項9】
請求項1に記載の連結装置の製造方法であって、
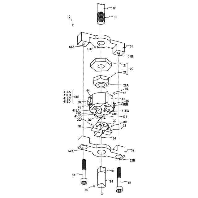
軸の端部の形状に応じて異なる形状を有する複数種類の固定部材から、前記第1軸の下端の形状に対応した形状の固定部材を前記第1固定部材として選択し、前記第2軸の上端の形状に対応した形状の固定部材を前記第2固定部材として選択する第1ステップと、
予め用意された複数種類のジョイントから、前記第1ステップで選択した前記第1固定部材及び前記第2固定部材に合せた形状のジョイントを選択する第2ステップと、
前記第2ステップで選択した前記第1固定部材、前記第2固定部材、前記ジョイントを用いて前記連結装置を組み立てる第3ステップと、
を有する、連結装置の製造方法。
発明の詳細な説明
【技術分野】
【0001】
本発明は、2つの軸の連結装置、及び、連結装置の製造方法に関する。
続きを表示(約 1,300 文字)
【背景技術】
【0002】
特許文献1には、アクチュエータの回転軸及び弁体などが接続された弁軸などの2つの軸を連結するジョイント(カップリング)と、2つの軸の相対回転を検出するためにジョイントに設けられた歪みゲージと、を備える連結装置が開示されている。
【先行技術文献】
【特許文献】
【0003】
特開2022-96285号公報
【発明の概要】
【発明が解決しようとする課題】
【0004】
特許文献1は、連結装置の連結態様の詳細を開示しておらず、連結態様によっては、例えば軸とジョイントとの間でガタツキが生じ、2つの軸の相対回転のジョイントへの伝達にロスが生じる。
【0005】
本発明は、2つの軸の相対回転のジョイントへの伝達ロスを低減することを課題とする。
【課題を解決するための手段】
【0006】
本発明に係る連結装置は、回転軸方向を上下方向とした場合に第1軸の下端に固定される第1固定部材と、前記第1軸の下方に前記第1軸と同軸で配置される第2軸の上端に固定される第2固定部材と、上方から前記第1固定部材の下部が挿入された第1凹部と、下方から前記第2固定部材の上部が挿入された第2凹部とを備えるジョイントと、前記第1固定部材と前記第2固定部材とを上下方向から挟み込んで前記第1固定部材と前記第2固定部材とを前記ジョイントに押し付け、前記第1軸と前記第2軸との相対回転が生じたときに前記ジョイントを捻じれさせるクランプ部材と、前記ジョイントに固定され、前記ジョイントの捻じれを検出する歪みゲージと、を備える。
【0007】
連結装置の製造方法は、上記連結装置の製造方法であって、軸の端部の形状に応じて異なる形状を有する複数種類の固定部材から、前記第1軸の下端の形状に対応した形状の固定部材を前記第1固定部材として選択し、前記第2軸の上端の形状に対応した形状の固定部材を前記第2固定部材として選択する第1ステップと、予め用意された複数種類のジョイントから、前記第1ステップで選択した前記第1固定部材及び前記第2固定部材に合せた形状のジョイントを選択する第2ステップと、前記第2ステップで選択した前記第1固定部材、前記第2固定部材、前記ジョイントを用いて前記連結装置を組み立てる第3ステップと、を有する。
【発明の効果】
【0008】
本発明によれば、2つの軸の相対回転のジョイントへの伝達ロスが低減される。
【図面の簡単な説明】
【0009】
図1は、本発明の実施形態に係る連結装置の斜視図である。
図2は、図1の連結装置の断面図である。
図3は、図1の連結装置の分解斜視図である。
図4は、図1の連結装置の分解斜視図である。
【発明を実施するための形態】
【0010】
以下、本発明の一実施形態に係る連結装置を図面を参照して説明する。
(【0011】以降は省略されています)
この特許をJ-PlatPat(特許庁公式サイト)で参照する
関連特許
アズビル株式会社
回転弁
2か月前
アズビル株式会社
連結装置
1日前
アズビル株式会社
連結装置
1日前
アズビル株式会社
電磁流量計
1か月前
アズビル株式会社
圧力センサ
2か月前
アズビル株式会社
無線式開度計
2か月前
アズビル株式会社
ケージ調整弁
1日前
アズビル株式会社
間欠動作制御回路
1か月前
アズビル株式会社
動粘度測定システム
2か月前
アズビル株式会社
電磁流量計の励磁回路
今日
アズビル株式会社
タービン式流量制御装置
今日
アズビル株式会社
位置計測装置および方法
1か月前
アズビル株式会社
制御装置および制御方法
1か月前
アズビル株式会社
熱式流量計および補正方法
2か月前
アズビル株式会社
情報処理システムおよび方法
2か月前
アズビル株式会社
処理装置及び物理量検出装置
2か月前
アズビル株式会社
制御装置、および、制御方法
5日前
アズビル株式会社
換気制御装置及び換気制御方法
2か月前
アズビル株式会社
空調制御装置及び空調制御方法
1か月前
アズビル株式会社
流量演算装置及び超音波流量計
3か月前
アズビル株式会社
情報処理装置及び情報処理方法
今日
アズビル株式会社
情報処理装置及び情報処理方法
1日前
アズビル株式会社
ビル管理装置、及び、プログラム
1か月前
アズビル株式会社
情報処理装置および情報処理方法
12日前
アズビル株式会社
移動体制御装置及び移動体制御方法
1日前
アズビル株式会社
連結装置、及び、連結装置の製造方法
1日前
アズビル株式会社
ディスパッチ計画作成装置および方法
1か月前
アズビル株式会社
制御装置、制御方法及び制御システム
12日前
アズビル株式会社
処理装置、処理方法、及び、プログラム
2か月前
アズビル株式会社
移動速度演算装置及び移動速度演算方法
1日前
アズビル株式会社
超音波トランスデューサ及び超音波流量計
1日前
アズビル株式会社
分割装置、分割方法、および分割プログラム
2か月前
アズビル株式会社
検索装置、検索方法、および検索プログラム
2か月前
アズビル株式会社
管理装置、管理方法、および管理プログラム
2か月前
アズビル株式会社
モータ駆動制御装置及びモータの駆動制御方法
5日前
アズビル株式会社
超音波流量計及び超音波流量計の取り付け方法
1か月前
続きを見る
他の特許を見る