TOP
|
特許
|
意匠
|
商標
特許ウォッチ
Twitter
他の特許を見る
公開番号
2025143715
公報種別
公開特許公報(A)
公開日
2025-10-02
出願番号
2024043093
出願日
2024-03-19
発明の名称
圧力センサ
出願人
アズビル株式会社
代理人
個人
主分類
G01L
19/06 20060101AFI20250925BHJP(測定;試験)
要約
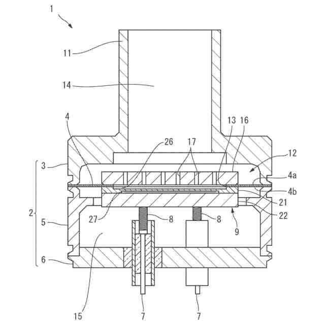
【課題】成膜プロセスによる堆積に起因する零点シフトが低減される圧力センサを提供する。
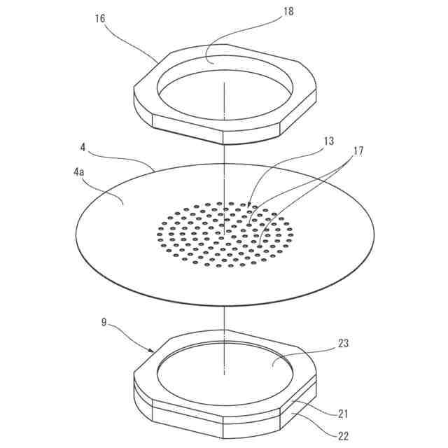
【解決手段】センサ素子9と、ハウジング(パッケージ)2と、導圧用の開口部13を有する支持ダイアフラム4と、支持ダイアフラム4をセンサ素子9と協働して挟む台座部材16とを有する。センサ素子9は、支持ダイアフラム4の開口部13を塞ぐ状態で支持ダイアフラム4に接合される。台座部材16は、導圧部18を有し、導圧部18が支持ダイアフラム4の開口部13と重なるように支持ダイアフラム4に接合される。台座部材16の導圧部18は、複数の同一形状の開口を有する導圧孔17によって構成されている。複数の導圧孔17は、支持ダイアフラム4の中心と同軸となる複数の同心円上に配置されるとともに、支持ダイアフラム4の開口部平面4aの単位面積あたり均等に分布するように配置されている。
【選択図】 図2
特許請求の範囲
【請求項1】
圧力を検出するセンサ素子と、
前記センサ素子を収容するパッケージと、
前記センサ素子を前記パッケージ内で支持する支持構造とを備え、
前記支持構造は、
前記パッケージに外縁部が固定されるとともに中央に開口部を有するリング状の支持ダイアフラムと、
前記支持ダイアフラムを前記センサ素子と協働して挟む台座部材とを有し、
前記センサ素子は、前記支持ダイアフラムの開口部を塞ぐ状態で前記支持ダイアフラムに接合され、
前記台座部材は、導圧部を有し、この導圧部が前記支持ダイアフラムの前記開口部と重なるように前記支持ダイアフラムに接合されている圧力センサであって、
前記台座部材の前記導圧部は、複数の同一形状の導圧孔によって構成され、
前記導圧孔は、前記台座部材の中心と同軸となる複数の同心円上に配置されるとともに、前記台座部材の前記導圧部の開口平面の単位面積あたり均等に分布するように配置されていることを特徴とする圧力センサ。
続きを表示(約 920 文字)
【請求項2】
圧力を検出するセンサ素子と、
前記センサ素子を収容するパッケージと、
前記センサ素子を前記パッケージ内で支持する支持構造とを備え、
前記支持構造は、
導圧用の開口部を有する平板状に形成されて前記パッケージに外縁部が固定された支持ダイアフラムと、
前記支持ダイアフラムを前記センサ素子と協働して挟む台座部材とを有し、
前記センサ素子は、前記支持ダイアフラムの前記開口部を塞ぐ状態で前記支持ダイアフラムに接合され、
前記台座部材は、導圧部を有し、この導圧部が前記支持ダイアフラムの前記開口部と重なるように前記支持ダイアフラムに接合されている圧力センサであって、
前記支持ダイアフラムの前記開口部は、複数の同一形状の開口を有する導圧孔によって構成され、
前記導圧孔は、前記支持ダイアフラムの中心と同軸となる複数の同心円上に配置されるとともに、前記支持ダイアフラムの導圧孔開口平面の単位面積あたり均等に分布するように配置されていることを特徴とする圧力センサ。
【請求項3】
請求項1または請求項2に記載の圧力センサにおいて、
前記導圧孔の開口形状は円形であることを特徴とする圧力センサ。
【請求項4】
請求項1または請求項2に記載の圧力センサにおいて、
前記導圧孔の開口形状は多角形であることを特徴とする圧力センサ。
【請求項5】
請求項1または請求項2に記載の圧力センサにおいて、
前記センサ素子は、
前記支持ダイアフラムによって開口部分が閉塞される第1の円形凹部と、
前記支持ダイアフラムとは反対側に向けて開口する第2の円形凹部と、
前記第1の円形凹部と前記第2の円形凹部との境界となる部分に形成されたセンサダイアフラムとを有し、
前記第1の円形凹部の内径は、前記第2の円形凹部の内径より大きく形成され、
前記導圧孔は、前記支持ダイアフラムの厚み方向から見て前記第2の円形凹部より径方向の外側にも形成されていることを特徴とする圧力センサ。
発明の詳細な説明
【技術分野】
【0001】
本発明は、被測定流体に接触するダイアフラムを有する圧力センサに関する。
続きを表示(約 1,700 文字)
【背景技術】
【0002】
静電容量式の圧力センサを用いた真空計は、例えば半導体製造装置に使用されている。この種の真空計は、半導体製造装置で行われる各種の工程のうち、成膜工程の他にSi等のウエハをエッチングする工程でも使用されている。成膜工程で実施される成膜手法としては、スパッタ、CVD (chemical vapor deposition), ALD (atomic layer deposition)などがある。
【0003】
半導体製造装置で行われる成膜・エッチング工程においては、多かれ少なかれ成膜する膜やプロセス中に生成される副生成物がチャンバーや配管、ポンプ内部に堆積し、様々なトラブルを引き起こす。その中でもプロセスのガス圧力を計測・制御する真空計の圧力センサのダイアフラム受圧面上への上記物質の堆積は、その零点のシフトや圧力感度の変化をもたらし、成膜やエッチングの品質に大きな影響を与えてしまうことが知られている。
【0004】
隔膜真空計のダイアフラムの受圧面上を構造化することで堆積膜の影響を抑制しようとする試みとして特許文献1および特許文献2に示すようなダイアフラムの構造が提案されている。これらの特許文献1,2には、ダイアフラムの受圧面上にテーブル型、逆テーパー型、あるいは方形波状の構造体やハニカム形状になるよう梁構造を設けることで堆積膜を分断し、膜応力がダイアフラムに与える影響を抑制する手法が記述されている。ただし、このような対策はALDの様に表面の物理的・化学的吸着に基づく一様な膜が成膜されるプロセスに対しては、効果が低いと考えられる。
【0005】
堆積膜の影響を抑制するためには、例えば特許文献3に開示されているように、ダイアフラムにハニカム状の凹凸を設けることが考えられる。特許文献3には、ダイアフラムにハニカム状の多数の凹凸を設け、堆積膜の膨張、収縮に起因してダイアフラムに生じるモーメントを調整する技術が開示されている。
【0006】
特許文献4には、堆積膜の付着を抑制するのではなく、成膜用のガスに含まれるような汚染物質を所定のパターンでダイアフラムに導いて堆積膜の生成を許容しながらセンサ出力の零点シフトを低減する技術が開示されている。特許文献4に記載されている装置は、圧力センサの上流側にバッフルを有している。バッフルには、ガスを通すための複数の円弧状の長孔が形成されている。これらの長孔は、ダイアフラム中心から径方向外側に向かって複数の同心円状に配置されている。各円弧状の孔の円弧の長さは、ダイアフラム中心から径方向に外側に向かうほど長くなっている。
【先行技術文献】
【特許文献】
【0007】
特表2009-524024号公報
特開2008-107214号公報
特開2009-265041号公報
特許第4607889号公報
【発明の概要】
【発明が解決しようとする課題】
【0008】
特許文献3に記載されている方法は、均一、均質な膜が一様にダイアフラム上に成膜される場合には、凹凸を理想的な寸法に形成することにより非常に大きな効果がある。しかしながら、加工公差を小さくするにも限界があるから、製造上のばらつきでダイアフラム中心部分において加工を充分にできないことがあり、モーメントを調整する効果が得られないものも出てくるという欠点がある。
【0009】
特許文献4に記載されている技術の効果を検証した結果、詳細は後述するが、零点シフトの抑制効果は改善されないことが判明し、更なる改善が必要であることが判った。
【0010】
上述したような副生成物の堆積による影響は、圧力センサの計測精度の低下を招くため、計測精度の高い真空計を実現するためには零点のシフトを出来るだけ小さくすることが必要であり、改善が求められている。
本発明の目的は、成膜プロセスによる堆積に起因する零点シフトが低減される圧力センサを提供することである。
【課題を解決するための手段】
(【0011】以降は省略されています)
この特許をJ-PlatPat(特許庁公式サイト)で参照する
関連特許
アズビル株式会社
圧力センサ
1か月前
アズビル株式会社
電磁流量計
15日前
アズビル株式会社
無線式開度計
1か月前
アズビル株式会社
間欠動作制御回路
6日前
アズビル株式会社
動粘度測定システム
1か月前
アズビル株式会社
位置計測装置および方法
13日前
アズビル株式会社
制御装置および制御方法
13日前
アズビル株式会社
熱式流量計および補正方法
1か月前
アズビル株式会社
情報処理システムおよび方法
1か月前
アズビル株式会社
空調制御装置及び空調制御方法
8日前
アズビル株式会社
換気制御装置及び換気制御方法
27日前
アズビル株式会社
ビル管理装置、及び、プログラム
7日前
アズビル株式会社
ディスパッチ計画作成装置および方法
14日前
アズビル株式会社
処理装置、処理方法、及び、プログラム
1か月前
アズビル株式会社
分割装置、分割方法、および分割プログラム
27日前
アズビル株式会社
検索装置、検索方法、および検索プログラム
27日前
アズビル株式会社
超音波流量計及び超音波流量計の取り付け方法
12日前
アズビル株式会社
電極材料選定装置および方法ならびに電極選定支援装置
1か月前
アズビル株式会社
情報処理装置、情報処理方法および情報処理プログラム
1か月前
アズビル株式会社
通信システム、受信装置、送信装置及び電波環境改善方法
1か月前
アズビル株式会社
情報処理装置、情報処理システム、情報処理方法および情報処理プログラム
1か月前
個人
メジャー文具
29日前
個人
採尿及び採便具
6日前
日本精機株式会社
検出装置
今日
個人
アクセサリー型テスター
22日前
個人
高精度同時多点測定装置
21日前
甲神電機株式会社
電流検出装置
今日
ユニパルス株式会社
ロードセル
28日前
株式会社ミツトヨ
測定器
12日前
アズビル株式会社
電磁流量計
15日前
株式会社ヨコオ
ソケット
27日前
株式会社チノー
放射光測温装置
28日前
株式会社ヨコオ
ソケット
28日前
トヨタ自動車株式会社
監視装置
27日前
ダイキン工業株式会社
監視装置
26日前
長崎県
形状計測方法
22日前
続きを見る
他の特許を見る