TOP
|
特許
|
意匠
|
商標
特許ウォッチ
Twitter
他の特許を見る
10個以上の画像は省略されています。
公開番号
2025141556
公報種別
公開特許公報(A)
公開日
2025-09-29
出願番号
2024041554
出願日
2024-03-15
発明の名称
情報処理装置、情報処理システム、情報処理方法および情報処理プログラム
出願人
アズビル株式会社
代理人
弁理士法人酒井国際特許事務所
主分類
G06F
11/30 20060101AFI20250919BHJP(計算;計数)
要約
【課題】効率的な点検を可能とする。
【解決手段】情報処理装置100は、フィールド機器10とフィールド機器10を制御する装置との間で行われた通信ログを取得する取得部131と、取得部131により取得された通信ログを所定の条件で検索してコマンドを特定する特定部132と、特定部132により特定されたコマンドを所定の内容に編集する変更部133と、変更部133により編集されたコマンドをフィールド機器に送信する送信部134とを有することを特徴とする。
【選択図】図3
特許請求の範囲
【請求項1】
フィールド機器と前記フィールド機器を制御する装置との間で行われた通信のログを取得する取得部と、
前記取得部により取得された前記通信のログを所定の条件で検索してコマンドを特定する特定部と、
前記特定部により特定された前記コマンドを変更する変更部と、
前記変更部により変更された前記コマンドを前記フィールド機器に送信する送信部と
を有することを特徴とする情報処理装置。
続きを表示(約 1,400 文字)
【請求項2】
前記特定部は、前記取得部により取得された前記通信のログを、ユーザから受け付けた検索条件で検索してコマンドを特定することを特徴とする請求項1に記載の情報処理装置。
【請求項3】
前記特定部は、前記取得部により取得された前記通信のログを、記憶部に記憶された検索条件で検索してコマンドを特定することを特徴とする請求項1に記載の情報処理装置。
【請求項4】
前記変更部は、前記特定部により特定された前記コマンドをユーザから受け付けた内容に変更することを特徴とする請求項1に記載の情報処理装置。
【請求項5】
前記変更部は、前記特定部により特定された前記コマンドを記憶部に記憶された内容に変更することを特徴とする請求項1に記載の情報処理装置。
【請求項6】
前記送信部は、前記変更部により変更された前記コマンドを所定のタイミングで前記フィールド機器に送信することを特徴とする請求項1に記載の情報処理装置。
【請求項7】
再利用するコマンドの情報を作成する第1の情報処理装置と、前記再利用するコマンドの情報を受信する第2の情報処理装置とからなるシステムであって、
前記第1の情報処理装置は、
フィールド機器と前記フィールド機器を制御する装置との間で行われた通信のログを取得する取得部と、
前記取得部により取得された前記通信のログを所定の条件で検索してコマンドを特定する特定部と、
前記特定部により特定された前記コマンドを変更する変更部と、
前記特定部により特定されたコマンドと、前記変更部により変更されたコマンドとを含む再利用するコマンドの情報を作成する作成部と、
前記作成部により作成された前記再利用するコマンドの情報を、前記第2の情報処理装置に送信する再利用コマンド送信部と
を有し、
前記第2の情報処理装置は、
前記再利用コマンド送信部により送信された再利用コマンドするコマンドの情報を受信する受信部を有することを特徴とする情報処理システム。
【請求項8】
情報処理装置が実行する情報処理方法であって、
フィールド機器と前記フィールド機器を制御する装置との間で行われた通信ログを取得する取得工程と、
前記取得工程により取得された前記通信ログを所定の条件で検索してコマンドを特定する特定工程と、
前記特定工程により特定された前記コマンドを変更する変更工程と、
前記変更工程により編集された前記コマンドを前記フィールド機器に送信する送信工程と
を含むことを特徴とする情報処理方法。
【請求項9】
フィールド機器と前記フィールド機器を制御する装置との間で行われた通信ログを取得する取得ステップと、
前記取得ステップにより取得された前記通信ログを所定の条件で検索してコマンドを特定する特定ステップと、
前記特定ステップにより特定された前記コマンドを変更する変更ステップと、
前記変更ステップにより編集された前記コマンドを前記フィールド機器に送信する送信ステップと
をコンピュータに実行させることを特徴とする情報処理プログラム。
発明の詳細な説明
【技術分野】
【0001】
本発明は、情報処理装置、情報処理システム、情報処理方法および情報処理プログラムに関する。
続きを表示(約 2,000 文字)
【背景技術】
【0002】
従来、通信の内容を記録したログ情報の内容を容易に把握できるよう表示する技術(例えば、特許文献1)が知られている。
【先行技術文献】
【特許文献】
【0003】
特開2022-039329号公報
【発明の概要】
【発明が解決しようとする課題】
【0004】
従来技術では、効率的な点検を行うことができない場合があるという課題が存在する。例えば、プロセスオートメーションの現場で発生した不具合の原因の特定には、不具合が発生した環境と同じ環境を用意して同じ操作を行う必要があるところ、フィールド機器を制御する装置の用意・設定・操作が難しく、不具合の原因の調査を行うことができない場合があった。また、例えば、特有の機能を有するフィールド機器の点検には、専用のハンドヘルドやアプリケーションが必要となるため、フィールド機器の点検作業を効率的に行うことが困難である場合があった。
【0005】
本発明は、上記に鑑みてなされたものであって、効率的な点検を可能とする情報処理装置、情報処理システム、情報処理方法および情報処理プログラムを提供することを目的とする。
【課題を解決するための手段】
【0006】
上述した課題を解決し、目的を達成するために、本発明の情報処理装置は、フィールド機器と前記フィールド機器を制御する装置との間で行われた通信ログを取得する取得部と、前記取得部により取得された前記通信ログを所定の条件で検索してコマンドを特定する特定部と、前記特定部により特定された前記コマンドを所定の内容に編集する変更部と、前記変更部により編集された前記コマンドを前記フィールド機器に送信する送信部とを有することを特徴とする。
【発明の効果】
【0007】
本発明によれば、効率的な点検を行うことができる。
【図面の簡単な説明】
【0008】
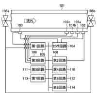
図1は、実施形態に係る情報処理システムの構成の一例を示す図である。
図2は、フィールド機器に送信されるコマンドの一例を示す図である。
図3は、実施形態に係る情報処理装置の構成の一例を示す図である。
図4は、実施形態に係る記憶部が記憶する通信ログの一例を示す図である。
図5は、通信ログの保存形式の一例を示す図である。
図6は、通信ログの保存形式の一例を示す図である。
図7は、通信ログの保存形式の一例を示す図である。
図8は、通信ログの抽出ルールの一例を示す図である。
図9は、通信ログの表示の一例を示す図である。
図10は、コマンドの検索の一例を示す図である。
図11は、コマンドの変更の一例を示す図である。
図12は、不具合が発生した状況における情報処理装置の処理を示す図である。
図13は、実行される頻度の少ないコマンドを実行させる例を示す図である。
図14は、連続して実行される複数コマンドのうち一部のコマンドを実行させる例を示す図である。
図15は、実施形態に係る情報処理装置による処理の流れの一例を示すフローチャートである。
図16は、実施形態に係る情報処理システムの構成の一例を示す図である。
図17は、実施形態に係る情報処理装置の構成の一例を示す図である。
図18は、各現場の通信ログから再利用コマンドの情報を作成して他の現場に配布する例を示す図である。
図19は、クラウド技術を活用した通信ログの集約と再利用コマンドの配布の例を示す図である。
図20は、実施形態に係る情報処理システムによる処理の流れの一例を示すフローチャートである。
図21は、ハードウェア構成の一例を示す図である。
【発明を実施するための形態】
【0009】
以下、図面を参照して、本願に係る情報処理装置、情報処理システム、情報処理方法および情報処理プログラムの実施形態を第1の実施形態および第2の実施形態に分けて説明する。なお、この実施の形態により本発明が限定されるものではない。また、図面の記載において、同一部分には同一の符号を付して示しており、重複する説明は省略する。
【0010】
(第1の実施形態)
〔1.情報処理システムの構成〕
まず、本実施形態に係る情報処理装置100を含む情報処理システム1について説明する。図1は、実施形態に係る情報処理システム1の構成の一例を示す図である。図1の例では、フィールド機器10と、フィールド機器10を制御する装置である制御装置20と、情報処理装置100とが有線または無線で接続され、情報処理システム1が構成されている。
(【0011】以降は省略されています)
この特許をJ-PlatPat(特許庁公式サイト)で参照する
関連特許
アズビル株式会社
回転弁
7日前
アズビル株式会社
圧力センサ
今日
アズビル株式会社
無線式開度計
7日前
アズビル株式会社
動粘度測定システム
1日前
アズビル株式会社
熱式流量計および補正方法
今日
アズビル株式会社
処理装置及び物理量検出装置
7日前
アズビル株式会社
情報処理システムおよび方法
1日前
アズビル株式会社
情報処理方法及び情報処理装置
1か月前
アズビル株式会社
流量演算装置及び超音波流量計
21日前
アズビル株式会社
パイロットリレー及びポジショナ
1か月前
アズビル株式会社
推定方法、装置およびプログラム
1か月前
アズビル株式会社
データダイオードおよび送信制御方法
1か月前
アズビル株式会社
データダイオードおよびパルス制御方法
1か月前
アズビル株式会社
処理装置、処理方法、及び、プログラム
今日
アズビル株式会社
管理装置、管理方法、および管理プログラム
14日前
アズビル株式会社
管理装置、管理方法、および管理プログラム
1か月前
アズビル株式会社
情報処理装置、情報処理方法及び情報処理プログラム
1か月前
アズビル株式会社
情報処理装置、情報処理方法および情報処理プログラム
今日
アズビル株式会社
通信システム、受信装置、送信装置及び電波環境改善方法
3日前
アズビル株式会社
無線式開度計、バルブメンテナンス支援システムおよび支援方法
1か月前
アズビル株式会社
情報処理装置、情報処理システム、情報処理方法および情報処理プログラム
3日前
個人
地球保全システム
1日前
個人
工程設計支援装置
1か月前
個人
フラワーコートA
1か月前
個人
為替ポイント伊達夢貯
28日前
個人
介護情報提供システム
2か月前
個人
冷凍食品輸出支援構造
28日前
個人
携帯情報端末装置
1か月前
個人
表変換編集支援システム
21日前
個人
結婚相手紹介支援システム
1か月前
個人
知財出願支援AIシステム
28日前
個人
行動時間管理システム
23日前
個人
パスワード管理支援システム
21日前
個人
AIによる情報の売買の仲介
1か月前
個人
システム及びプログラム
14日前
株式会社キーエンス
受発注システム
今日
続きを見る
他の特許を見る