TOP
|
特許
|
意匠
|
商標
特許ウォッチ
Twitter
他の特許を見る
公開番号
2025161273
公報種別
公開特許公報(A)
公開日
2025-10-24
出願番号
2024064322
出願日
2024-04-12
発明の名称
超音波流量計及び超音波流量計の取り付け方法
出願人
アズビル株式会社
代理人
弁理士法人山王内外特許事務所
主分類
G01F
1/66 20220101AFI20251017BHJP(測定;試験)
要約
【課題】配管径が異なっても、一対以上の超音波送受信器間における配管軸方向距離の調整を不要とすることができる超音波流量計を提供する。
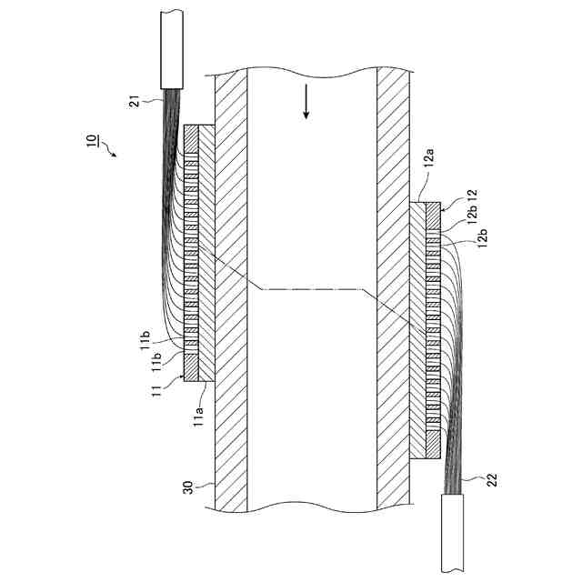
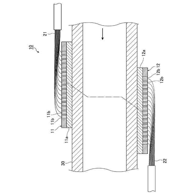
【解決手段】超音波流量計10は、配管30の外周面に取り付けられた一対の超音波送受信器11,12間において、配管30の内部を流れる流体を介して、互いに超音波の送受信を行う。一対の超音波送受信器11,12は、超音波の受信強度が最大となる、超音波の配管30の軸心に対する出射角度に調整された複数の超音波素子11b,12bがアレイ状に配置される、フェーズドアレイ超音波送受信器11,12であって、一対の超音波送受信器11,12間における配管軸方向距離を固定したものである。
【選択図】図1
特許請求の範囲
【請求項1】
配管の外周面に取り付けられた一対以上の超音波送受信器間において、前記配管の内部を流れる流体を介して、互いに超音波の送受信を行う超音波流量計において、
前記一対以上の超音波送受信器は、
超音波の受信強度が最大となる、超音波の前記配管の軸心に対する出射角度に調整された複数の超音波素子がアレイ状に配置される、フェーズドアレイ超音波送受信器であって、
前記一対以上の超音波送受信器間における配管軸方向距離を固定した
ことを特徴とする超音波流量計。
続きを表示(約 280 文字)
【請求項2】
配管の外周面に取り付けられた一対以上の超音波送受信器間において、前記配管の内部を流れる流体を介して、互いに超音波の送受信を行う超音波流量計の取り付け方法において、
前記一対以上の超音波送受信器を、複数の超音波素子がアレイ状に配置されるフェーズドアレイ超音波送受信器とし、
前記一対以上の超音波送受信器間における配管軸方向距離を固定し、
前記複数の超音波素子が出射する超音波の前記配管の軸心に対する出射角度を、超音波の受信強度が最大となるように調整する
ことを特徴とする超音波流量計の取り付け方法。
発明の詳細な説明
【技術分野】
【0001】
本開示は、超音波流量計及び超音波流量計の取り付け方法に関する。
続きを表示(約 1,400 文字)
【背景技術】
【0002】
従来、配管内を流れる流体の流量又は流速を計測(以下、流体計測と称す)する、クランプオン型の超音波流量計が提供されている。クランプオン型の超音波流量計は、配管の外周面にクランプするだけで、流体計測が行える。このため、流量計設置のための配管の切断が不要であり、既設の配管に対して後付けが容易であるという利点がある。また、超音波流量計が流体に触れることがないため、流体へのコンタミ、又は、流量計自体の腐食を防止することができる。このような、クランプオン型の超音波流量計は、例えば、特許文献1に開示されている。
【先行技術文献】
【特許文献】
【0003】
特開2019-158678号公報
【発明の概要】
【発明が解決しようとする課題】
【0004】
特許文献1に開示された超音波流量計は、第1超音波送受信器から第2超音送受信器に送信される超音波の伝播時間と、第2超音波送受信器から第1超音波送受信器に送信される超音波の伝播時間との差に基づいて、流体計測を行うものである。しかしながら、特許文献1に開示された超音波流量計は、配管径に応じて、超音波の送受信を適切に行うためには、第1超音波送受信器と第2超音波送受信器との間における配管軸方向距離を調整する必要がある。また、このような調整は、超音波送受信器の組数が多くなる程、煩雑になるおそれがある。
【0005】
本開示は、上記のような課題を解決するためになされたもので、配管径が異なっても、一対以上の超音波送受信器間における配管軸方向距離の調整を不要とすることができる超音波流量計を提供することを目的とする。
【課題を解決するための手段】
【0006】
本開示に係る超音波流量計は、配管の外周面に取り付けられた一対以上の超音波送受信器間において、配管の内部を流れる流体を介して、互いに超音波の送受信を行う超音波流量計において、一対以上の超音波送受信器は、超音波の受信強度が最大となる、超音波の配管の軸心に対する出射角度に調整された複数の超音波素子がアレイ状に配置される、フェーズドアレイ超音波送受信器であって、一対以上の超音波送受信器間における配管軸方向距離を固定したものである。
【発明の効果】
【0007】
本開示によれば、配管径が異なっても、一対以上の超音波送受信器間における配管軸方向距離の調整を不要とすることができる。
【図面の簡単な説明】
【0008】
実施の形態1に係る超音波流量計の概略構成を示す断面図である。
フェーズドアレイ超音波送受信器の超音波素子からの超音波の出射の様子を示す図である。
フェーズドアレイ超音波送受信器を固定した状態において、超音波の出射角度の変化の様子を示す図である。
バルク超音波送受信器からの超音波の出射の様子を示す図である。
バルク超音波送受信器における超音波の出射角度を、ウェッジ部材を用いて変化させたときの様子を示す図である。
【発明を実施するための形態】
【0009】
以下、本開示の実施の形態について図面を参照しながら詳細に説明する。
【0010】
実施の形態1.
実施の形態1に係る超音波流量計10について、図1から図5を用いて説明する。
(【0011】以降は省略されています)
この特許をJ-PlatPat(特許庁公式サイト)で参照する
関連特許
アズビル株式会社
電磁流量計
1か月前
アズビル株式会社
間欠動作制御回路
24日前
アズビル株式会社
位置計測装置および方法
1か月前
アズビル株式会社
制御装置および制御方法
1か月前
アズビル株式会社
空調制御装置及び空調制御方法
26日前
アズビル株式会社
ビル管理装置、及び、プログラム
25日前
アズビル株式会社
ディスパッチ計画作成装置および方法
1か月前
アズビル株式会社
検索装置、検索方法、および検索プログラム
1か月前
アズビル株式会社
分割装置、分割方法、および分割プログラム
1か月前
アズビル株式会社
超音波流量計及び超音波流量計の取り付け方法
1か月前
アズビル株式会社
情報処理装置、情報処理方法及び情報処理プログラム
17日前
アズビル株式会社
生産スケジューリング装置、生産スケジューリング方法および生産スケジューリングプログラム
16日前
日本精機株式会社
検出装置
18日前
個人
採尿及び採便具
24日前
個人
アクセサリー型テスター
1か月前
個人
高精度同時多点測定装置
1か月前
個人
計量機能付き容器
13日前
甲神電機株式会社
電流検出装置
18日前
株式会社カクマル
境界杭
3日前
株式会社ミツトヨ
測定器
1か月前
アズビル株式会社
電磁流量計
1か月前
大成建設株式会社
風洞実験装置
13日前
トヨタ自動車株式会社
監視装置
1か月前
ダイキン工業株式会社
監視装置
1か月前
個人
非接触による電磁パルスの測定方法
16日前
愛知時計電機株式会社
ガスメータ
1か月前
個人
システム、装置及び実験方法
1か月前
愛知電機株式会社
軸部材の外観検査装置
27日前
TDK株式会社
磁気センサ
1か月前
大和製衡株式会社
組合せ計量装置
27日前
日本特殊陶業株式会社
ガスセンサ
11日前
大和製衡株式会社
組合せ計量装置
27日前
双庸電子株式会社
誤配線検査装置
19日前
個人
計量具及び計量機能付き容器
13日前
長崎県
形状計測方法
1か月前
ローム株式会社
半導体装置
1か月前
続きを見る
他の特許を見る