TOP
|
特許
|
意匠
|
商標
特許ウォッチ
Twitter
他の特許を見る
公開番号
2025179497
公報種別
公開特許公報(A)
公開日
2025-12-10
出願番号
2024086282
出願日
2024-05-28
発明の名称
タービン式流量制御装置
出願人
アズビル株式会社
代理人
個人
主分類
H02P
9/04 20060101AFI20251203BHJP(電力の発電,変換,配電)
要約
【課題】流体の流量が少ない状態が発生した場合でも、タービン式流量制御装置を早期に安定稼働させる。
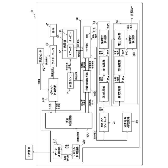
【解決手段】タービン式流量制御装置10の主回路91は、発電機30のタービン31の回転により発電された回生電力を回収し、かつ、発電機30に電力を入力してタービン31の回転を制御する。主回路91は、DCリンクコンデンサ91Aを含み、DCリンク電圧Vmに応じた回生電力を出力する。回路92A~92Eは、主回路91の動作を制御する、かつ、主回路91が出力した回生電力により動作する。第1電力供給部95Cは、DCリンク電圧VmがVm2よりも低いときに、第1蓄電部95Bに蓄電された電力を主回路91に供給することでDCリンクコンデンサ91Aを充電する。第2電力供給部96Dは、DCリンク電圧VmがVm2よりも低いときに、第2蓄電部96Bに蓄電された電力を回路92A~92Eに供給することで回路92A~92Eを動作させる。
【選択図】図2
特許請求の範囲
【請求項1】
流路を流れる流体により回転するタービンを含む発電機と、
前記タービンの回転により発電された回生電力を回収し、かつ、前記発電機に電力を入力して前記タービンの回転を制御する第1回路であり、蓄電素子を含み、前記蓄電素子の充電度合いに応じた回生電力を出力する第1回路と、
前記第1回路の動作を制御する、前記回生電力により動作する第2回路と、
前記充電度合いが第1閾値よりも低いときに、前記第1回路用の第1蓄電部に蓄電された電力を前記第1回路に供給することで前記蓄電素子を充電する第1電力供給回路と、
前記充電度合いが第2閾値よりも低いときに、前記第1蓄電部とは異なる前記第2回路用の第2蓄電部に蓄電された電力を前記第2回路に供給することで前記第2回路を動作させる第2電力供給回路と、
を備えるタービン式流量制御装置。
続きを表示(約 990 文字)
【請求項2】
前記第1回路は、インバータ回路を含み、
前記蓄電素子は、DCリンクコンデンサであり、
前記充電度合いは、前記DCリンクコンデンサの両端の電圧であるDCリンク電圧である、
請求項1に記載のタービン式流量制御装置。
【請求項3】
前記第1電力供給回路は、前記充電度合いが前記第1閾値以上のときに前記蓄電素子の充電を終了する、
請求項1に記載のタービン式流量制御装置。
【請求項4】
前記回生電力により前記第1蓄電部を充電する第1充電回路をさらに備える、
請求項1に記載のタービン式流量制御装置。
【請求項5】
前記第2電力供給回路に供給する電力を、前記第1回路からの回生電力と、前記第2蓄電部が蓄電する電力と、のいずれかにする切り替えを行う電力切替回路をさらに備える、
請求項1に記載のタービン式流量制御装置。
【請求項6】
前記電力切替回路は、前記充電度合いが前記第2閾値以上のときに、前記第2電力供給回路に供給する電力を、前記第1回路からの回生電力とする、
請求項5に記載のタービン式流量制御装置。
【請求項7】
前記第1回路が出力する直流の前記回生電力を変圧するDC-DCコンバータをさらに備え、
前記第1回路からの前記回生電力は、前記DC-DCコンバータにより変圧された回生電力であり、
前記電力切替回路は、前記充電度合いが前記第2閾値よりも低いが前記DC-DCコンバータが動作可能なとき、かつ、前記第2蓄電部の蓄電電力が所定の閾値以上のときは、前記第2電力供給回路に供給する電力を前記第2蓄電部が蓄電する電力とし、前記DC-DCコンバータを動作させない、
請求項6に記載のタービン式流量制御装置。
【請求項8】
前記回生電力により前記第2蓄電部を充電する第2充電回路をさらに備える、
請求項1に記載のタービン式流量制御装置。
【請求項9】
前記流路の開度を制御する弁体をさらに備え、
前記第2回路は、前記充電度合いが前記第2閾値よりも低いときに前記弁体を動作させて前記流路を全開とする、
請求項1に記載のタービン式流量制御装置。
発明の詳細な説明
【技術分野】
【0001】
本発明は、流体の流量をタービンにより制御するタービン式流量制御装置に関する。
続きを表示(約 1,400 文字)
【背景技術】
【0002】
特許文献1には、タービン式流量制御装置が開示されている。このタービン式流量制御装置は、流路を流れる流体により回転するタービンを含む発電機と、タービンの回転により発電された回生電力を回収し、かつ、発電機に電力を入力してタービンの回転を制御する第1回路(インバータ回路など)と、第1回路の動作を制御する、回生電力により動作する第2回路(発電機制御部など)と、を備える。
【先行技術文献】
【特許文献】
【0003】
特許第6114680号公報
【発明の概要】
【発明が解決しようとする課題】
【0004】
上記の第1回路は、蓄電素子を含み、蓄電素子の充電度合いに応じた回生電力を出力するように構成されることがある。このような場合、流体が流れ始めたとき又は流体の流量が一時的に低下したときといった流体の流量が少ない状態のときに蓄電素子の充電が不十分の状態が生じる。蓄電素子の充電が不十分であると、回生電力が不足し、タービン式流量制御装置が安定稼働できない。
【0005】
本発明は、流体の流量が少ない状態が発生した場合でも、タービン式流量制御装置を早期に安定稼働させることを課題とする。
【課題を解決するための手段】
【0006】
本発明に係るタービン式流量制御装置は、流路を流れる流体により回転するタービンを含む発電機と、前記タービンの回転により発電された回生電力を回収し、かつ、前記発電機に電力を入力して前記タービンの回転を制御する第1回路であり、蓄電素子を含み、前記蓄電素子の充電度合いに応じた回生電力を出力する第1回路と、前記第1回路の動作を制御する、前記回生電力により動作する第2回路と、前記充電度合いが第1閾値よりも低いときに、前記第1回路用の第1蓄電部に蓄電された電力を前記第1回路に供給することで前記蓄電素子を充電する第1電力供給回路と、前記充電度合いが第2閾値よりも低いときに、前記第1蓄電部とは異なる前記第2回路用の第2蓄電部に蓄電された電力を前記第2回路に供給することで前記第2回路を動作させる第2電力供給回路と、を備える。
【発明の効果】
【0007】
本発明によれば、流体の流量が少ない状態が発生した場合でも、タービン式流量制御装置を早期に安定稼働させることができる。
【図面の簡単な説明】
【0008】
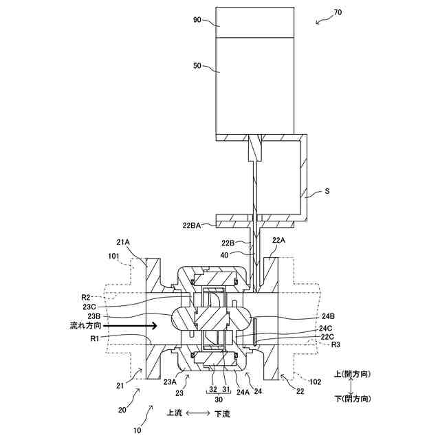
図1は、本発明の実施形態に係るタービン式流量制御装置の要部断面図である。
図2は、本発明の実施形態に係るタービン式流量制御装置の構成図である。
【発明を実施するための形態】
【0009】
図1に示すように、本発明の一実施形態に係るタービン式流量制御装置10は、流路管20と、発電機30と、弁体40と、アクチュエータ50と、制御ユニット90を備える。
【0010】
流路管20は、その両端が上流側の配管101及び下流側の配管102にそれぞれ接続されることで、流体(例えば、空調システムの冷水)を流す、複数の配管からなる流体回路の途中に配置される。流路管20は、流体(例えば、空調システムの冷水)が流れる流路R1を形成している。この流体は、配管101の流路R2から流路R1を流れ、配管102の流路R3に流入する。
(【0011】以降は省略されています)
この特許をJ-PlatPat(特許庁公式サイト)で参照する
関連特許
アズビル株式会社
回転弁
2か月前
アズビル株式会社
連結装置
1日前
アズビル株式会社
連結装置
1日前
アズビル株式会社
電磁流量計
1か月前
アズビル株式会社
圧力センサ
2か月前
アズビル株式会社
無線式開度計
2か月前
アズビル株式会社
ケージ調整弁
1日前
アズビル株式会社
間欠動作制御回路
1か月前
アズビル株式会社
動粘度測定システム
2か月前
アズビル株式会社
電磁流量計の励磁回路
今日
アズビル株式会社
位置計測装置および方法
1か月前
アズビル株式会社
制御装置および制御方法
1か月前
アズビル株式会社
タービン式流量制御装置
今日
アズビル株式会社
熱式流量計および補正方法
2か月前
アズビル株式会社
制御装置、および、制御方法
5日前
アズビル株式会社
処理装置及び物理量検出装置
2か月前
アズビル株式会社
情報処理システムおよび方法
2か月前
アズビル株式会社
換気制御装置及び換気制御方法
2か月前
アズビル株式会社
空調制御装置及び空調制御方法
1か月前
アズビル株式会社
情報処理装置及び情報処理方法
今日
アズビル株式会社
情報処理装置及び情報処理方法
1日前
アズビル株式会社
ビル管理装置、及び、プログラム
1か月前
アズビル株式会社
情報処理装置および情報処理方法
12日前
アズビル株式会社
移動体制御装置及び移動体制御方法
1日前
アズビル株式会社
連結装置、及び、連結装置の製造方法
1日前
アズビル株式会社
ディスパッチ計画作成装置および方法
1か月前
アズビル株式会社
制御装置、制御方法及び制御システム
12日前
アズビル株式会社
処理装置、処理方法、及び、プログラム
2か月前
アズビル株式会社
移動速度演算装置及び移動速度演算方法
1日前
アズビル株式会社
超音波トランスデューサ及び超音波流量計
1日前
アズビル株式会社
管理装置、管理方法、および管理プログラム
2か月前
アズビル株式会社
分割装置、分割方法、および分割プログラム
2か月前
アズビル株式会社
検索装置、検索方法、および検索プログラム
2か月前
アズビル株式会社
モータ駆動制御装置及びモータの駆動制御方法
5日前
アズビル株式会社
超音波流量計及び超音波流量計の取り付け方法
1か月前
アズビル株式会社
情報処理装置、情報処理方法及び情報処理プログラム
1か月前
続きを見る
他の特許を見る