TOP
|
特許
|
意匠
|
商標
特許ウォッチ
Twitter
他の特許を見る
公開番号
2025138284
公報種別
公開特許公報(A)
公開日
2025-09-25
出願番号
2024037289
出願日
2024-03-11
発明の名称
処理装置及び物理量検出装置
出願人
アズビル株式会社
代理人
個人
主分類
F16K
37/00 20060101AFI20250917BHJP(機械要素または単位;機械または装置の効果的機能を生じ維持するための一般的手段)
要約
【課題】物理量の検出機能の後付け、物理量の検出機能の交換、又は、物理量の検出機能に使用される電池の交換を容易にする。
【解決手段】
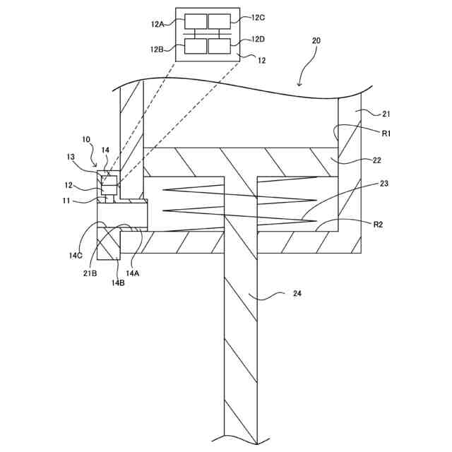
処理装置10は、バルブVを空気式で操作する操作器に設けられバルブVの操作時に空気が通過する大気開放口(第2ポート21B)に配置されたセンサ11により検出された空気の物理量を取得する取得回路と、取得回路により取得された物理量に基づいて処理を実行する処理実行回路と、を備える。処理装置10は、前記の処理としてバルブの診断を行う。処理装置10は、センサ11と、センサ11を大気開放口に固定する固定構造14をさらに備えてもよい。
【選択図】図3
特許請求の範囲
【請求項1】
フィールド機器を空気式で操作する操作装置に設けられ前記フィールド機器の操作時に空気が通過する大気開放口に配置されたセンサにより検出された前記空気の物理量を取得する取得回路と、
前記取得回路により取得された前記物理量に基づいて処理を実行する処理実行回路と、
を備える処理装置。
続きを表示(約 650 文字)
【請求項2】
前記処理は、前記フィールド機器の状態を診断する診断処理を含む、
請求項1に記載の処理装置。
【請求項3】
前記処理は、前記物理量を前記処理装置の外部の装置に出力する処理を含む、
請求項1に記載の処理装置。
【請求項4】
前記センサをさらに備える、
請求項1に記載の処理装置。
【請求項5】
前記センサを前記大気開放口に固定する固定構造をさらに備える、
請求項1に記載の処理装置。
【請求項6】
前記固定構造は、前記処理装置を動作させる電力を供給する電池を支持する、
請求項5に記載の処理装置。
【請求項7】
前記固定構造は、前記フィールド機器の非操作時において空気が前記大気開放口を通過することを抑制する通過抑制部を備える、
請求項5に記載の処理装置。
【請求項8】
前記処理実行回路は、前記物理量の変化が前記フィールド機器の操作に起因するものかを判定し、前記変化が前記操作に起因しない場合に前記処理を実行しない、
請求項1に記載の処理装置。
【請求項9】
フィールド機器を空気式で操作する操作装置に設けられ前記フィールド機器の操作時に空気が通過する大気開放口に配置され、前記空気の物理量を検出するセンサと、
前記センサを前記大気開放口に固定する固定構造と、
を備える物理量検出装置。
発明の詳細な説明
【技術分野】
【0001】
本発明は、処理装置及び物理量検出装置に関する。
続きを表示(約 1,200 文字)
【背景技術】
【0002】
石油化学プラントなどで使用されるバルブなどのフィールド機器の診断、制御などを行うときに、このフィールド機器等で発生する何等かの物理量が検出及び処理される。特許文献1には、このような物理量である弁軸の角度変化を検出し、検出した角度変化に基づく遷移ベクトルを比較して、フィールド機器の不調の有無を監視するシステムが開示されている。
【先行技術文献】
【特許文献】
【0003】
特表2015-528085号公報
【発明の概要】
【発明が解決しようとする課題】
【0004】
ところで、フィールド機器は、一般に使用期間が長い。このため、古いフィールド機器には、物理量の検出機能が設けられていない場合がある。このような場合、検出機能を既設のフィールド機器に後付けしたい要請がある。また、使用期間の長いフィールド機器において、物理量の検出機能を実現する装置全体又はその装置の電池を交換する必要性も生じる。
【0005】
物理量の検出機能の後付け、物理量の検出機能の交換、又は、物理量の検出機能に使用される電池の交換を容易にすることを課題とする。
【課題を解決するための手段】
【0006】
上記課題を解決するため、本発明に係る処理装置は、フィールド機器を空気式で操作する操作装置に設けられ前記フィールド機器の操作時に空気が通過する大気開放口に配置されたセンサにより検出された前記空気の物理量を取得する取得回路と、前記取得回路により取得された前記物理量に基づいて処理を実行する処理実行回路と、を備える。
【0007】
本発明に係る物理量検出装置は、フィールド機器を空気式で操作する操作装置に設けられ前記フィールド機器の操作時に空気が通過する大気開放口に配置され、前記空気の物理量を検出するセンサと、前記センサを前記大気開放口に固定する固定構造と、を備える。
【発明の効果】
【0008】
本発明によれば、物理量の検出機能の後付け、物理量の検出機能の交換、又は、物理量の検出機能に使用される電池の交換が容易となる。
【図面の簡単な説明】
【0009】
図1は、本発明の実施形態に係る処理装置及び処理装置が使用される空圧回路の構成図である。
図2は、本発明の実施形態に係る処理装置及び処理装置が使用される空圧回路の構成図である。
図3は、処理装置の構成図である。
図4は、処理装置が備える演算装置の構成図である。
図5は、診断処理のフローチャートである。
図6は、変形例に係る処理装置の構成図である。
【発明を実施するための形態】
【0010】
以下、本実施形態を、図面を参照して説明する。
(【0011】以降は省略されています)
この特許をJ-PlatPat(特許庁公式サイト)で参照する
関連特許
アズビル株式会社
連結装置
1日前
アズビル株式会社
連結装置
1日前
アズビル株式会社
電磁流量計
1か月前
アズビル株式会社
ケージ調整弁
1日前
アズビル株式会社
間欠動作制御回路
1か月前
アズビル株式会社
電磁流量計の励磁回路
今日
アズビル株式会社
位置計測装置および方法
1か月前
アズビル株式会社
制御装置および制御方法
1か月前
アズビル株式会社
タービン式流量制御装置
今日
アズビル株式会社
制御装置、および、制御方法
5日前
アズビル株式会社
情報処理装置及び情報処理方法
1日前
アズビル株式会社
空調制御装置及び空調制御方法
1か月前
アズビル株式会社
情報処理装置及び情報処理方法
今日
アズビル株式会社
ビル管理装置、及び、プログラム
1か月前
アズビル株式会社
情報処理装置および情報処理方法
12日前
アズビル株式会社
移動体制御装置及び移動体制御方法
1日前
アズビル株式会社
制御装置、制御方法及び制御システム
12日前
アズビル株式会社
連結装置、及び、連結装置の製造方法
1日前
アズビル株式会社
ディスパッチ計画作成装置および方法
1か月前
アズビル株式会社
移動速度演算装置及び移動速度演算方法
1日前
アズビル株式会社
超音波トランスデューサ及び超音波流量計
1日前
アズビル株式会社
超音波流量計及び超音波流量計の取り付け方法
1か月前
アズビル株式会社
モータ駆動制御装置及びモータの駆動制御方法
5日前
アズビル株式会社
情報処理装置、情報処理方法及び情報処理プログラム
1か月前
アズビル株式会社
直線変位検知システム、バルブポジショナ、バルブ開度計
1日前
アズビル株式会社
直線変位検知システム、バルブポジショナ、バルブ開度計
14日前
アズビル株式会社
生産スケジューリング装置、生産スケジューリング方法および生産スケジューリングプログラム
1か月前
個人
留め具
1か月前
個人
鍋虫ねじ
3か月前
個人
回転伝達機構
4か月前
個人
紛体用仕切弁
3か月前
個人
差動歯車用歯形
5か月前
個人
ジョイント
2か月前
個人
給排気装置
2か月前
株式会社不二工機
電磁弁
5か月前
個人
地震の揺れ回避装置
4か月前
続きを見る
他の特許を見る