TOP
|
特許
|
意匠
|
商標
特許ウォッチ
Twitter
他の特許を見る
公開番号
2025123788
公報種別
公開特許公報(A)
公開日
2025-08-25
出願番号
2024019465
出願日
2024-02-13
発明の名称
パイロットリレー及びポジショナ
出願人
アズビル株式会社
代理人
個人
主分類
F15B
9/07 20060101AFI20250818BHJP(流体圧アクチュエータ;水力学または空気力学一般)
要約
【課題】パイロットリレーの弁体を、出力気圧室と供給気圧室とを連通する連通路を閉じた第1位置から、当該連通路を開いた第2位置に速やかに移動させることを可能としつつ、急激な排気動作があっても、前記の弁体が第2位置の側に移動し難くする。
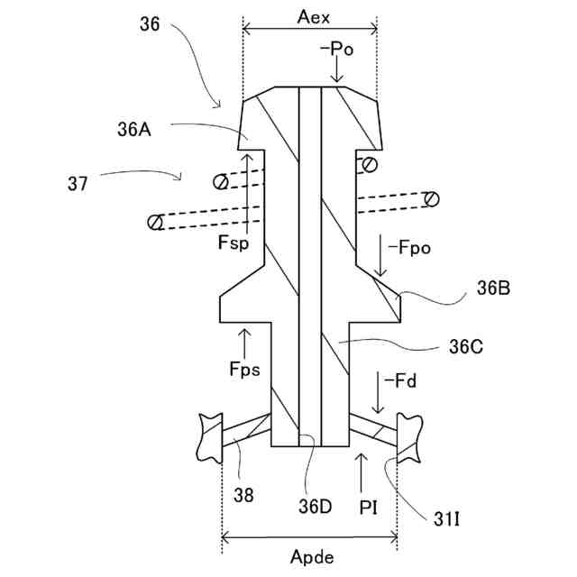
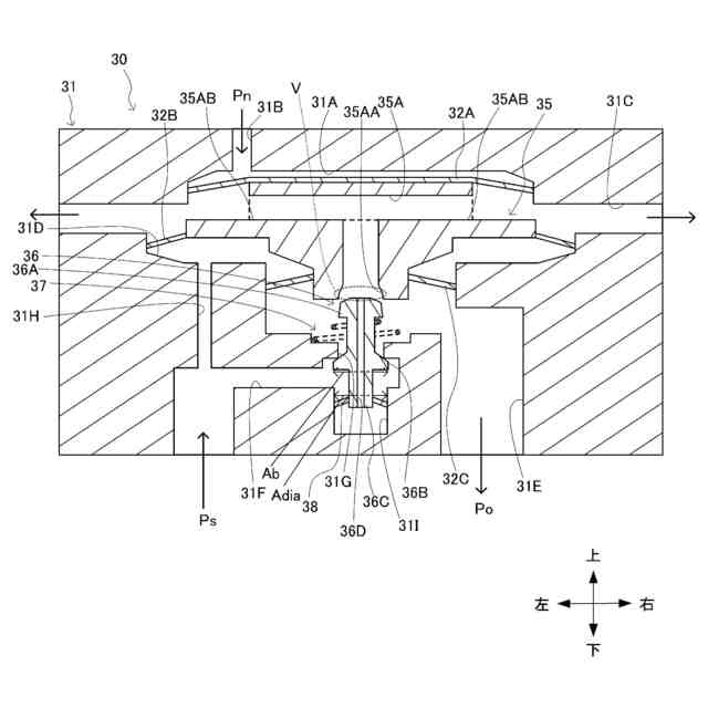
【解決手段】パイロットリレー30は、出力気圧室31Eと供給気圧室31Fとを連通する連通路31Gを通り、移動体35側に付勢され、連通路31Gと移動体35の空気流路35Aとを下方側から閉じる弁体36を備える。弁体36は、下方に移動する移動体35により押されることで空気流路35Aを閉じた状態で連通路31Gの開度を増加させ、上方に移動する移動体35から離れることで連通路31Gを閉じた状態で空気流路35Aの開度を増加させる。受圧部材38は、弁体36及びハウジング31と接続され、供給気圧室31Fの圧縮空気圧Psを受圧することで弁体36に下方への力を作用させる。
【選択図】図2
特許請求の範囲
【請求項1】
空気圧信号を増幅するパイロットリレーであって、
前記空気圧信号が入力される入力気圧室と、前記入力気圧室よりも第1方向側に配置され、増幅後の前記空気圧信号を出力する出力気圧室と、前記入力気圧室よりも前記第1方向側に配置され、前記パイロットリレーの外部から供給される圧縮空気圧が入力される供給気圧室と、前記出力気圧室から前記第1方向に延びて前記供給気圧室に至り、前記出力気圧室と前記供給気圧室とを連通する連通路と、前記出力気圧室の空気を排気する排気室と、が形成されたハウジングと、
前記入力気圧室に面し、前記空気圧信号の空気圧が増加したときに前記第1方向に変形し、前記空気圧が減少したときに前記第1方向と反対の第2方向に変形する入力ダイアフラムと、
前記入力ダイアフラムに接続され、前記排気室を貫通して前記出力気圧室に至り、前記入力ダイアフラムの変形に連動して前記第1方向又は前記第2方向に移動する移動体であって、前記出力気圧室に繋がる第1端と前記排気室に繋がる第2端を有する空気流路が通る移動体と、
前記出力気圧室に面し、前記移動体に接続され、前記移動体の移動に連動して前記第1方向又は前記第2方向に変形し、前記入力ダイアフラムとの面積の違いが前記空気圧信号の増幅率に寄与する出力ダイアフラムと、
前記連通路を通り、前記第2方向に付勢され、前記連通路と前記第1端とを前記第1方向側から閉じる弁体であって、前記第1方向に移動する前記移動体により押されることで前記第1端を閉じた状態で前記連通路の開度を増加させ、前記第2方向に移動する前記移動体から離れることで前記連通路を閉じた状態で前記第1端の開度を増加させる弁体と、
前記弁体及び前記ハウジングと接続され、前記供給気圧室の前記圧縮空気圧を受圧することで前記弁体に前記第1方向への力を作用させる受圧部材と、を備え、
前記ハウジングには、前記供給気圧室を介して前記連通路と対向する対向室が設けられ、
前記弁体には、前記弁体が前記第1端を閉じた状態のときに前記空気流路と前記対向室とを連通し、前記弁体が前記移動体から離れて前記第1端が開いた状態のときに前記出力気圧室と前記対向室を連通させる貫通孔が設けられている、
パイロットリレー。
続きを表示(約 300 文字)
【請求項2】
前記弁体は、増幅後の前記空気圧信号の空気圧が、増幅前の前記空気圧信号の空気圧を所望の増幅率で増幅させた目標空気圧に達したときに、前記連通路の開度をブリード分の開度とするブリード型である、
請求項1に記載のパイロットリレー。
【請求項3】
前記受圧部材は、前記供給気圧室と前記対向室とを隔てるダイアフラムである、
請求項1又は2に記載のパイロットリレー。
【請求項4】
請求項1又は2に記載のパイロットリレーと、
増幅前の前記空気圧信号を前記パイロットリレーに出力する電空変換機構と、
を備えるポジショナ。
発明の詳細な説明
【技術分野】
【0001】
本発明は、パイロットリレー及びポジショナに関する。
続きを表示(約 2,100 文字)
【背景技術】
【0002】
ポジショナ等に使用されるパイロットリレーは、入力される空気圧信号を増幅して出力するように構成されている(特許文献1)。パイロットリレーは、入力ダイアフラム及び出力ダイアフラムに接続され、ハウジング内に形成された出力気圧室と排気室とを連通する空気流路が内部を通る移動体と、ハウジング内に形成された出力気圧室及び供給気圧室を連通する連通路を通り、連通路と空気流路との少なくとも一方を閉じる弁体と、を備える。
【先行技術文献】
【特許文献】
【0003】
実開昭63-56301号公報
【発明の概要】
【発明が解決しようとする課題】
【0004】
上記パイロットリレーでは、弁体が、連通路を閉じた第1位置から開いた第2位置に移動するときに、供給気圧室内の圧縮空気圧が邪魔をして、速やかに移動しない場合がある。このような不都合を解消するための発明として、本願発明者は、供給気圧室の圧縮空気圧を受圧することで弁体に第1位置から第2位置に向かう方向への力を作用させる受圧部材を設けたパイロットリレー(下記の比較例1参照)を発明した。このパイロットリレーでは、連通路と供給気圧室を介して対向しかつ大気が導入される対向室が設けられている。このような構造の場合、出力気圧室と供給気圧室とを連通する連通路を閉じた第1位置から、当該連通路を開いた第2位置に速やかに移動させることができる。
【0005】
しかし、この構成では、増幅信号の空気圧が高圧となっているときから急激な排気動作により移動体と弁体とが離れたときに、弁体の上方空間に増幅信号の空気圧(高圧)の空気が流入し、この空気圧により弁体が第2位置の側に押され連通路が意図せずに開いてしまうことがある。
【0006】
本発明は、パイロットリレーの弁体を、出力気圧室と供給気圧室とを連通する連通路を閉じた第1位置から、当該連通路を開いた第2位置に速やかに移動させることを可能としつつ、急激な排気動作があっても、前記の弁体が第2位置の側に移動し難くすることを課題とする。
【課題を解決するための手段】
【0007】
上記課題を解決するため、本発明に係るパイロットリレーは、空気圧信号を増幅するパイロットリレーであって、前記空気圧信号が入力される入力気圧室と、前記入力気圧室よりも第1方向側に配置され、増幅後の前記空気圧信号を出力する出力気圧室と、前記入力気圧室よりも前記第1方向側に配置され、前記パイロットリレーの外部から供給される圧縮空気圧が入力される供給気圧室と、前記出力気圧室から前記第1方向に延びて前記供給気圧室に至り、前記出力気圧室と前記供給気圧室とを連通する連通路と、前記出力気圧室の空気を排気する排気室と、が形成されたハウジングと、前記入力気圧室に面し、前記空気圧信号の空気圧が増加したときに前記第1方向に変形し、前記空気圧が減少したときに前記第1方向と反対の第2方向に変形する入力ダイアフラムと、前記入力ダイアフラムに接続され、前記排気室を貫通して前記出力気圧室に至り、前記入力ダイアフラムの変形に連動して前記第1方向又は前記第2方向に移動する移動体であって、前記出力気圧室に繋がる第1端と前記排気室に繋がる第2端を有する空気流路が通る移動体と、前記出力気圧室に面し、前記移動体に接続され、前記移動体の移動に連動して前記第1方向又は前記第2方向に変形し、前記入力ダイアフラムとの面積の違いが前記空気圧信号の増幅率に寄与する出力ダイアフラムと、前記連通路を通り、前記第2方向に付勢され、前記連通路と前記第1端とを前記第1方向側から閉じる弁体であって、前記第1方向に移動する前記移動体により押されることで前記第1端を閉じた状態で前記連通路の開度を増加させ、前記第2方向に移動する前記移動体から離れることで前記連通路を閉じた状態で前記第1端の開度を増加させる弁体と、前記弁体及び前記ハウジングと接続され、前記供給気圧室の前記圧縮空気圧を受圧することで前記弁体に前記第1方向への力を作用させる受圧部材と、を備え、前記ハウジングには、前記供給気圧室を介して前記連通路と対向する対向室が設けられ、前記弁体には、前記弁体が前記第1端を閉じた状態のときに前記空気流路と前記対向室とを連通し、前記弁体が前記移動体から離れて前記第1端が開いた状態のときに前記出力気圧室と前記対向室を連通させる貫通孔が設けられている。
【0008】
一例として、前記弁体は、増幅後の前記空気圧信号の空気圧が、増幅前の前記空気圧信号の空気圧を所望の増幅率で増幅させた目標空気圧に達したときに、前記連通路の開度をブリード分の開度とするブリード型である。
【0009】
一例として、前記受圧部材は、前記供給気圧室と前記対向室とを隔てるダイアフラムである。
【0010】
本発明に係るポジショナは、上記パイロットリレーと、増幅前の前記空気圧信号を前記パイロットリレーに出力する電空変換機構と、を備える。
【発明の効果】
(【0011】以降は省略されています)
この特許をJ-PlatPat(特許庁公式サイト)で参照する
関連特許
アズビル株式会社
換気制御装置及び換気制御方法
9日前
アズビル株式会社
検索装置、検索方法、および検索プログラム
9日前
アズビル株式会社
分割装置、分割方法、および分割プログラム
9日前
アズビル株式会社
電極材料選定装置および方法ならびに電極選定支援装置
15日前
豊和工業株式会社
クランプ装置
5か月前
株式会社豊田自動織機
流体圧シリンダ
1か月前
三和テッキ株式会社
油圧アクチュエータ
9日前
株式会社不二越
電磁切替弁
1か月前
株式会社コスメック
シリンダ装置
2か月前
個人
省エネ改良型油圧リバースブースター
1か月前
株式会社不二越
油圧システム
5か月前
日立建機株式会社
作業機械
15日前
日立建機株式会社
作業機械
16日前
学校法人東海大学
流れ制御装置
5か月前
株式会社不二越
油圧駆動システム
1か月前
ナブテスコ株式会社
方向切換弁装置
4か月前
住友建機株式会社
ショベルの制御方法
3か月前
学校法人 中央大学
人工筋アクチュエータ装置
2か月前
株式会社WGE
増圧装置
4日前
株式会社LIXIL
脈動流生成装置及び建築設備
5か月前
アズビル株式会社
パイロットリレー及びポジショナ
1か月前
カヤバ株式会社
流体圧制御装置
1か月前
日立建機株式会社
油圧システム
19日前
ナブテスコ株式会社
ロータリーアクチュエータ
5か月前
CKD株式会社
アクチュエータの動作検出装置
4か月前
中本パックス株式会社
気体圧装置
2か月前
株式会社クボタ
作業機及び作業機の制御方法
10日前
カヤバ株式会社
インレットハウジング
5か月前
株式会社コガネイ
圧縮空気供給装置
2か月前
カヤバ株式会社
流体圧シリンダユニット
5か月前
日立建機株式会社
分別回収システム
19日前
株式会社東和製作所
シリンダ伸縮反転用バルブユニット
1か月前
日立建機株式会社
制御弁装置および作業機械
1か月前
株式会社福島製作所
グラブバケット診断装置
2か月前
セイコーエプソン株式会社
圧力可変ユニット及び液体吐出装置
4か月前
藤倉コンポジット株式会社
シリンダ装置及びシリンダ装置の製造方法
4か月前
続きを見る
他の特許を見る