TOP
|
特許
|
意匠
|
商標
特許ウォッチ
Twitter
他の特許を見る
公開番号
2025080832
公報種別
公開特許公報(A)
公開日
2025-05-27
出願番号
2023194148
出願日
2023-11-15
発明の名称
アクチュエータの動作検出装置
出願人
CKD株式会社
代理人
個人
,
個人
主分類
F15B
20/00 20060101AFI20250520BHJP(流体圧アクチュエータ;水力学または空気力学一般)
要約
【課題】配線の数を少なくし、且つ、小型化を図ること。
【解決手段】電磁弁11が保持状態に切り換わっているときに、第1出力ポートAから第1圧力作用室44へ出力される流体、及び第2出力ポートBから第2圧力作用室45へ出力される流体の少なくとも一方が漏れてしまっている場合、圧力センサ61により検出される圧力は降下する。このように、マイコン62は、圧力センサ61により検出される圧力が降下していると、流体の漏れが発生していると判断する。したがって、アクチュエータ40の動作検出装置60は、第1圧力作用室44へ出力される流体の圧力を検出する圧力センサと、第2圧力作用室45へ出力される流体の圧力を検出する圧力センサと、をそれぞれ備える必要が無い。
【選択図】図1
特許請求の範囲
【請求項1】
第1出力ポート及び第2出力ポートを有する電磁弁の前記第1出力ポートから第1圧力作用室へ出力される流体、及び前記第2出力ポートから第2圧力作用室へ出力される流体によってピストンロッドが往復動するとともに、前記第1出力ポートから前記第1圧力作用室へ出力される流体の圧力、及び前記第2出力ポートから前記第2圧力作用室へ出力される流体の圧力それぞれを保持可能な保持状態に前記電磁弁が切り換わることにより、前記ピストンロッドが保持されるアクチュエータの動作検出装置であって、
前記第1圧力作用室へ出力される流体の圧力、及び前記第2圧力作用室へ出力される流体の圧力の一方を検出する圧力センサと、
前記電磁弁が前記保持状態に切り換わっているときに前記圧力センサにより検出される圧力に基づいて、流体の漏れが発生しているか否かを判断する判断部と、を備えていることを特徴とするアクチュエータの動作検出装置。
続きを表示(約 600 文字)
【請求項2】
前記判断部は、前記圧力センサにより検出される圧力の降下量を圧力の降下速度に変換し、前記降下速度が一定以上の場合に流体の漏れが発生していると判断することを特徴とする請求項1に記載のアクチュエータの動作検出装置。
【請求項3】
前記第1出力ポートに連通するとともに前記第1圧力作用室へ流体を出力する第1出力流路、及び前記第2出力ポートに連通するとともに前記第2圧力作用室へ流体を出力する第2出力流路を有するマニホールドベースと前記電磁弁との間に介在されるスペーサを備え、
前記スペーサは、
前記第1出力ポートと前記第1出力流路とを接続する第1出力接続流路と、
前記第2出力ポートと前記第2出力流路とを接続する第2出力接続流路と、を有し、
前記圧力センサは、前記第1出力接続流路を流れる流体の圧力、及び前記第2出力接続流路を流れる流体の圧力の一方を検出することを特徴とする請求項1又は請求項2に記載のアクチュエータの動作検出装置。
【請求項4】
前記スペーサは、前記第1出力接続流路及び前記第2出力接続流路の一方から分岐する分岐流路を有し、
前記圧力センサは、前記第1出力接続流路及び前記第2出力接続流路の一方から前記分岐流路へ流入する流体の圧力を検出することを特徴とする請求項3に記載のアクチュエータの動作検出装置。
発明の詳細な説明
【技術分野】
【0001】
本発明は、アクチュエータの動作検出装置に関する。
続きを表示(約 1,900 文字)
【背景技術】
【0002】
アクチュエータは、第1出力ポート及び第2出力ポートを有する電磁弁の第1出力ポートから第1圧力作用室へ出力される流体、及び第2出力ポートから第2圧力作用室へ出力される流体によってピストンロッドが往復動する。このようなアクチュエータは、第1出力ポートから第1圧力作用室へ出力される流体の圧力、及び第2出力ポートから第2圧力作用室へ出力される流体の圧力それぞれを保持可能な保持状態に電磁弁が切り換わることにより、ピストンロッドが保持される。このようなアクチュエータの動作を検出する動作検出装置が、例えば特許文献1に開示されている。アクチュエータの動作検出装置は、第1圧力作用室へ出力される流体の圧力を検出する圧力センサと、第2圧力作用室へ出力される流体の圧力を検出する圧力センサと、をそれぞれ備えている。
【先行技術文献】
【特許文献】
【0003】
特開2020-34056号公報
【発明の概要】
【発明が解決しようとする課題】
【0004】
ところで、このようなアクチュエータの動作検出装置においては、圧力センサが2つ必要になるため、動作検出装置自体が大型化してしまう。また、各圧力センサから配線が延びるため、配線の数が多くなってしまう。したがって、配線の数を少なくし、且つ、小型化を図ることができる動作検出装置が望まれている。
【課題を解決するための手段】
【0005】
上記課題を解決するための各態様を記載する。
[態様1]
第1出力ポート及び第2出力ポートを有する電磁弁の前記第1出力ポートから第1圧力作用室へ出力される流体、及び前記第2出力ポートから第2圧力作用室へ出力される流体によってピストンロッドが往復動するとともに、前記第1出力ポートから前記第1圧力作用室へ出力される流体の圧力、及び前記第2出力ポートから前記第2圧力作用室へ出力される流体の圧力それぞれを保持可能な保持状態に前記電磁弁が切り換わることにより、前記ピストンロッドが保持されるアクチュエータの動作検出装置であって、
前記第1圧力作用室へ出力される流体の圧力、及び前記第2圧力作用室へ出力される流体の圧力の一方を検出する圧力センサと、
前記電磁弁が前記保持状態に切り換わっているときに前記圧力センサにより検出される圧力に基づいて、流体の漏れが発生しているか否かを判断する判断部と、を備えていることを特徴とするアクチュエータの動作検出装置。
【0006】
[態様2]
前記判断部は、前記圧力センサにより検出される圧力の降下量を圧力の降下速度に変換し、前記降下速度が一定以上の場合に流体の漏れが発生していると判断することを特徴とする[態様1]に記載のアクチュエータの動作検出装置。
【0007】
[態様3]
前記第1出力ポートに連通するとともに前記第1圧力作用室へ流体を出力する第1出力流路、及び前記第2出力ポートに連通するとともに前記第2圧力作用室へ流体を出力する第2出力流路を有するマニホールドベースと前記電磁弁との間に介在されるスペーサを備え、
前記スペーサは、
前記第1出力ポートと前記第1出力流路とを接続する第1出力接続流路と、
前記第2出力ポートと前記第2出力流路とを接続する第2出力接続流路と、を有し、
前記圧力センサは、前記第1出力接続流路を流れる流体の圧力、及び前記第2出力接続流路を流れる流体の圧力の一方を検出することを特徴とする[態様1]又は[態様2]に記載のアクチュエータの動作検出装置。
【0008】
[態様4]
前記スペーサは、前記第1出力接続流路及び前記第2出力接続流路の一方から分岐する分岐流路を有し、
前記圧力センサは、前記第1出力接続流路及び前記第2出力接続流路の一方から前記分岐流路へ流入する流体の圧力を検出することを特徴とする[態様3]に記載のアクチュエータの動作検出装置。
【発明の効果】
【0009】
この発明によれば、配線の数を少なくし、且つ、小型化を図ることができる。
【図面の簡単な説明】
【0010】
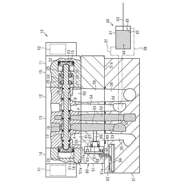
図1は、実施形態におけるアクチュエータの動作検出装置を説明するための断面図である。
図2は、アクチュエータの動作を説明するための断面図である。
図3は、アクチュエータの動作を説明するための断面図である。
【発明を実施するための形態】
(【0011】以降は省略されています)
この特許をJ-PlatPat(特許庁公式サイト)で参照する
関連特許
株式会社豊田自動織機
流体圧シリンダ
3か月前
株式会社コスメック
シリンダ装置
4か月前
三和テッキ株式会社
油圧アクチュエータ
2か月前
株式会社不二越
電磁切替弁
3か月前
個人
省エネ改良型油圧リバースブースター
3か月前
SMC株式会社
増圧装置
1か月前
日立建機株式会社
作業機械
2か月前
日立建機株式会社
作業機械
2か月前
株式会社不二越
油圧駆動システム
3か月前
株式会社右川ゴム製造所
流体圧アクチュエータ
今日
CKD株式会社
パルスエア発生装置
29日前
ナブテスコ株式会社
方向切換弁装置
1か月前
住友建機株式会社
ショベルの制御方法
5か月前
株式会社WGE
増圧装置
1か月前
学校法人 中央大学
人工筋アクチュエータ装置
4か月前
アズビル株式会社
パイロットリレー及びポジショナ
3か月前
カヤバ株式会社
流体圧制御装置
2か月前
日立建機株式会社
油圧システム
2か月前
インペリアルテクノサービス株式会社
二段シリンダ
13日前
株式会社クボタ
作業機及び作業機の制御方法
2か月前
中本パックス株式会社
気体圧装置
4か月前
日立建機株式会社
分別回収システム
2か月前
株式会社コガネイ
圧縮空気供給装置
4か月前
株式会社東和製作所
シリンダ伸縮反転用バルブユニット
3か月前
ジック アーゲー
磁気又は誘導センサ
1か月前
日立建機株式会社
制御弁装置および作業機械
3か月前
藤倉コンポジット株式会社
シリンダ装置及びシリンダ装置の製造方法
6か月前
株式会社福島製作所
グラブバケット診断装置
4か月前
セイコーエプソン株式会社
圧力可変ユニット及び液体吐出装置
5か月前
三輪精機株式会社
油圧アクチュエータ駆動装置
8日前
株式会社ブリヂストン
流体圧アクチュエータ
6か月前
株式会社ブリヂストン
流体圧アクチュエータ
5か月前
極東開発工業株式会社
コンクリートポンプ装置
3か月前
株式会社ブリヂストン
流体圧アクチュエータ
5か月前
株式会社ブリヂストン
流体圧アクチュエータ
3か月前
株式会社東京精密
三位置制御装置、及び、三位置制御方法
2か月前
続きを見る
他の特許を見る