TOP
|
特許
|
意匠
|
商標
特許ウォッチ
Twitter
他の特許を見る
10個以上の画像は省略されています。
公開番号
2025109305
公報種別
公開特許公報(A)
公開日
2025-07-25
出願番号
2024003093
出願日
2024-01-12
発明の名称
ブリスタシートの製造方法及びブリスタ包装機
出願人
CKD株式会社
代理人
個人
主分類
B65B
9/04 20060101AFI20250717BHJP(運搬;包装;貯蔵;薄板状または線条材料の取扱い)
要約
【課題】レジマークの機能を適切に発揮させることができるとともに、スクラップの削減を効果的に図ることができるブリスタシートの製造方法などを提供する。
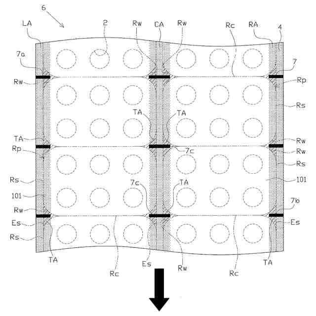
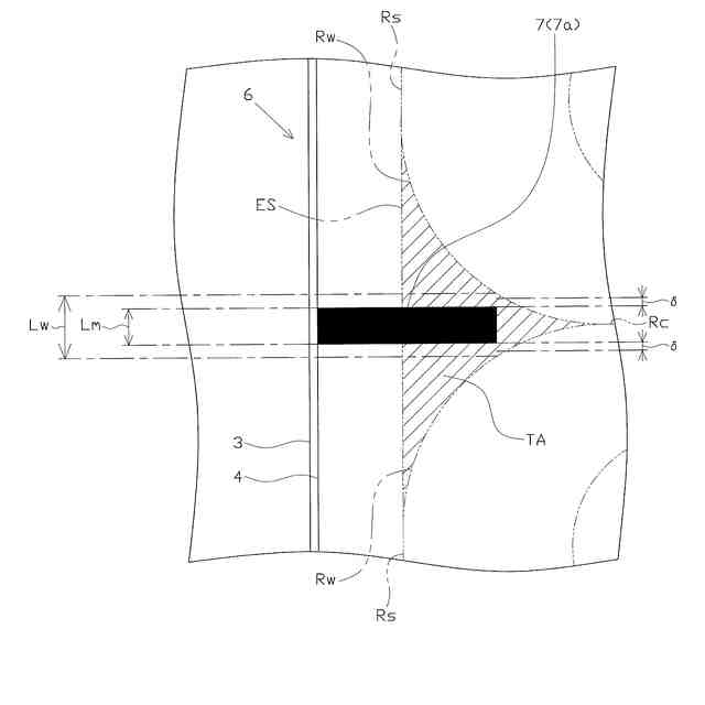
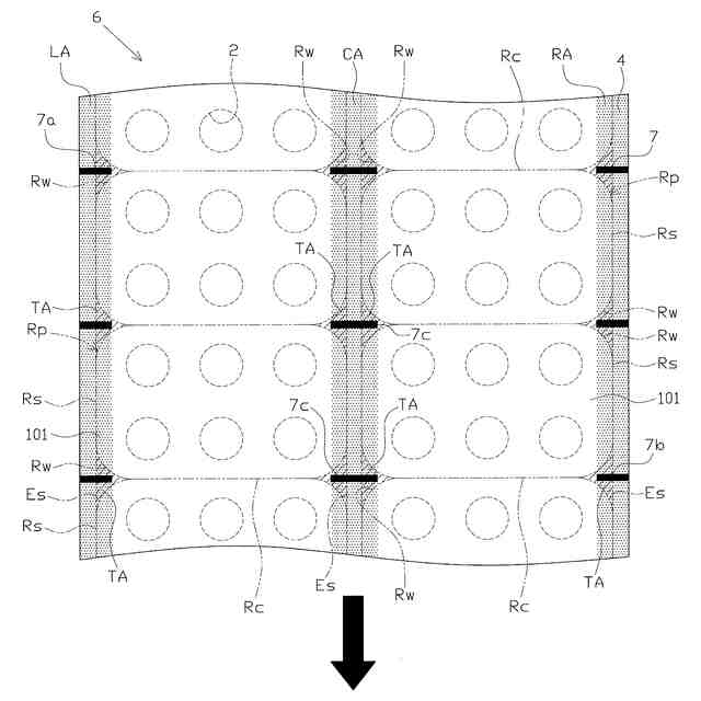
【解決手段】ブリスタシートとしてのPTPシートは、容器フィルムにカバーフィルム4を取着して得たPTPフィルム6を、所定の打抜きラインRpにて打抜くことで製造される。カバーフィルム4にはレジマーク7が所定間隔で設けられており、レジマーク7の少なくとも一部が、PTPフィルム6のうちPTPシートを得た後に残るスクラップ部を挟む位置関係にある2本の湾曲ラインRwと、直線ラインRsの延長線Esとで囲まれた三角形状の領域TAに位置するようにして、容器フィルムに対しカバーフィルム4が取着される。
【選択図】 図6
特許請求の範囲
【請求項1】
帯状の容器フィルムに対し、該容器フィルムに形成されたポケット部を塞ぐようにして帯状のカバーフィルムを取着することで帯状のブリスタフィルムとし、該ブリスタフィルムを打ち抜くことにより、四隅が円弧状をなす平面視矩形状のブリスタシートを製造するためのブリスタシートの製造方法であって、
前記容器フィルムに対し前記カバーフィルムを取着する取着工程と、
前記ブリスタフィルムの長手方向に沿って延びる一対の平行な直線ラインと、前記ブリスタフィルムの幅方向に沿って延びる一対の平行な直交ラインと、前記直線ライン及び前記直交ラインを結び、前記ブリスタシートの四隅に対応する円弧状のラインである湾曲ラインとからなり、前記ポケット部に対し一定の位置関係を有する打抜きラインにて前記ブリスタフィルムを打抜くことで、前記ブリスタシートを得る打抜工程とを含み、
前記カバーフィルムは、前記ブリスタフィルムの長手方向に沿って延びる一定幅の帯状の領域に所定間隔で設けられた複数のレジマークを有するものであり、
前記取着工程では、前記レジマークを利用して、
取着後の前記ブリスタフィルムにおいて、前記ブリスタフィルムの長手方向に沿った前記レジマークの中央位置と前記直交ラインの位置とが前記ブリスタフィルムの長手方向において一致し、
前記レジマークの全体が、前記ブリスタフィルムのうち前記ブリスタシートを得た後にスクラップ部として残る部位に位置し、
さらに、前記レジマークの少なくとも一部が、前記スクラップ部を前記ブリスタフィルムの長手方向に沿って挟む位置関係にある2本の前記湾曲ラインと、前記直線ラインの延長線とで囲まれた三角形状の領域に位置する
ようにして、前記容器フィルムに対する前記カバーフィルムの取着が行われることを特徴とするブリスタシートの製造方法。
続きを表示(約 3,000 文字)
【請求項2】
前記取着工程では、取着後の前記ブリスタフィルムにおいて、前記レジマーク及び前記直交ラインの相対位置が変動する場合があり、
前記ブリスタフィルムの長手方向に沿った前記レジマークの中央位置と前記直交ラインの位置とが前記ブリスタフィルムの長手方向において一致する一方、前記レジマーク及び前記直交ラインの相対位置の変動により、前記直交ラインに対し前記レジマークが最も接近する状態を想定した場合において、前記レジマークを、該レジマークを挟む2本の前記湾曲ライン間で前記ブリスタフィルムの長手方向に沿って一方の前記湾曲ライン側から他方の前記湾曲ライン側に向けて仮想的に動かしたときにおける該レジマークの最大移動距離である許容幅をLw(mm)とし、
前記ブリスタフィルムの長手方向に沿った前記レジマークの幅をLm(mm)とし、
前記ブリスタフィルムの長手方向に沿った前記レジマークの位置ずれに関する許容範囲をδ(mm)としたとき、
前記取着工程では、前記直交ラインに対し前記レジマークが最も接近する状態になった場合であっても、Lw≧Lm+2δを満たすこととなる位置に前記レジマークが設けられるようにして、前記容器フィルムに対する前記カバーフィルムの取着が行われることを特徴とする請求項1に記載のブリスタシートの製造方法。
【請求項3】
前記レジマークは、前記ブリスタフィルムの幅方向中間側に位置する中間側レジマークを有し、
前記ブリスタフィルムは、前記打抜工程により前記ブリスタシートとなるシート対応部が該ブリスタフィルムの長手方向に沿って並ぶとともに、該シート対応部の列が複数設けられる構成とされており、
前記取着工程では、前記中間側レジマークが、隣接する2つの前記シート対応部の列のうちの一方に係る前記三角形状の領域から、前記2つの前記シート対応部の列のうちの他方に係る前記三角形状の領域にかけて位置するようにして、前記容器フィルムに対する前記カバーフィルムの取着が行われることを特徴とする請求項1に記載のブリスタシートの製造方法。
【請求項4】
前記レジマークは、前記ブリスタフィルムの幅方向一端側に位置する一端側レジマークと、前記ブリスタフィルムの幅方向他端側に位置する他端側レジマークとを有し、
前記取着工程では、前記一端側レジマーク及び前記他端側レジマークの双方を利用して、前記容器フィルムに対する前記カバーフィルムの取着位置を調節することを特徴とする請求項1に記載のブリスタシート製造方法。
【請求項5】
帯状の容器フィルムに対し、該容器フィルムに形成されたポケット部を塞ぐようにして帯状のカバーフィルムを取着することで帯状のブリスタフィルムとし、該ブリスタフィルムを打ち抜くことにより、四隅が円弧状をなす平面視矩形状のブリスタシートを製造するためのブリスタ包装機であって、
前記容器フィルムに対し前記カバーフィルムを取着する取着手段と、
前記ブリスタフィルムの長手方向に沿って延びる一対の平行な直線ラインと、前記ブリスタフィルムの幅方向に沿って延びる一対の平行な直交ラインと、前記直線ライン及び前記直交ラインを結び、前記ブリスタシートの四隅に対応する円弧状のラインである湾曲ラインとからなり、前記ポケット部に対し一定の位置関係を有する打抜きラインにて前記ブリスタフィルムを打抜くことで、前記ブリスタシートを得る打抜手段とを備え、
前記カバーフィルムは、前記ブリスタフィルムの長手方向に沿って延びる一定幅の帯状の領域に所定間隔で位置する複数のレジマークを有するものであり、
前記取着手段は、前記レジマークを利用して、
取着後の前記ブリスタフィルムにおいて、前記ブリスタフィルムの長手方向に沿った前記レジマークの中央位置と前記直交ラインの位置とが前記ブリスタフィルムの長手方向において一致し、
前記レジマークの全体が、前記ブリスタフィルムのうち前記ブリスタシートを得た後にスクラップ部として残る部位に位置し、
さらに、前記レジマークの少なくとも一部が、前記スクラップ部を前記ブリスタフィルムの長手方向に沿って挟む位置関係にある2本の前記湾曲ラインと、前記直線ラインの延長線とで囲まれた三角形状の領域に位置する
ようにして、前記容器フィルムに対する前記カバーフィルムの取着を行うように構成されていることを特徴とするブリスタ包装機。
【請求項6】
前記取着手段により得られた前記ブリスタフィルムにおいては、前記レジマーク及び前記直交ラインの相対位置が変動する場合があり、
前記ブリスタフィルムの長手方向に沿った前記レジマークの中央位置と前記直交ラインの位置とが前記ブリスタフィルムの長手方向において一致する一方、前記レジマーク及び前記直交ラインの相対位置の変動により、前記直交ラインに対し前記レジマークが最も接近する状態を想定した場合において、前記レジマークを、該レジマークを挟む2本の前記湾曲ライン間で前記ブリスタフィルムの長手方向に沿って一方の前記湾曲ライン側から他方の前記湾曲ライン側に向けて仮想的に動かしたときにおける該レジマークの最大移動距離である許容幅をLw(mm)とし、
前記ブリスタフィルムの長手方向に沿った前記レジマークの幅をLm(mm)とし、
前記ブリスタフィルムの長手方向に沿った前記レジマークの位置ずれに関する許容範囲をδ(mm)としたとき、
前記取着手段は、前記直交ラインに対し前記レジマークが最も接近する状態になった場合であっても、Lw≧Lm+2δを満たすこととなる位置に前記レジマークが設けられるようにして、前記容器フィルムに対する前記カバーフィルムの取着を行うように構成されていることを特徴とする請求項5に記載のブリスタ包装機。
【請求項7】
前記レジマークは、前記ブリスタフィルムの幅方向中間側に位置する中間側レジマークを有し、
前記ブリスタフィルムは、前記打抜手段の打抜きにより前記ブリスタシートとなるシート対応部が該ブリスタフィルムの長手方向に沿って並ぶとともに、該シート対応部の列が複数設けられる構成とされており、
前記取着手段は、前記中間側レジマークが、隣接する2つの前記シート対応部の列のうちの一方に係る前記三角形状の領域から、前記2つの前記シート対応部の列のうちの他方に係る前記三角形状の領域にかけて位置するようにして、前記容器フィルムに対する前記カバーフィルムの取着を行うように構成されていることを特徴とする請求項5に記載のブリスタ包装機。
【請求項8】
前記レジマークは、前記ブリスタフィルムの幅方向一端側に位置する一端側レジマークと、前記ブリスタフィルムの幅方向他端側に位置する他端側レジマークとを有し、
前記取着手段は、前記一端側レジマーク及び前記他端側レジマークの双方を利用して、前記容器フィルムに対する前記カバーフィルムの取着位置を調節可能に構成されていることを特徴とする請求項5に記載のブリスタ包装機。
発明の詳細な説明
【技術分野】
【0001】
本発明は、ポケット部に対し錠剤等の内容物が充填されてなるブリスタシートの製造方法、及び、ブリスタシートを製造するためのブリスタ包装機に関する。
続きを表示(約 1,500 文字)
【背景技術】
【0002】
ブリスタシートは、錠剤等の内容物が充填されるポケット部の形成された容器フィルムと、その容器フィルムに対しポケット部の開口側を密封するように取着されるカバーフィルムとを備えている。また、ブリスタシート(カバーフィルム)には、内容物などに係る情報を表示するための印刷部を設けることがある。
【0003】
ブリスタシートを製造するためのブリスタ包装機は、ポケット部形成手段や充填手段、取着手段、打抜手段などを備えている。ポケット部形成手段は、容器フィルムに対し複数のポケット部を形成し、充填手段は、ポケット部に内容物を充填し、取着手段は、容器フィルムに対しカバーフィルムを取着する。また、打抜手段は、容器フィルムに対しカバーフィルムが取着されてなる帯状のブリスタフィルムを、ブリスタシートの外縁形状に対応する打抜きラインにて打抜く。ブリスタフィルムにおける打抜かれた部位が、ブリスタシートとなる。
【0004】
また、ブリスタフィルムの幅方向端縁側に位置し、ブリスタフィルムの長手方向に沿って延びる一定幅の帯状の領域に対し、一定の間隔で目印としてのレジマーク(レジストレーションマーク)を設けることがある(例えば、特許文献1等参照)。レジマークは、例えば、容器フィルムに対するカバーフィルムの取着位置を調節するために利用される。取着位置を調節することで、ブリスタシートにおける適正位置に印刷部を設けることができる。
【0005】
ところで、製品としてのブリスタシートの見栄えを考慮すると、レジマークがブリスタシートに全く又はほとんど残らないようにすることが好ましい。この点、上記特許文献1では、打抜きラインが、レジマークの設けられる前記一定幅の帯状の領域に掛からない位置となるように調節されることで、レジマークがブリスタシートに残らないようにされている。尚、打抜後に残る前記帯状の領域は、スクラップとして廃棄処理される。
【先行技術文献】
【特許文献】
【0006】
特開2010-105688号公報
【発明の概要】
【発明が解決しようとする課題】
【0007】
ところで、近年では、資源保護やコスト低減などの観点から、スクラップを極力削減することが特に求められている。
【0008】
この点、製品としてのブリスタシートのサイズをそのまま維持しながら、スクラップの削減のために、単にブリスタフィルムの幅を小さなものとすると、打抜きラインがレジマークに掛かることとなり、結果的に、ブリスタシートにレジマークが残り、ブリスタシートの見栄えが低下するおそれがある。これに対し、打抜きラインがレジマークに掛からないようにすべく、レジマークのサイズを小さなものとすると、レジマークの検出に支障が生じ、目印としてのレジマークの機能が適切に果たされなくなるおそれがある。
【0009】
本発明は、上記事情に鑑みてなされたものであり、その目的は、レジマークの機能を適切に発揮させることができるとともに、スクラップの削減を効果的に図ることができるブリスタシートの製造方法などを提供することにある。
【課題を解決するための手段】
【0010】
以下、上記目的を解決するのに適した各手段につき、項分けして説明する。なお、必要に応じて対応する手段に特有の作用効果を付記する。
(【0011】以降は省略されています)
この特許をJ-PlatPat(特許庁公式サイト)で参照する
関連特許
CKD株式会社
把持装置
2か月前
CKD株式会社
把持装置
2日前
CKD株式会社
流体制御弁
1か月前
CKD株式会社
昇降助力装置
9日前
CKD株式会社
アーム型助力装置
25日前
CKD株式会社
パルスエア発生装置
25日前
CKD株式会社
原反バッファ供給装置
3か月前
CKD株式会社
シート情報確認システム
3日前
CKD株式会社
噴出ヘッドの流速検査装置
2日前
CKD株式会社
栽培装置、及び栽培システム
2日前
CKD株式会社
検査装置及びブリスタ包装機
3か月前
株式会社荏原製作所
温度制御システム
2か月前
CKD株式会社
シール手段異常検出システム及びブリスタ包装機
2か月前
個人
束ね具
26日前
個人
収容箱
4か月前
個人
コンベア
6か月前
個人
段ボール箱
8か月前
個人
段ボール箱
8か月前
個人
容器
10か月前
個人
ゴミ収集器
8か月前
個人
バンド
3か月前
個人
土嚢運搬器具
9か月前
個人
角筒状構造体
6か月前
個人
宅配システム
8か月前
個人
楽ちんハンド
6か月前
個人
テープ引出機
26日前
個人
包装容器
2か月前
個人
お薬の締結装置
7か月前
個人
閉塞装置
11か月前
個人
コード類収納具
9か月前
個人
棒状体収容容器
1か月前
個人
廃棄物収容容器
4か月前
個人
積み重ね用補助具
4か月前
株式会社和気
包装用箱
1か月前
個人
蓋閉止構造
5か月前
個人
蓋閉止構造
5か月前
続きを見る
他の特許を見る