TOP
|
特許
|
意匠
|
商標
特許ウォッチ
Twitter
他の特許を見る
10個以上の画像は省略されています。
公開番号
2025115768
公報種別
公開特許公報(A)
公開日
2025-08-07
出願番号
2024010405
出願日
2024-01-26
発明の名称
回転ジョイント
出願人
CKD株式会社
代理人
個人
,
個人
主分類
F16F
7/00 20060101AFI20250731BHJP(機械要素または単位;機械または装置の効果的機能を生じ維持するための一般的手段)
要約
【課題】ストッパユニットのメンテナンス性を向上できる回転ジョイントを提供する。
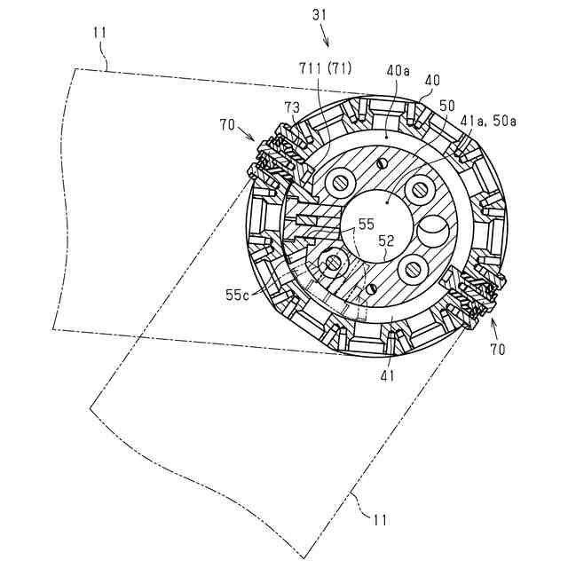
【解決手段】第1回転ジョイント31、第2回転ジョイント、及び第3回転ジョイントの各々は、周壁42において、ストッパユニット70を有する。ストッパユニット70は、周壁孔42aに挿入されている。ストッパユニット70は、ストッパ71と、ユニット形成部材72と、第1緩衝部材73と、第2緩衝部材74と、蓋部材75と、目印部材76と、を有する。第1緩衝部材73は、周壁孔42aに収容されている。ストッパユニット70は、第1緩衝部材73から突出するストッパ係合部711と、回転係合部55と、の係合により、固定部材40に対する回転部材50の回転を規制する。
【選択図】図6
特許請求の範囲
【請求項1】
外周面に回転係合部を有する回転部材と、
前記回転部材を支持する底壁、及び前記底壁の縁から延び、前記回転部材と前記回転係合部とを囲む周壁からなる固定部材と、
前記周壁に設けられるストッパと、を有し、
前記ストッパは、
前記回転部材の周方向において前記回転係合部と係合するストッパ係合部と、
前記回転部材から前記固定部材に向かう方向に延びるとともに、前記ストッパ係合部が設けられる第1軸端部、及び軸方向の第2軸端部を有する軸部と、を有し、
前記固定部材は、前記底壁及び前記周壁が画定する回転室に前記回転部材を収容するとともに、前記回転係合部は、前記周壁に沿って回転可能であり、
前記ストッパ係合部と前記回転係合部との係合により前記回転室における前記回転部材の回転範囲を規定する回転ジョイントであって、
前記ストッパを含み、前記周壁の壁外周面及び壁内周面において開口する周壁孔に挿通するストッパユニットを有し、
前記ストッパユニットは、
前記軸部が貫通し且つ前記ストッパ係合部が突出するとともに、前記周壁孔に収容される緩衝部材と、
前記軸方向及び前記軸方向と直交する方向において前記緩衝部材と対向するフランジ部を有するとともに、前記軸方向において前記第2軸端部に連続して設けられ、且つ前記緩衝部材の内側に挿入されるユニット形成部材と、
前記軸方向において前記緩衝部材よりも前記壁外周面寄りに設けられるとともに、前記周壁に固定される蓋部材と、を有し、
前記軸部及び前記フランジ部と、前記周壁と、の間に前記緩衝部材が介在するとともに、前記緩衝部材が前記蓋部材により前記周壁に保持されていることを特徴とする回転ジョイント。
続きを表示(約 770 文字)
【請求項2】
前記蓋部材は、前記軸方向において貫通する蓋貫通孔を画定し、
前記ユニット形成部材は、前記第2軸端部と接続するとともに前記フランジ部を有する第1接続端部、及び前記蓋貫通孔を貫通して前記蓋部材から突出する第2接続端部を有し、
前記第2接続端部には、前記ストッパと連動する目印部材が設けられ、
前記蓋貫通孔は、前記周方向に長軸の延びる長孔状であり、
前記ユニット形成部材の前記第2接続端部における外径は、前記長軸が延びる方向における開口幅よりも小さいことを特徴とする請求項1に記載の回転ジョイント。
【請求項3】
前記緩衝部材を第1緩衝部材とするとき、前記ストッパユニットは、第2緩衝部材を有し、
前記ユニット形成部材の前記第2接続端部は、前記第2緩衝部材を貫通し、
前記第2緩衝部材は、前記軸方向において前記蓋部材と前記フランジ部とに挟持されていることを特徴とする請求項2に記載の回転ジョイント。
【請求項4】
前記第1緩衝部材は、前記周壁と対面する緩衝外周面を有し、
前記緩衝外周面は、前記第1軸端部から前記第2軸端部に向かう方向に沿って前記第1緩衝部材の外径が大きくなる傾斜面を有し、
前記周壁は、前記緩衝外周面と係合するとともに前記周壁孔を画定する孔画定面を有することを特徴とする請求項3に記載の回転ジョイント。
【請求項5】
前記第2緩衝部材は、前記第1緩衝部材と前記軸方向に離間していることを特徴とする請求項3に記載の回転ジョイント。
【請求項6】
前記回転係合部は、前記ストッパ係合部よりも硬い材質により形成されていることを特徴とする請求項1又は請求項2に記載の回転ジョイント。
発明の詳細な説明
【技術分野】
【0001】
本発明は、回転ジョイントに関する。
続きを表示(約 2,400 文字)
【背景技術】
【0002】
相対的に回転する2つの部材を有する装置において、一方の部材は、他方の部材に対して、回転ジョイントを介して接続される。回転ジョイントは、固定部材と、固定部材に対して回転可能に取り付けられている回転部材と、を有する。回転部材は、一方の部材と接続されるとともに、固定部材は、他方の部材と接続される。回転ジョイントは、一方の部材と他方の部材とを、相対的に回転可能に接続する。例えば、特許文献1に開示されるように、回転ジョイントにおいて、固定部材は、回転部材の内側に配置されるとともに、回転部材の外周面に対し、間隔を空けて配置されている。そして、回転部材は、固定部材の内側で、当該固定部材の内周面から離間した状態で回転可能になっている。
【0003】
また、一般に、回転ジョイントは、回転部材の回転範囲を規定するため、ストッパ及び回転係合部を有する。ストッパは、固定部材に螺合されるとともに、固定部材の内周面から回転部材に向けて突出している。回転係合部は、回転部材の外周面に設けられる。そして、回転係合部が、回転部材の回転方向においてストッパに係合することにより、回転部材の回転範囲を規定する。
【先行技術文献】
【特許文献】
【0004】
特開2021-062943号公報
【発明の概要】
【発明が解決しようとする課題】
【0005】
回転ジョイントにおいては、回転係合部がストッパに係合する際に、ストッパにおいて生じる衝撃を低減することが望まれている。例えば、ストッパにおいて発生する衝撃を吸収するために、ストッパのうち、回転係合部の係合する箇所に緩衝部材を設けることが考えられる。しかし、緩衝部材は、回転係合部との係合によりストッパに生じる衝撃を繰り返し吸収することにより、消耗を伴って塑性変形する。緩衝部材の消耗や塑性変形は、緩衝部材における衝撃の吸収性能の低下を導く。このため、回転ジョイントにおいては、緩衝部材の交換作業を含む、メンテナンス作業が要求される。したがって、回転ジョイントにおいては、ストッパ及び緩衝部材のメンテナンス性の向上が望まれている。
【課題を解決するための手段】
【0006】
上記課題を解決するための回転ジョイントは、外周面に回転係合部を有する回転部材と、前記回転部材を支持する底壁、及び前記底壁の縁から延び、前記回転部材と前記回転係合部とを囲む周壁からなる固定部材と、前記周壁に設けられるストッパと、を有し、前記ストッパは、前記回転部材の周方向において前記回転係合部と係合するストッパ係合部と、前記回転部材から前記固定部材に向かう方向に延びるとともに、前記ストッパ係合部が設けられる第1軸端部、及び軸方向の第2軸端部を有する軸部と、を有し、前記固定部材は、前記底壁及び前記周壁が画定する回転室に前記回転部材を収容するとともに、前記回転係合部は、前記周壁に沿って回転可能であり、前記ストッパ係合部と前記回転係合部との係合により前記回転室における前記回転部材の回転範囲を規定する回転ジョイントであって、前記ストッパを含み、前記周壁の壁外周面及び壁内周面において開口する周壁孔に挿通するストッパユニットを有し、前記ストッパユニットは、前記軸部が貫通し且つ前記ストッパ係合部が突出するとともに、前記周壁孔に収容される緩衝部材と、前記軸方向及び前記軸方向と直交する方向において前記緩衝部材と対向するフランジ部を有するとともに、前記軸方向において前記第2軸端部に連続して設けられ、且つ前記緩衝部材の内側に挿入されるユニット形成部材と、前記軸方向において前記緩衝部材よりも前記壁外周面寄りに設けられるとともに、前記周壁に固定される蓋部材と、を有し、前記軸部及び前記フランジ部と、前記周壁と、の間に前記緩衝部材が介在するとともに、前記緩衝部材が前記蓋部材により前記周壁に保持されていることを要旨とする。
【0007】
上記回転ジョイントにおいて、前記蓋部材は、前記軸方向において貫通する蓋貫通孔を画定し、前記ユニット形成部材は、前記第2軸端部と接続するとともに前記フランジ部を有する第1接続端部、及び前記蓋貫通孔を貫通して前記蓋部材から突出する第2接続端部を有し、前記第2接続端部には、前記ストッパと連動する目印部材が設けられ、前記蓋貫通孔は、前記周方向に長軸の延びる長孔状であり、前記ユニット形成部材の前記第2接続端部における外径は、前記長軸が延びる方向における開口幅よりも小さくてもよい。
【0008】
上記回転ジョイントにおいて、前記緩衝部材を第1緩衝部材とするとき、前記ストッパユニットは、第2緩衝部材を有し、前記ユニット形成部材の前記第2接続端部は、前記第2緩衝部材を貫通し、前記第2緩衝部材は、前記軸方向において前記蓋部材と前記フランジ部とに挟持されていてもよい。
【0009】
上記回転ジョイントにおいて、前記第1緩衝部材は、前記周壁と対面する緩衝外周面を有し、前記緩衝外周面は、前記第1軸端部から前記第2軸端部に向かう方向に沿って前記第1緩衝部材の外径が大きくなる傾斜面を有し、前記周壁は、前記緩衝外周面と係合するとともに前記周壁孔を画定する孔画定面を有してもよい。
【0010】
上記回転ジョイントにおいて、前記第2緩衝部材は、前記第1緩衝部材と前記軸方向に離間していてもよい。
上記回転ジョイントにおいて、前記回転係合部は、前記ストッパ係合部よりも硬い材質により形成されてもよい。
【発明の効果】
(【0011】以降は省略されています)
この特許をJ-PlatPat(特許庁公式サイト)で参照する
関連特許
他の特許を見る